TOP
|
特許
|
意匠
|
商標
特許ウォッチ
Twitter
他の特許を見る
公開番号
2025123126
公報種別
公開特許公報(A)
公開日
2025-08-22
出願番号
2024019018
出願日
2024-02-09
発明の名称
車両用シート
出願人
日本発條株式会社
代理人
弁理士法人太陽国際特許事務所
主分類
B60N
2/06 20060101AFI20250815BHJP(車両一般)
要約
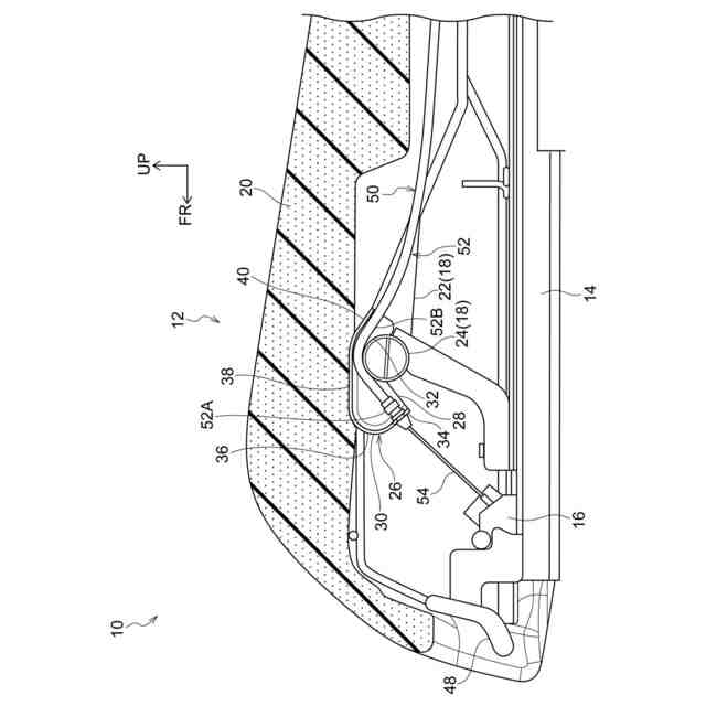
【課題】ケーブルの耐久性が低下することを抑制することができる車両用シートを得る。
【解決手段】車両用シート10は、着座乗員の臀部をシート下方側から支持するシートクッション12の一部を構成するクッションパッド20と、クッションパッド20の下方側において配索されたケーブル50と、ブラケット26と、を備えている。ブラケット26は、クッションパッド20の下方側に設けられ、ケーブル50が固定される第1延在部34と、ケーブル50をシート上方側から覆うと共に定められた配索経路となるようにガイドする第3延在部38及び第4延在部40と、を備えている。
【選択図】図1
特許請求の範囲
【請求項1】
着座乗員の臀部をシート下方側から支持するシートクッションの一部を構成するクッションパッドと、
前記クッションパッドの下方側において配索されたケーブルと、
前記クッションパッドの下方側に設けられ、前記ケーブルが固定されるケーブル固定部と、前記ケーブルをシート上方側から覆うと共に定められた配索経路となるようにガイドするケーブル保護部と、を有するブラケットと、
を備えた車両用シート。
続きを表示(約 340 文字)
【請求項2】
前記シートクッションの骨格を構成するクッションフレームは、シート幅方向に伸びるフレーム部を備えていると共に、前記フレーム部には、前記ブラケットが固定されており、
前記ケーブル保護部と前記フレーム部との間に形成された隙間が前記ケーブルの配索経路となっている請求項1に記載の車両用シート。
【請求項3】
前記ブラケットは、前記フレーム部に固定されるフレーム固定部と、前記フレーム固定部の端からシート幅方向一方側へ向けて屈曲して延びる前記ケーブル保護部と、を含んで構成され、
前記ケーブルを前記ケーブル保護部と前記フレーム部との間に形成された隙間に向けてシート幅方向一方側から挿入可能となっている請求項2に記載の車両用シート。
発明の詳細な説明
【技術分野】
【0001】
本発明は、車両用シートに関する。
続きを表示(約 1,400 文字)
【背景技術】
【0002】
下記特許文献1には、操作レバーとシートのスライドをロックするロック装置とがケーブルを介して接続された構成が開示されている。また、下記特許文献2には、シートクッションの下方側に設けられたタオルバーをケーブルを介してシートバック側から操作できるようにした構造が開示されている。
【先行技術文献】
【特許文献】
【0003】
特開2013-123971号公報
特開2015-93525号公報
【発明の概要】
【発明が解決しようとする課題】
【0004】
ところで、上記特許文献1及び特許文献2に記載された構成のように、ケーブルがクッションパッドの下方側に配索される構成では、乗員の着座に伴い、ケーブルがクッションパッドを介して押圧されることが考えられる。その結果、ケーブルの耐久性が低下することが考えられる。
【0005】
本発明は上記事実を考慮し、ケーブルの耐久性が低下することを抑制することができる車両用シートを得ることが目的である。
【課題を解決するための手段】
【0006】
第1の態様の車両用シートは、着座乗員の臀部をシート下方側から支持するシートクッションの一部を構成するクッションパッドと、前記クッションパッドの下方側において配索されたケーブルと、前記クッションパッドの下方側に設けられ、前記ケーブルが固定されるケーブル固定部と、前記ケーブルをシート上方側から覆うと共に定められた配索経路となるようにガイドするケーブル保護部と、を有するブラケットと、を備えている。
【0007】
第1の態様の車両用シートでは、ケーブルは、クッションパッドの下方側において配索されている。このケーブルは、ブラケットに設けられたケーブル固定部に固定されている。ここで、ケーブルは、ブラケットに設けられたケーブル保護部によってシート上方側から覆われていると共に定められた配索経路となるようにガイドされている。この構成では、ケーブルがクッションパッドを介して押圧されることが抑制され、ケーブルの耐久性が低下することを抑制することができる。
【0008】
第2の態様の車両用シートは、第1の態様の車両用シートにおいて、前記シートクッションの骨格を構成するクッションフレームは、シート幅方向に伸びるフレーム部を備えていると共に、前記フレーム部には、前記ブラケットが固定されており、前記ケーブル保護部と前記フレーム部との間に形成された隙間が前記ケーブルの配索経路となっている。
【0009】
第2の態様の車両用シートによれば、ブラケットに設けられたケーブル保護部とフレーム部との間に形成された隙間がケーブルの配索経路となっている。この構成では、ケーブルをケーブル保護部に加えてフレーム部によってもガイドすることができる。
【0010】
第3の態様の車両用シートは、第2の態様の車両用シートにおいて、前記ブラケットは、前記フレーム部に固定されるフレーム固定部と、前記フレーム固定部の端からシート幅方向一方側へ向けて屈曲して延びる前記ケーブル保護部と、を含んで構成され、前記ケーブルを前記ケーブル保護部と前記フレーム部との間に形成された隙間に向けてシート幅方向一方側から挿入可能となっている。
(【0011】以降は省略されています)
この特許をJ-PlatPat(特許庁公式サイト)で参照する
関連特許
日本発條株式会社
積層体
1か月前
日本発條株式会社
積層体
1か月前
日本発條株式会社
駐車装置
2か月前
日本発條株式会社
記録装置
26日前
日本発條株式会社
空調シート
1か月前
日本発條株式会社
支持構造物
25日前
日本発條株式会社
ヒータ装置
1か月前
日本発條株式会社
放熱構造体
1か月前
日本発條株式会社
支持構造物
25日前
日本発條株式会社
車両用シート
2か月前
日本発條株式会社
車両用シート
1か月前
日本発條株式会社
車両用シート
1か月前
日本発條株式会社
車両用シート
26日前
日本発條株式会社
車両用シート
25日前
日本発條株式会社
クリップ部材
1か月前
日本発條株式会社
車両用シート
1か月前
日本発條株式会社
車両用シート
1か月前
日本発條株式会社
車両用シート
25日前
日本発條株式会社
車両用シート
1か月前
日本発條株式会社
車両用シート
1か月前
日本発條株式会社
車両用シート
1か月前
日本発條株式会社
車両用シート
1か月前
日本発條株式会社
車両用シート
25日前
日本発條株式会社
車両用シート
2か月前
日本発條株式会社
駐車システム
2か月前
日本発條株式会社
車両用シート
1か月前
日本発條株式会社
車両用立寝装置
25日前
日本発條株式会社
車両用支持装置
1か月前
日本発條株式会社
車両用リアシート
1か月前
日本発條株式会社
車両用リアシート
1か月前
日本発條株式会社
車両用リアシート
1か月前
日本発條株式会社
車両用シート装置
25日前
日本発條株式会社
シート用操作装置
1か月前
日本発條株式会社
車両用シート装置
25日前
日本発條株式会社
インサート成形部品
1か月前
日本発條株式会社
コンタクトプローブ
25日前
続きを見る
他の特許を見る