TOP
|
特許
|
意匠
|
商標
特許ウォッチ
Twitter
他の特許を見る
10個以上の画像は省略されています。
公開番号
2025112872
公報種別
公開特許公報(A)
公開日
2025-08-01
出願番号
2024007391
出願日
2024-01-22
発明の名称
車両用シート装置
出願人
日本発條株式会社
代理人
弁理士法人太陽国際特許事務所
主分類
B60N
2/75 20180101AFI20250725BHJP(車両一般)
要約
【課題】格納位置にあるアームレストが不意に使用位置側へ回転するおそれが小さい車両用シート装置を得る。
【解決手段】シートバックの凹部に収納される格納位置と使用位置との間をシートバックに対して移動可能なアームレストに固定された回転中心軸41と、アームレストに固定された被案内軸42と、シートバックに設けられ、回転中心軸が回転可能に挿入される回転中心部56を有する第1孔55と、シートバックに設けられ、回転中心軸が回転中心部に挿入されている状態で被案内軸を移動案内する、回転中心部を曲率中心とする円弧形状をなす部位を有する案内部63を有する第2孔62と、を備え、第1孔が、曲率中心から特定方向にずれた位置において回転中心部と連続する第1格納時受入部57を有し、第2孔が、案内部から特定方向にずれた位置において案内部と連続する第2格納時受入部65を有する。
【選択図】図3
特許請求の範囲
【請求項1】
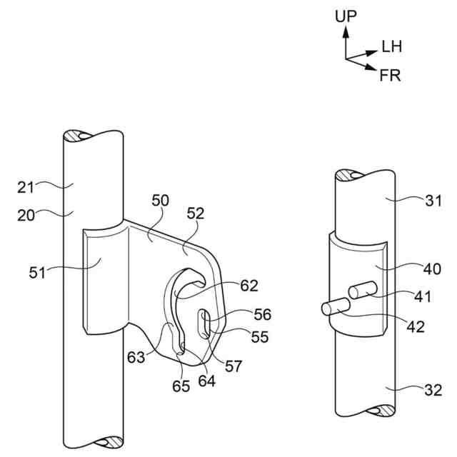
凹部を有するシートバックと、
前記凹部に収納される格納位置と、前記格納位置から回転して少なくとも一部が前記凹部の外側に位置する使用位置との間を前記シートバックに対して移動可能なアームレストと、
前記アームレストに固定された回転中心軸と、
前記アームレストに固定され、前記回転中心軸と平行な被案内軸と、
前記シートバックに設けられ、前記回転中心軸が回転可能に挿入される回転中心部を有する第1孔と、
前記シートバックに設けられ、前記回転中心軸が前記回転中心部に挿入されている状態で前記被案内軸を移動案内することにより前記アームレストを前記シートバックに対して前記回転中心軸まわりに回転させ、前記回転中心部を曲率中心とする円弧形状をなす部位を有する案内部を有する第2孔と、
を備え、
前記第1孔が、前記曲率中心から特定方向にずれた位置において前記回転中心部と連続し、前記アームレストが前記格納位置にあるときに前記回転中心軸を受け入れる第1格納時受入部を有し、
前記第2孔が、前記案内部から前記特定方向にずれた位置において前記案内部と連続し、前記アームレストが前記格納位置にあるときに前記被案内軸を受け入れる第2格納時受入部を有する車両用シート装置。
続きを表示(約 300 文字)
【請求項2】
前記特定方向が下方である請求項1に記載の車両用シート装置。
【請求項3】
前記第1孔に、前記回転中心部から前記第1格納時受入部側へ移動する前記回転中心軸に、前記第1孔の内面が前記回転中心軸に付与する抵抗力よりも大きな抵抗力を付与する第1抵抗部材が設けられた請求項1又は請求項2に記載の車両用シート装置。
【請求項4】
前記第2孔に、前記案内部から前記第2格納時受入部側へ移動する前記被案内軸に、前記第2孔の内面が前記被案内軸に付与する抵抗力よりも大きな抵抗力を付与する第2抵抗部材が設けられた請求項1又は請求項2に記載の車両用シート装置。
発明の詳細な説明
【技術分野】
【0001】
本発明は、車両用シート装置に関する。
続きを表示(約 1,800 文字)
【背景技術】
【0002】
下記特許文献1には車両用シート装置が開示されている。この車両用シート装置のシートバックの前面には凹部が形成されており、この凹部にアームレストが設けられている。アームレストはシートバックに対して、凹部に格納される格納位置と、格納位置より前側の使用位置との間を回転可能である。
【先行技術文献】
【特許文献】
【0003】
実公平6-22282号公報
【発明の概要】
【発明が解決しようとする課題】
【0004】
上記特許文献1の車両用シート装置を搭載した車両において急ブレーキが発生すると、車両に生じた慣性力によって、格納位置にあるアームレストが不意に使用位置側へ回転するおそれがある。
【0005】
本発明は上記事実を考慮し、格納位置にあるアームレストが不意に使用位置側へ回転するおそれが小さい車両用シート装置を得ることを目的とする。
【課題を解決するための手段】
【0006】
請求項1に記載の発明に係る車両用シート装置は、凹部を有するシートバックと、前記凹部に収納される格納位置と、前記格納位置から回転して少なくとも一部が前記凹部の外側に位置する使用位置との間を前記シートバックに対して移動可能なアームレストと、前記アームレストに固定された回転中心軸と、前記アームレストに固定され、前記回転中心軸と平行な被案内軸と、前記シートバックに設けられ、前記回転中心軸が回転可能に挿入される回転中心部を有する第1孔と、前記シートバックに設けられ、前記回転中心軸が前記回転中心部に挿入されている状態で前記被案内軸を移動案内することにより前記アームレストを前記シートバックに対して前記回転中心軸まわりに回転させ、前記回転中心部を曲率中心とする円弧形状をなす部位を有する案内部を有する第2孔と、を備え、前記第1孔が、前記曲率中心から特定方向にずれた位置において前記回転中心部と連続し、前記アームレストが前記格納位置にあるときに前記回転中心軸を受け入れる第1格納時受入部を有し、前記第2孔が、前記案内部から前記特定方向にずれた位置において前記案内部と連続し、前記アームレストが前記格納位置にあるときに前記被案内軸を受け入れる第2格納時受入部を有する。
【0007】
請求項1に記載の車両用シート装置のシートバックには第1孔及び第2孔が設けられ、アームレストには第1孔に挿入される回転中心軸及び第2孔に挿入される被案内軸が設けられる。アームレストが格納位置にあるとき、回転中心軸は第1孔の第1格納時受入部に挿入され、且つ、被案内軸は第2孔の第2格納時受入部に挿入される。そのためこの状態でアームレストに回転力が付与されても、アームレストは使用位置側へ回転しない。アームレストに外力が付与されることによりアームレストが特定方向と反対方向へ移動すると、回転中心軸が第1孔の回転中心部へ移動し且つ被案内軸が第2孔の案内部へ移動する。そのためこの状態でアームレストに回転力が付与されると、アームレストは使用位置側へ回転する。このように回転中心軸を回転中心部へ移動させ且つ被案内軸を案内部へ移動させないとアームレストが回転できない。そのため請求項1に記載の車両用シート装置は、格納位置にあるアームレストが不意に使用位置側へ回転するおそれが小さい。
【0008】
請求項2に記載の発明に係る車両用シート装置は、請求項1に記載の車両用シート装置において、前記特定方向が下方である。
【0009】
請求項2に記載の車両用シート装置では、回転中心軸を第1孔の第1格納時受入部から回転中心部へ移動させ且つ被案内軸を第2孔の第2格納時受入部から案内部へ移動させるためには、格納位置にあるアームレストを上方へ移動させる必要がある。そのため請求項2に記載の車両用シート装置は、格納位置にあるアームレストが不意に使用位置側へ回転するおそれが小さい。
【0010】
請求項3に記載の発明に係る車両用シート装置は、請求項1又は請求項2に記載の車両用シート装置において、前記第1孔に、前記回転中心部から前記第1格納時受入部側へ移動する前記回転中心軸に、前記第1孔の内面が前記回転中心軸に付与する抵抗力よりも大きな抵抗力を付与する第1抵抗部材が設けられる。
(【0011】以降は省略されています)
この特許をJ-PlatPat(特許庁公式サイト)で参照する
関連特許
日本発條株式会社
積層体
9日前
日本発條株式会社
積層体
9日前
日本発條株式会社
記録装置
今日
日本発條株式会社
駐車装置
1か月前
日本発條株式会社
駐車装置
1か月前
日本発條株式会社
ヒータ装置
9日前
日本発條株式会社
放熱構造体
20日前
日本発條株式会社
空調シート
29日前
日本発條株式会社
車両用シート
今日
日本発條株式会社
車両用シート
19日前
日本発條株式会社
クリップ部材
13日前
日本発條株式会社
車両用シート
1か月前
日本発條株式会社
車両用シート
19日前
日本発條株式会社
車両用シート
1か月前
日本発條株式会社
車両用シート
28日前
日本発條株式会社
車両用シート
28日前
日本発條株式会社
車両用シート
28日前
日本発條株式会社
車両用シート
1か月前
日本発條株式会社
車両用シート
29日前
日本発條株式会社
車両用シート
1か月前
日本発條株式会社
駐車システム
1か月前
日本発條株式会社
車両用シート
5日前
日本発條株式会社
車両用シート
1か月前
日本発條株式会社
車両用シート
5日前
日本発條株式会社
車両用シート
1か月前
日本発條株式会社
車両用シート
19日前
日本発條株式会社
シート空調装置
1か月前
日本発條株式会社
車両用支持装置
9日前
日本発條株式会社
車両用リアシート
7日前
日本発條株式会社
シート用操作装置
5日前
日本発條株式会社
車両用リアシート
9日前
日本発條株式会社
アームレスト装置
1か月前
日本発條株式会社
車両用リアシート
9日前
日本発條株式会社
インサート成形部品
13日前
日本発條株式会社
接合体および接合方法
9日前
日本発條株式会社
車両用ハンモック装置
7日前
続きを見る
他の特許を見る