TOP
|
特許
|
意匠
|
商標
特許ウォッチ
Twitter
他の特許を見る
10個以上の画像は省略されています。
公開番号
2025123086
公報種別
公開特許公報(A)
公開日
2025-08-22
出願番号
2024018953
出願日
2024-02-09
発明の名称
電動船外機
出願人
トーハツ株式会社
代理人
個人
,
個人
,
個人
主分類
B63H
20/00 20060101AFI20250815BHJP(船舶またはその他の水上浮揚構造物;関連艤装品)
要約
【課題】電源外付式の電動船外機において、電動船外機の航走中に、これらが暴れることを防止できる電動船外機を提供する。
【解決手段】特殊な構造的制約を受けた電源外付けタイプの電動船外機において、電動船外機の本体から引き出された接続ケーブルを、電動船外機の本体又はそれ以外の構造体に固定するための専用の部品/部材を具備しない場合(即ち、部品点数を少なくして、低コスト化を図る場合)であっても、電動船外機に搭載されるステアリングアーム部から二股に分かれて電動船外機の本体側に延出する2本のアームの間に画成された開放空間、及びこれも電動船外機には必ず搭載されるスイベルブラケットの上に配設されたシンプルなケーブル台座により画成された開放空間を積極的に活用した電動船外機。
【選択図】図5
特許請求の範囲
【請求項1】
電源外付け式の電動船外機であって、
少なくとも、船外機側接続ケーブルと、ステアリングアーム部と、1つのケーブル台座とを有し、
前記船外機側接続ケーブルは、電動船外機の本体の右側上方部から引き出されており、その先端に船外機側カプラを具備し、外部電源からの電力を、該船外機側カプラを介して、電動船外機の本体に通電するケーブルであり、
前記ステアリングアーム部は、前記電動船外機の本体の操舵機構の一部であり、
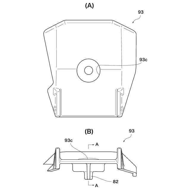
前記ケーブル台座は、前記電動船外機の本体を、水平面内において、回動可能に受けるスイベルブラケットであって、前記電動船外機の本体をトランサムボードに着脱可能に固定する2つのクランプブラケットの間に配設されたスイベルブラケットの上端面部に設置されており、
電動船外機の本体の右側上方部から引き出された前記船体側接続ケーブルは、前記ステアリングアーム部により画成された開放空間を、自由可動状態にて、通って配策され、更にその先において、前記ケーブルの自重による自然垂れ下がり状態にて、スイベルブラケットの上端面部に配設された前記1つのケーブル台座の座面の前方端部の上面と、該前方端部の左右両端に配設された2つのリブの内側側面との間に画成された開放空間を、前記1つのケーブル台座の座面の上方における前記船体側接続ケーブルの少なくとも一部が、自由可動状態にて、通り、かつ、該自由可動状態にて、前記ケーブル及び前記船外機側カプラの自重による自然垂れ下がり状態にて水平移動できる範囲が、前記2つのリブの間の範囲に限定されている
ことを特徴とする電動船外機。
続きを表示(約 1,700 文字)
【請求項2】
前記ステアリングアーム部により画成された開放空間は、ステアリングアームにより画成された開放空間であり、該ステアリングアームの2本のアームの間に画成された開放空間である
ことを特徴とする請求項1に記載の電動船外機。
【請求項3】
前記ステアリングアーム部は、前記電動船外機の本体の操舵時におけるティラーハンドルの水平面内での回動を、線形的(linear)に、電動船外機の本体に伝達する操舵機構の一部を構成し、
前記ティラーハンドルの後端部に連結されたステアリングブラケットの、該連結された側と反対側の端部に、一方の端(前方端)が連結され、他方の端(後方端)を構成する2本のステアリングアームが、それぞれ対応するアッパーマウントを介して、電動船外機の本体に力学的に接続されている
ことを特徴とする請求項1に記載の電動船外機。
【請求項4】
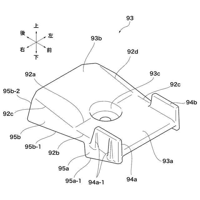
前記ケーブル台座は、一体成型された1つの連続体であって、それぞれ異なる形状の板状の部分の組み合わせから構成されており、相互に連続した平坦な座面Aと平坦な座面Bとを有し、
前記平坦な座面A(前方上面)と平坦な座面B(後方上面)との交差ラインが直線状であり、その交差ラインにおける交差の内角が140度~180度であり、
前記平坦な座面Aと平坦な座面Bは、いずれも略矩形状であり、それぞれの右端は共通の1枚の板状の支持部材に連続しており、それぞれの左端も共通する1枚の板状の支持部材に連続しており、
前記座面Aの前方端部の左右両端部にはそれぞれ同じ形状のリブが配設されている
ことを特徴とする請求項1に記載の電動船外機。
【請求項5】
前記リブは、それぞれ、内側側面が平坦であり、外側側面には、垂直方向に延在する略円錐形体を、電動船外機の前後方向に沿った垂直面で半割にした一方の形状を有する2本の垂直方向に延在する補強部材が一体形成されており、
前記補強部材の下端は、前記座面Aに終端している
ことを特徴とする請求項4に記載の電動船外機。
【請求項6】
前記板状の支持部材のうち、右側の板状の支持部材は、電動船外機の前後方向に平行であり、同一平面内にある前方部と後方部から構成されており、前方部と後方部のいずれも前記座面A及び座面Bの右側の端に連続する上端部を底辺とする三角形状であって、底辺以外の2辺のうち、前方側の辺が、後方側の辺よりも長い
ことを特徴とする請求項5に記載の電動船外機。
【請求項7】
前記前方部の三角形状を構成する底辺以外の2辺のうちの長い方の辺と、前記後方部の三角形状を構成する底辺以外の2辺のうちの長い方の辺とは、略平行である
ことを特徴とする請求項6に記載の電動船外機。
【請求項8】
前記板状の支持部材のうち、左側の板状の支持部材は、電動船外機の前後方向に平行な連続した第1部分と第2部分から構成され、第1部分はその上端部が前記座面A及び座面Bの左側の端に連続しており、第2部分はその上端部が前記第1部分の下端部の前方側の一部分に連続しており、
第1部分の前記一部分を除いた下端部と、第2部分下端部は同一平面内にある
ことを特徴とする請求項7に記載の電動船外機。
【請求項9】
前記右側の板状の支持部材における前記前方部の前方側の辺と、前記第1部分の前記一部分を除いた前記下端部と、前記第2部分の前記下端部とが、同一平面内にある
ことを特徴とする請求項8に記載の電動船外機。
【請求項10】
前記右側の板状の支持部材は、前記座面A及び座面Bとの連続部から、外側に傾斜しており、
前記左側の第1部分は、前記座面A及び座面Bとの連続部から、外側に傾斜しており、
前記左側の第2部分は、前記第1部分の下端部から略垂直に延在している
ことを特徴とする請求項9に記載の電動船外機。
(【請求項11】以降は省略されています)
発明の詳細な説明
【技術分野】
【0001】
本発明は、電源外付式の電動船外機に関する。具体的には、電動船外機の本体から引き出された船体側接続ケーブルが、ステアリングアーム部により画成された開放空間を通って配策され、更にその先においてスイベルブラケットの上端面部に配設されたケーブル台座の座面と、その座面の前方部の両端に具備された2つのリブの内側面とで画成される開放空間を通る電動船外機に関する。
続きを表示(約 3,500 文字)
【背景技術】
【0002】
近年における環境問題のクローズアップと共に、ガソリンや潤滑オイルの漏れ、排気ガスの水中への排出など、ガソリンエンジン式の船外機に特有の問題点を根本的に解消すべく、動力源に電動モータを備えた電動船外機が提案され実際に各地で運用されている。
【0003】
電動船外機は、その電源の配置位置により、2種類に大別され、電動船外機の本体部に電源を内蔵するタイプ(電源内蔵タイプ)と、電動船外機の外部(一般的には、電動船外機を取り付けた船体の中)に配置するタイプ(電源外付けタイプ)とがある。近年になって水素燃料電池を搭載するものも見かけるが、この場合も、この2種類のタイプに分けられる。これらのうち、本発明が対象とするのは、電源外付けタイプの電動船外機である。
【0004】
電動船外機の馬力の観点から見ると、小型のものは電源内蔵タイプが主流を占めるが、中型から大型のものになると電源外付けタイプが主流となる。このような電源外付けタイプの場合は、船内に配置された電源からの直流電力は、電源に接続された電源ケーブルを使って、電動船外機の本体に供給されるが、この場合、その電源ケーブルの先端に電源カプラを具備して、この電源カプラを電動船外機側の接続ケーブルの先端に具備された船外機側カプラに接続した状態となる。
【0005】
電源外付け式の電動船外機における船外機側の接続ケーブルの配策方法にはいろいろなタイプがあるが、本発明が解決しようとする課題を有する電源外付式の電動船外機においては、その接続ケーブルの配策に起因する課題が顕在化する背景には、以下の特殊な構造上の事情がある。
【0006】
a)船外機本体の中で、モータハウジングの中に収容された容積の大きな電動モータの配設位置が、スイベルブラケットの後方で、スイベルブラケットとほぼ同じ高さの位置に配設されている。
b)外部電源から受けた直流電力を交流電力に変換して、その変換後の交流電力を制御しつつ電動モータに供給する、所謂、モータコントローラの配設位置が、電動モータのモータハウジングの後端の上方で、モータハウジングの後ろの側面の位置よりも若干後方となっている。
c)一方、船外機側の接続ケーブルの長さは、直線距離ではなく、以下詳述する曲がりくねったケーブル配策をした状態においても、船外機本体を、クランプブラケットを介して着脱自在に船体に取り付けたときの、船外機側の接続ケーブルの先端に具備された船外機側のカプラの位置が、トランサムボードを越えて、ハルフロア(操舵者が立つ船の床)に立った操舵者が容易に電源側カプラを接続し易い位置まで到達するような長さを有する。この場合の船外機側のカプラの高さは、トランサムボードの上端とハルフロアの上面との間にあって、一般的な背丈の操舵者が、その船外機側のカプラを手で把持して、外部電源から引き出された電源側接続ケーブルの先端に具備されている電源側カプラと接続する際に接続し易い高さの位置に来るように構成されている。
d)船外機側の接続ケーブルは、そのケーブル配策において、船外機本体の右側上方のケーブル引き出し口から引き出された後、接続ケーブルの先端に具備された船外機側カプラまでの間では、例えば、結束バンドで束ねることはあっても、船外機本体の何らかの部材、部品、又は構造部に固定されることはなく、また、何らかの硬いパイプ(成型後は折り曲げ難いパイプ)の中を通して配策されることもなく、船外機側カプラも含めて、全長に亘って、自由可動型、あるいは、何らかの方法で保持しないとき、又は、ケーブルの中を通る銅線の太さに依存した若干の形状維持特性が発揮できないときには、自由に垂れ下がることとなる特徴を有する。
e)接続ケーブルの先端に具備された船外機側カプラは、比較的サイズが大きく、また、比較的重量の大きな部品であり、これに、接続される電源カプラも、比較的重量が大きく、また、それに繋がっている電源側接続ケーブルも、電源カプラの近傍の部分は、何ら固定されておらず、自由可動な状態でケーブル配策されている。
【0007】
従って、上記のような構造上の特殊な背景を有する電源外付式の電動船外機においては、電動船外機の操船時あるいは走航時には、船外機側接続ケーブル(太い銅線が中を通っている)、その先端の船外機側カプラ、それと接続された電源側カプラ、及びその近傍の電源側接続ケーブルの部分(太い銅線が中を通っている)の全体を、何らかの方法で、船外機本体や船体のどこかの箇所に固定しない限り、船外機が振れて、これらの比較的重量の大きな部品/部材の全体が「暴れる」こととなり、特に、接続カプラの位置に近い場所に居ざるを得ない操舵者の身体に危険が及ぶという安全上の課題が顕在化することとなる。
【0008】
そこで、かかる課題の解決の基本は「ケーブル配策」に工夫を加えることではないであるかとの想定の下で、何らかの先行特許文献があるか否かについて、「電動船外機」「ケーブル」「配策」のキーワードで、特許庁の特許情報プラットフォーム、J-PlatPatで検索したところ以下の4件が検出された。(本願出願時における特許庁の特許情報プラットフォーム、J-PlatPatでの検索結果に基づく)。
【先行技術文献】
【特許文献】
【0009】
特開2013-39887号公報
特開2013-39888号公報
特開2013-39890号公報
特開2013-86589号公報
【発明の開示】
【発明が解決しようとする課題】
【0010】
しかし、上記の先行特許文献に開示された発明は、いずれも、本発明が課題とするものについての解決策を提案するものではない。即ち、いずれも、
a)船外機本体の中で、モータハウジングの中に収容された容積の大きな電動モータの配設位置が、スイベルブラケットの後方で、スイベルブラケットとほぼ同じ高さの位置に配設されている。
b)外部電源から受けた直流電力を交流電力に変換して、その変換後の交流電力を制御しつつ電動モータに供給する、所謂、モータコントローラの配設位置が、電動モータのモータハウジングの後端の上方で、モータハウジングの後ろの側面の位置よりも若干後方となっている。
c)一方、船外機側の接続ケーブルの長さは、直線距離ではなく、以下詳述する曲がりくねったケーブル配策をした状態においても、船外機本体を、クランプブラケットを介して着脱自在に船体に取り付けたときの、船外機側の接続ケーブルの先端に具備された船外機側のカプラ(coupler)の位置が、トランサムボードを越える位置まで到達するような長さを有する。この場合の船外機側のカプラの高さは、トランサムボードの上端とハルフロアの上面との間にあって、一般的な背丈の操舵者が、その船外機側のカプラを手で把持して、外部電源から引き出された電源側接続ケーブルの先端に具備されている電源側カプラと接続する際に接続し易い高さの位置に来るように構成されている。
d)船外機側の接続ケーブルは、そのケーブル配策において、船外機本体の右側上方のケーブル引き出し口から引き出された後、接続ケーブルの先端に具備された船外機側カプラまでの間では、例えば、結束バンドで束ねることはあっても、船外機本体の何らかの部材、部品、又は構造部に固定されることはなく、また、何らかの硬いパイプ(成型後は折り曲げ難いパイプ)の中を通して配策されることもなく、船外機側カプラも含めて、全長に亘って、自由可動型、あるいは、何らかの方法で保持しないとき、又は、ケーブルの中を通る銅線の太さに依存した若干の形状維持特性が発揮できないときには、自由に垂れ下がることとなる特徴を有する。
e)接続ケーブルの先端に具備された船外機側カプラは、比較的サイズが大きく、また、比較的重量の大きな部品であり、これに、接続される電源カプラも、比較的重量が大きく、また、それに繋がっている電源側接続ケーブルも、電源カプラの近傍の部分は、何ら固定されておらず、自由可動な状態でケーブル配策されている。
と言う特殊な構造上の事情の下で顕在化する課題の解決策を提案するものではない。
(【0011】以降は省略されています)
この特許をJ-PlatPat(特許庁公式サイト)で参照する
関連特許
トーハツ株式会社
電動船外機
1か月前
個人
水上遊具
4か月前
個人
川下り用船
10か月前
個人
洋上研究所
2か月前
個人
発電船
11か月前
個人
津波防災ウエア
1か月前
個人
補助機構
7か月前
個人
船用横揺防止具
8か月前
個人
コンパクトシティ船
7か月前
個人
渦流動力推進構造
6か月前
個人
セールのバテンガイド装置
3か月前
炎重工株式会社
浮標
9か月前
個人
水質浄化・集熱昇温システム
3か月前
炎重工株式会社
浮標
9か月前
住友重機械工業株式会社
船舶
3か月前
炎重工株式会社
移動体
12か月前
株式会社フルトン
水中捕捉装置
7か月前
個人
船舶
9か月前
株式会社ラフティ
サーフボード
3か月前
個人
スクリュープロペラ
6か月前
個人
回転式による流体流出防止タンカー
7か月前
オーケー工業株式会社
係留フック
7か月前
スズキ株式会社
船外機
6か月前
スズキ株式会社
船外機
5か月前
スズキ株式会社
船外機
5か月前
スズキ株式会社
船外機
6か月前
朝日電装株式会社
船外機用照明装置
2か月前
常石造船株式会社
メタノール燃料船
10か月前
ヤマハ発動機株式会社
船外機
9か月前
株式会社アカデミー出版
船舶
2か月前
ナブテスコ株式会社
主機制御システム
14日前
株式会社神戸タフ興産
船舶の甲板構造
10か月前
藤倉コンポジット株式会社
架台
9か月前
株式会社ユピテル
システム及びプログラム等
6か月前
炎重工株式会社
自律航行浮遊体
9か月前
個人
発光手段を備えたライフジャケット
5か月前
続きを見る
他の特許を見る