TOP
|
特許
|
意匠
|
商標
特許ウォッチ
Twitter
他の特許を見る
10個以上の画像は省略されています。
公開番号
2025123030
公報種別
公開特許公報(A)
公開日
2025-08-22
出願番号
2024018858
出願日
2024-02-09
発明の名称
建具
出願人
YKK AP株式会社
代理人
弁理士法人武和国際特許事務所
主分類
E06B
9/58 20060101AFI20250815BHJP(戸,窓,シャッタまたはローラブラインド一般;はしご)
要約
【課題】障子の開放による換気、障子による採光、及び、スクリーン装置のスクリーンによる障子の目隠しを容易に行える建具を提供する。
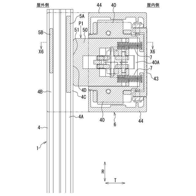
【解決手段】建具1は、障子に連結されてスクリーンを収容するとともにスクリーンを繰り出すスクリーン装置5と、障子に設けられて、スクリーン装置5が移動可能に連結されたレール4と、スクリーン装置5に設けられて、レール4に沿って移動したスクリーン装置5を停止させて停止位置に保持する停止装置6を備える。レール4は、停止装置6が係止されてスクリーン装置5を停止させる係止部4Cを有する。停止装置6は、係止部4Cに係止される係止位置P1と係止部4Cから離隔する離隔位置とに移動する可動材50と、可動材50を離隔位置から係止位置P1に向かって付勢して係止位置P1に配置する付勢手段7を有する。
【選択図】 図10
特許請求の範囲
【請求項1】
開閉可能な障子と、前記障子に連結されてスクリーンを収容するとともに前記スクリーンを繰り出すスクリーン装置と、を備えた建具であって、
前記障子に設けられて、前記スクリーン装置が移動可能に連結されたレールと、
前記スクリーン装置に設けられて、前記レールに沿って移動した前記スクリーン装置を停止させて停止位置に保持する停止装置と、を備え、
前記レールは、前記停止装置が係止されて前記スクリーン装置を停止させる係止部を有し、
前記停止装置は、前記係止部に係止される係止位置と前記係止部から離隔する離隔位置とに移動する可動材と、前記可動材を前記離隔位置から前記係止位置に向かって付勢して前記係止位置に配置する付勢手段と、を有する建具。
続きを表示(約 750 文字)
【請求項2】
請求項1に記載された建具において、
前記係止部は、前記停止装置と対向する対向面部を有し、
前記スクリーン装置は、前記可動材との間に前記係止部が配置されて、前記レールに連結される連結部を有し、
前記可動材は、前記付勢手段により前記対向面部に押し付けられて前記係止位置に配置され、前記連結部との間に前記係止部を挟み込んで前記対向面部に係止される建具。
【請求項3】
請求項2に記載された建具において、
前記レールは、前記連結部が移動可能に連結されるガイド部を有し、
前記連結部は、前記係止部に沿って移動しつつ前記ガイド部によりガイドされる建具。
【請求項4】
請求項1に記載された建具において、
前記係止部は、前記可動材を受けて前記可動材が引っ掛けられる受け部を有し、
前記可動材は、前記係止位置に配置された状態で、前記受け部に引っ掛けられて係止される建具。
【請求項5】
請求項4に記載された建具において、
前記係止部は、前記受け部から離隔する方向に移動する前記可動材と当接して前記可動材の移動を規制する規制部を有する建具。
【請求項6】
請求項1ないし5のいずれかに記載された建具において、
前記障子は、屋内側に向かって開く障子であり、
前記スクリーン装置は、前記障子の屋内側に位置する建具。
【請求項7】
請求項1ないし5のいずれかに記載された建具において、
前記レールは、上下方向に延び、
前記スクリーン装置は、前記レールに沿って上下方向に移動して、前記停止装置により前記停止位置に保持される建具。
発明の詳細な説明
【技術分野】
【0001】
本発明は、開閉可能な障子とスクリーン装置を備えた建具に関する。
続きを表示(約 2,800 文字)
【背景技術】
【0002】
建物の屋内側の壁部に設置されるスクリーン装置では、スクリーン装置が建具の上方に設置されて、スクリーン装置から繰り出されるスクリーンにより、建具の障子が目隠しされる。また、スクリーンをスクリーン装置に収容することで、障子による採光が可能となる。ところが、スクリーンにより障子の全体を覆うと、障子による採光が行えず、スクリーンにより障子の上側部分を覆うと、障子の下側部分での屋外側からの目隠しを行えない。障子を開放して換気するときにも、障子の開き方によっては、障子がスクリーンに干渉して、障子の開放が妨げられることがある。これに対し、従来、二重ガラスサッシの両側の縦框の間にヘッドボックスを設け、ヘッドボックスを両側の縦框の間で昇降させるヘッドボックス昇降型ブラインドの昇降装置が知られている(特許文献1参照)。
【0003】
特許文献1に記載された従来の昇降装置では、多数段のスラットがヘッドボックスに吊り下げられ、ヘッドボックスを昇降させることで、スラットを昇降させて、スラットによる目隠しと二重ガラスサッシでの採光とを行う。しかしながら、スラットにより二重ガラスサッシの全体を目隠しする際には、昇降装置により、ヘッドボックスを二重ガラスサッシの上部まで上昇させて、ヘッドボックスにより、スラットを二重ガラスサッシの上部まで引き上げる必要がある。これに対し、二重ガラスサッシの全体で採光する際には、昇降装置により、ヘッドボックスを二重ガラスサッシの下部まで下降させて、スラットを二重ガラスサッシの下部に畳み込む必要がある。そのため、従来の昇降装置では、二重ガラスサッシにおける目隠しと採光とを行う際に、手間が掛かる。また、昇降装置が縦框内に設けられるとともに、昇降装置の構造が複雑であり、昇降装置を縦框に設置する作業の負担も大きくなる虞がある。
【先行技術文献】
【特許文献】
【0004】
特公平7-980号公報
【発明の概要】
【発明が解決しようとする課題】
【0005】
本発明は、前記従来の問題に鑑みなされたもので、その目的は、障子の開放による換気、障子による採光、及び、スクリーン装置のスクリーンによる障子の目隠しを容易に行える建具を提供することである。
【課題を解決するための手段】
【0006】
本発明は、
開閉可能な障子と、前記障子に連結されてスクリーンを収容するとともに前記スクリーンを繰り出すスクリーン装置と、を備えた建具であって、
前記障子に設けられて、前記スクリーン装置が移動可能に連結されたレールと、
前記スクリーン装置に設けられて、前記レールに沿って移動した前記スクリーン装置を停止させて停止位置に保持する停止装置と、を備え、
前記レールは、前記停止装置が係止されて前記スクリーン装置を停止させる係止部を有し、
前記停止装置は、前記係止部に係止される係止位置と前記係止部から離隔する離隔位置とに移動する可動材と、前記可動材を前記離隔位置から前記係止位置に向かって付勢して前記係止位置に配置する付勢手段と、を有する建具である。
【発明の効果】
【0007】
本発明によれば、障子の開放による換気、障子による採光、及び、スクリーン装置のスクリーンによる障子の目隠しを容易に行える建具を提供することができる。
【図面の簡単な説明】
【0008】
第1実施形態の建具を示す斜視図である。
第1実施形態の建具を示す正面図である。
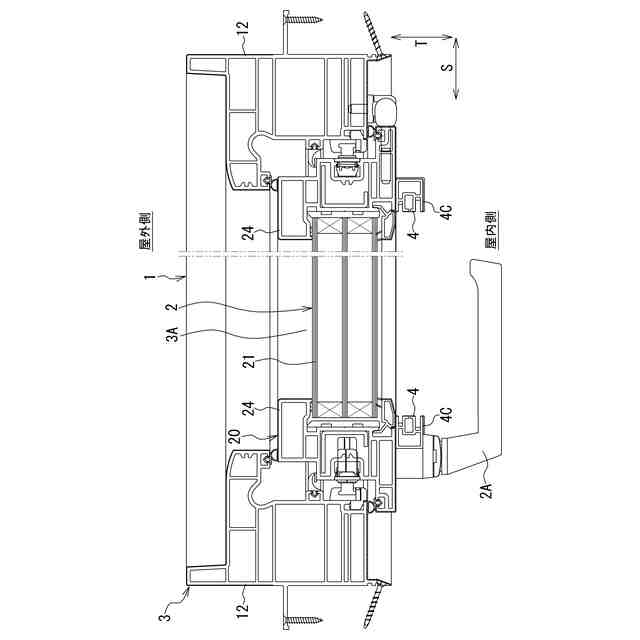
図2のX1-X1線で切断した第1実施形態の建具を示す縦断面図である。
図2のX2-X2線で切断した第1実施形態の建具を示す横断面図である。
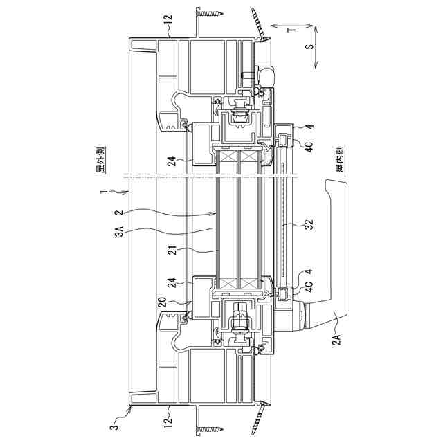
スクリーンを展開した第1実施形態の建具を示す正面図である。
図5のX3-X3線で切断した第1実施形態の建具を示す横断面図である。
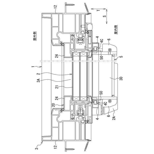
スクリーン装置を移動させた第1実施形態の建具を示す正面図である。
図7のX4-X4線で切断した第1実施形態の建具を示す横断面図である。
図2のX5-X5線で切断した第1実施形態の建具のレールと停止装置を示す縦断面図である。
図9のX6-X6線で切断した第1実施形態の建具のレールと停止装置を示す横断面図である。
図9のX6-X6線で切断した第1実施形態の建具のレールと停止装置を示す横断面図である。
第2実施形態の建具を示す斜視図である。
第2実施形態の建具を示す正面図である。
図13のX7-X7線で切断した第2実施形態の建具を示す横断面図である。
図13のX8-X8線で切断した第2実施形態の建具を示す横断面図である。
スクリーンを展開した第2実施形態の建具を示す正面図である。
図16のX9-X9線で切断した第2実施形態の建具を示す横断面図である。
スクリーン装置を移動させた第2実施形態の建具を示す正面図である。
図18のX10-X10線で切断した第2実施形態の建具を示す横断面図である。
図13のX11-X11線で切断した第2実施形態の建具のレールと停止装置を示す縦断面図である。
図20のX12-X12線で切断した第2実施形態の建具のレールと停止装置を示す横断面図である。
図20のX12-X12線で切断した第2実施形態の建具のレールと停止装置を示す横断面図である。
【発明を実施するための形態】
【0009】
本発明の建具の一実施形態について、図面を参照して説明する。
本実施形態の建具は、開閉する障子を備えた建具であり、建物の開口部に設置される。また、建具は、建物の屋内(室内)と屋外(室外)の間に設置されて、建物の開口部を閉鎖する。以下、屋内側に向かって開く障子を備えた建具(窓)を例にとり、建具の2つの実施形態について説明する。
【0010】
(第1実施形態)
図1は、第1実施形態の建具1を示す斜視図であり、図2は、第1実施形態の建具1を示す正面図である。図1、図2では、建物に設置された建具1を屋内側からみて示している。図3は、図2のX1-X1線で切断した第1実施形態の建具1を示す縦断面図であり、上下方向Rと屋内外方向Tを含む面で切断した建具1の断面を示している。図4は、図2のX2-X2線で切断した第1実施形態の建具1を示す横断面図であり、左右方向Sと屋内外方向Tを含む面で切断した建具1の断面を示している。
(【0011】以降は省略されています)
この特許をJ-PlatPat(特許庁公式サイト)で参照する
関連特許
YKK AP株式会社
外装体
今日
YKK AP株式会社
屋根構造体
1日前
株式会社ナカオ
作業台
23日前
株式会社ESP
止水板
1か月前
中国電力株式会社
脚立
1か月前
三協立山株式会社
構造体
3か月前
三協立山株式会社
構造体
3か月前
三協立山株式会社
開口部装置
3か月前
株式会社ニチベイ
ブラインド
4か月前
三協立山株式会社
開口部装置
4か月前
三協立山株式会社
開口部装置
25日前
三協立山株式会社
開口部装置
25日前
三協立山株式会社
開口部装置
1か月前
三協立山株式会社
開口部装置
1か月前
三協立山株式会社
開口部装置
1か月前
ミサワホーム株式会社
水切り材
1か月前
不二サッシ株式会社
引違いサッシ
28日前
株式会社TJMデザイン
脚立用ホルダー
2か月前
株式会社ニチベイ
縦型ブラインド
1か月前
株式会社大奉金属
止水構造
3か月前
株式会社LIXIL
太陽電池ガラス
4日前
三協立山株式会社
サッシの製造方法
24日前
永大産業株式会社
開閉構造体
3か月前
三協立山株式会社
エクステリア構成材
1か月前
株式会社LIXIL
建具
1か月前
株式会社LIXIL
建具
1日前
株式会社LIXIL
建具
1か月前
株式会社LIXIL
建具
14日前
株式会社LIXIL
建具
1日前
ナブテスコ株式会社
建具及び表示装置
2か月前
株式会社LIXIL
建具
4日前
株式会社LIXIL
建具
14日前
株式会社LIXIL
建具
14日前
三和シヤッター工業株式会社
水密構造
1か月前
株式会社大林組
シャッター装置
1か月前
株式会社LIXIL
建具
14日前
続きを見る
他の特許を見る