TOP
|
特許
|
意匠
|
商標
特許ウォッチ
Twitter
他の特許を見る
公開番号
2025122591
公報種別
公開特許公報(A)
公開日
2025-08-21
出願番号
2024018207
出願日
2024-02-08
発明の名称
立て看板用スロープおよび立て看板
出願人
株式会社トップ
代理人
個人
主分類
E01F
9/646 20160101AFI20250814BHJP(道路,鉄道または橋りょうの建設)
要約
【課題】 ロードコーン(特に重量コーン)を立て看板の錘(ウエイト)として利用することにある。
【解決手段】 まず、立て看板用スロープ10の架設部20を立て看板70に取り付ける。次に、スロープ部30を蝶番40,40を軸に回動させて設置面に当接することで、立て看板70にスロープを設けることができる。そして、立て看板70を必要とする現場には必ずと言っていいほど用意されている重量コーン100を転がしながらスロープ部30をスムーズに上り、重量コーン100を架設部20に載置できる。
【選択図】 図6
特許請求の範囲
【請求項1】
表示部分を有する看板本体と、看板本体の背後にあって、看板本体を支えて自立させる支持体と、を備えた立て看板において、
看板本体と支持体との間に架設する架設部に重量物を載置するため、架設部から反看板本体側へ延びるスロープ部を形成することを特徴とした立て看板用スロープ。
続きを表示(約 530 文字)
【請求項2】
架設部とスロープ部とが一体型であることを特徴とした請求項1記載の立て看板用スロープ。
【請求項3】
架設部とスロープ部とが折曲自在であることを特徴とした請求項2記載の立て看板用スロープ。
【請求項4】
架設部を取り付ける支持体の取付部に取り付けることを特徴とした請求項1記載の立て看板用スロープ。
【請求項5】
重量物がロードコーンであることを特徴とした請求項1から4のいずれかに記載の立て看板用スロープ。
【請求項6】
表示部分を有する看板本体と、看板本体の背後にあって、看板本体を支えて自立させる支持体と、を備えた立て看板であって、
看板本体と支持体との間に架設して重量物を載置するための架設部と、
架設部から反看板本体側へ延びるスロープ部と、
を備えることを特徴とした立て看板。
【請求項7】
架設部とスロープ部とを折曲自在な一体型で構成し、折曲状態で看板本体の裏面に収納することを特徴とした請求項6記載の立て看板。
【請求項8】
重量物がロードコーンであることを特徴とした請求項6又は7記載の立て看板。
発明の詳細な説明
【技術分野】
【0001】
本願発明は、自立した看板である立て看板に関するものである。
続きを表示(約 2,500 文字)
【背景技術】
【0002】
工事現場や路面店或いはイベント会場などでは、通行人や参加者の注意を惹くために、立て看板を用いることが多い。
しかし、風の強い日などは、立て看板が風に煽られて横転したり、設置場所から大きく移動したりして、非常に危険である(安全性に問題がある)。
そのため、立て看板に錘(ウエイト)を付けて安全性を図るようにしている(特許文献1~3など)。
【先行技術文献】
【特許文献】
【0003】
特開2001-059209号公報
特開2012-093566号公報
実用新案登録第3202717号公報
【発明の概要】
【発明が解決しようとする課題】
【0004】
確かに、立て看板に錘(ウエイト)を付けることで、立て看板の安全性は確実に向上することになる。
しかし、立て看板を設置する現場に、立て看板とは別に錘(ウエイト)を用意しなければならず煩雑である。また、錘(ウエイト)は重量があるので、その搬入や設置には労力がかかる。
【0005】
一方、立て看板を設置する現場(特に工事現場)には、必ずと言っていいほど保安器具であるロードコーン(いわゆるカラーコーン:登録商標)が用意されている。近年では、このロードコーンに重量コーンと言われる高比重のロードコーンが広く普及している。
そこで、本願発明者は、このロードコーン(重量コーン)を立て看板に利用できないかと考えた末に、本願発明に想到した。
【課題を解決するための手段】
【0006】
本願発明の第1の発明は、表示部分を有する看板本体と、看板本体の背後にあって、看板本体を支えて自立させる支持体と、を備えた立て看板において、看板本体と支持体との間に架設する架設部に重量物を載置するため、架設部から反看板本体側へ延びるスロープ部を形成することを特徴とした立て看板用スロープである。
第2の発明は、架設部とスロープ部とが一体型であることを特徴とした上記第1の発明に係る立て看板用スロープである。
第3の発明は、架設部とスロープ部とが折曲自在であることを特徴とした上記第2の発明に係る立て看板用スロープである。
第4の発明は、架設部を取り付ける支持体の取付部に取り付けることを特徴とした上記第1の発明に係る立て看板用スロープである。
第5の発明は、重量物がロードコーンであることを特徴とした上記第1の発明から第4の発明のいずれかに係る看板用スロープである。
第6の発明は、表示部分を有する看板本体と、看板本体の背後にあって、看板本体を支えて自立させる支持体と、を備えた立て看板であって、看板本体と支持体との間に架設して重量物を載置するための架設部と、架設部から反看板本体側へ延びるスロープ部と、を備えることを特徴とした立て看板である。
第7の発明は、架設部とスロープ部とを折曲自在な一体型で構成し、折曲状態で看板本体の裏面に収納することを特徴とした上記第6の発明に係る立て看板である。
第8の発明は、重量物がロードコーンであることを特徴とした上記第6又は第7の発明に係る立て看板である。
【発明の効果】
【0007】
本願発明によれば、以下のような効果を有する。
(1)立て看板用スロープが、看板本体と支持体との間に架設する架設部から反看板本体側へ延びるスロープ部を形成することで、このスロープ部を利用して架設部上に重量物を載置することができる。
(2)立て看板用スロープが、架設部とスロープ部とを一体型にしたものであることで、架設部とスロープ部を別々に用意する必要がなくなる。
(3)立て看板用スロープが、一体型の架設部とスロープ部とを折曲自在にしたことで、折り畳むことによりコンパクトに収納できる。詳しくは、架設部とスロープ部を折り畳んだ立て看板用スロープを看板本体の裏面に収納することも可能になる。
(4)立て看板用スロープが、架設部を取り付ける支持体の取付部に取り付ける単体型であることで、既存の架設部を利用してスロープ部を形成できる。
(5)架設部に載置する重量物にロードコーンを用いることで、立て看板を設置する現場(例えば、工事現場)にあるロードコーンを有効活用できる。また、ロードコーンを持ち上げることなく、ロードコーンを傾けてスロープ部上を転がしながら移動できるので、ロードコーンの載置作業を極めて安全且つ容易に行える。特に、スロープ部と接するロードコーンの台座部が水平方向円形であれば、スロープ部上をスムーズに転がすことができる。
【図面の簡単な説明】
【0008】
本願発明の第1実施形態を説明する説明図(1)。
本願発明の第1実施形態を説明する説明図(2)。
本願発明の第1実施形態を説明する説明図(3)。
本願発明の第1実施形態を説明する説明図(4)。
本願発明の第1実施形態を説明する説明図(5)。
本願発明の第1実施形態を説明する説明図(6)。
本願発明の第2実施形態を説明する説明図(1)。
本願発明の第2実施形態を説明する説明図(2)。
【発明を実施するための形態】
【0009】
以下に、本願発明に係る立て看板用スロープの実施形態を、図面に基いて説明する。
なお、以下に説明する実施形態は本願発明の一例であり、これに限定されるものではない。
【0010】
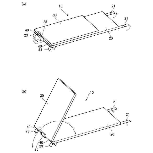
図1~図6は、本願発明に係る立て看板用スロープの第1実施形態を説明する説明図である。
まず、図1は立て看板用スロープ10の全体図を図示したものである。
立て看板用スロープ10は、看板本体と支持体との間に架設される架設部20とスロープ部30とを折曲自在に接続した一体型となっている。
(【0011】以降は省略されています)
この特許をJ-PlatPat(特許庁公式サイト)で参照する
関連特許
株式会社トップ
採血管ホルダー及び採血キット
5日前
株式会社熊谷組
床版
2日前
株式会社熊谷組
床版
2日前
個人
折り畳み式標識具
9日前
株式会社熊谷組
床版接合構造
12日前
白出商事株式会社
縁石銘板(名板)
4日前
北越消雪機械工業株式会社
消雪装置
9日前
株式会社NIPPO
斜面用ローラ
3日前
株式会社ササキコーポレーション
作業機
1日前
株式会社NIPPO
斜面用ローラ
3日前
株式会社NIPPO
距離補正装置
2日前
株式会社NIPPO
切削用制御装置
2日前
三信工業株式会社
床版架設装置
1日前
桑名金属工業株式会社
融雪マットおよび融雪方法
1日前
株式会社熊谷組
床版継手装置、及び、床版
12日前
中井商工株式会社
橋梁の桁端止水工法
12日前
浅香工業株式会社
レーキ
19日前
東亜グラウト工業株式会社
防護柵の支柱構造
2日前
株式会社NIPPO
バンク用建設機械サポータ装置
3日前
日鉄神鋼建材株式会社
補強金具、及び支柱取付構造
2日前
株式会社NIPPO
アスファルトスタッカ制御装置
3日前
日立建機株式会社
転圧機械
2日前
日鉄建材株式会社
吊り材で支持された足場用床パネル
1日前
株式会社日本コンポジット工業
壁用構造体
1日前
三井住友建設株式会社
床版拡幅工法
3日前
株式会社NIPPO
コンクリートスタッカ
8日前
東日本旅客鉄道株式会社
横取り方法
8日前
株式会社NIPPO
法面作業装置
22日前
株式会社NIPPO
スコップ加熱器
1日前
株式会社NIPPO
コンクリート舗装の施工方法
12日前
株式会社NIPPO
土壌改質材及びそれを含む土壌
2日前
大成建設株式会社
床版接合部の設計方法
12日前
日本製鉄株式会社
橋脚構造
1日前
株式会社NIPPO
コンクリート舗装及びその施工方法
12日前
ピーエス・コンストラクション株式会社
軌道支持構造
2日前
日鉄エンジニアリング株式会社
防草工法及び防草舗装構造
8日前
続きを見る
他の特許を見る