TOP
|
特許
|
意匠
|
商標
特許ウォッチ
Twitter
他の特許を見る
公開番号
2025118260
公報種別
公開特許公報(A)
公開日
2025-08-13
出願番号
2024013482
出願日
2024-01-31
発明の名称
月面車両
出願人
トヨタ自動車株式会社
代理人
弁理士法人太陽国際特許事務所
主分類
B64G
1/16 20060101AFI20250805BHJP(航空機;飛行;宇宙工学)
要約
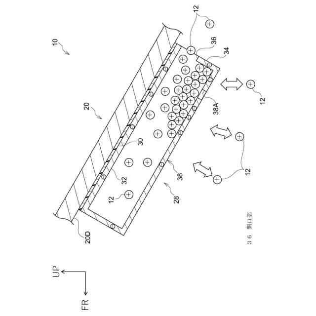
【課題】電力資源を用いずに車体側の帯電電位を低減することができる月面車両を得る。
【解決手段】月面車両10は、車体において金属製のタイヤ16の周辺に位置するタイヤ周辺部20と、絶縁部30を介してタイヤ周辺部20に固定されると共に、開口部が形成され、タイヤ16によって巻き上げられたレゴリス12を当該開口部から取り込み堆積可能に構成された金属ボックス22、24、26、28と、を有する。
【選択図】図1
特許請求の範囲
【請求項1】
車体において金属製のタイヤの周辺に位置するタイヤ周辺部と、
絶縁部を介して前記タイヤ周辺部に固定されると共に、開口部が形成され、前記タイヤによって巻き上げられたレゴリスを当該開口部から取り込み堆積可能に構成された金属ボックスと、
を有する月面車両。
発明の詳細な説明
【技術分野】
【0001】
本発明は、月面車両に関する。
続きを表示(約 1,400 文字)
【背景技術】
【0002】
下記特許文献1には、車体の電子供給による車両の空力特性制御装置が開示されている。この装置は、正極端子及び負極端子を備えた電源を有している。正極端子及び負極端子は、それぞれ車両の構成部材に接続されており、これにより車両の車体又は内外表面部位へ電子が供給される。このように、上記技術では、電気的回路を車両に取り付けて空気流を制御し、空力特性を改善するようになっている。
【先行技術文献】
【特許文献】
【0003】
特開2022-143555号公報
【発明の概要】
【発明が解決しようとする課題】
【0004】
しかしながら、上記技術は、電力資源を用いるものであり、月面上のような電力資源が乏しい環境においても車体側の帯電電位を低減するには改良の余地がある。
【0005】
本発明は上記事実を考慮し、電力資源を用いずに車体側の帯電電位を低減することができる月面車両を得ることを目的とする。
【課題を解決するための手段】
【0006】
請求項1に記載の本発明に係る月面車両は、車体において金属製のタイヤの周辺に位置するタイヤ周辺部と、絶縁部を介して前記タイヤ周辺部に固定されると共に、開口部が形成され、前記タイヤによって巻き上げられたレゴリスを当該開口部から取り込み堆積可能に構成された金属ボックスと、を有している。
【0007】
請求項1に記載の本発明によれば、走行する月面車両のタイヤによって巻き上げられたレゴリスは、タイヤ周辺部に固定された金属ボックスの中に、開口部から取り込まれて堆積する。絶縁体のレゴリスは、金属製のタイヤとの摩擦によって、プラスに帯電する。新たに巻き上げられたレゴリスは、堆積したレゴリスと同極であるため、電界の反発力によって金属ボックスから遠ざけられる。これにより、車体とレゴリスとの摩擦が抑制される。ここで、レゴリスの堆積によって金属ボックスはマイナスに帯電するが、継続する摩擦による累積帯電ではないため、レゴリスと車体とによって継続して摩擦が生じる場合と比較して、帯電の上限値を低減することができる。また、金属ボックスは、絶縁体を介して車体に固定されているため、摩擦帯電が生じる位置が車体から遠くなる。電界は距離の2乗に反比例するため、より一層帯電電位の上限値を低減することができる。
【発明の効果】
【0008】
以上説明したように、本発明に係る月面車両は、電力資源を用いずに車体側の帯電電位を低減することができるという優れた効果を有する。
【図面の簡単な説明】
【0009】
本実施形態に係る月面車両の左側後輪周辺を示す側面図である。
図1に示される第4ポケットの帯電状態を示す断面模式図である。
【発明を実施するための形態】
【0010】
以下、図1及び図2を用いて、本発明の一実施形態に係る月面車両10について説明する。なお、各図に適宜示される矢印FR、矢印UP及び矢印LHは、それぞれ車両の前方側、上方側及び左右方向(幅方向)左側を示している。また、以下の説明で特記なく前後、上下、左右の方向を用いる場合は、車両前後方向の前後、車両上下方向の上下、車両左右方向(幅方向)の左右をそれぞれ示すものとする。
(【0011】以降は省略されています)
この特許をJ-PlatPat(特許庁公式サイト)で参照する
関連特許
トヨタ自動車株式会社
方法
5日前
トヨタ自動車株式会社
車両
6日前
トヨタ自動車株式会社
車両
今日
トヨタ自動車株式会社
電池
12日前
トヨタ自動車株式会社
車両
20日前
トヨタ自動車株式会社
電池
12日前
トヨタ自動車株式会社
電動車
20日前
トヨタ自動車株式会社
タンク
5日前
トヨタ自動車株式会社
制御装置
5日前
トヨタ自動車株式会社
蓄電装置
12日前
トヨタ自動車株式会社
蓄電装置
12日前
トヨタ自動車株式会社
蓄電装置
12日前
トヨタ自動車株式会社
蓄電装置
12日前
トヨタ自動車株式会社
蓄電装置
12日前
トヨタ自動車株式会社
蓄電装置
12日前
トヨタ自動車株式会社
蓄電装置
12日前
トヨタ自動車株式会社
蓄電装置
20日前
トヨタ自動車株式会社
蓄電装置
1日前
トヨタ自動車株式会社
制御装置
5日前
トヨタ自動車株式会社
蓄電装置
20日前
トヨタ自動車株式会社
車両装置
12日前
トヨタ自動車株式会社
蓄電装置
20日前
トヨタ自動車株式会社
エンジン
12日前
トヨタ自動車株式会社
判定装置
20日前
トヨタ自動車株式会社
制御装置
20日前
トヨタ自動車株式会社
反応容器
20日前
トヨタ自動車株式会社
蓄電装置
12日前
トヨタ自動車株式会社
蓄電装置
13日前
トヨタ自動車株式会社
塗工装置
12日前
トヨタ自動車株式会社
蓄電装置
今日
トヨタ自動車株式会社
処理装置
12日前
トヨタ自動車株式会社
蓄電装置
今日
トヨタ自動車株式会社
蓄電装置
12日前
トヨタ自動車株式会社
蓄電装置
12日前
トヨタ自動車株式会社
車載装置
今日
トヨタ自動車株式会社
蓄電装置
12日前
続きを見る
他の特許を見る