TOP
|
特許
|
意匠
|
商標
特許ウォッチ
Twitter
他の特許を見る
公開番号
2025117884
公報種別
公開特許公報(A)
公開日
2025-08-13
出願番号
2024012854
出願日
2024-01-31
発明の名称
通気構造
出願人
日東電工株式会社
代理人
弁理士法人青藍国際特許事務所
主分類
H05K
5/06 20060101AFI20250805BHJP(他に分類されない電気技術)
要約
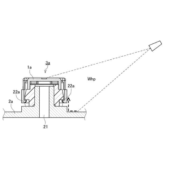
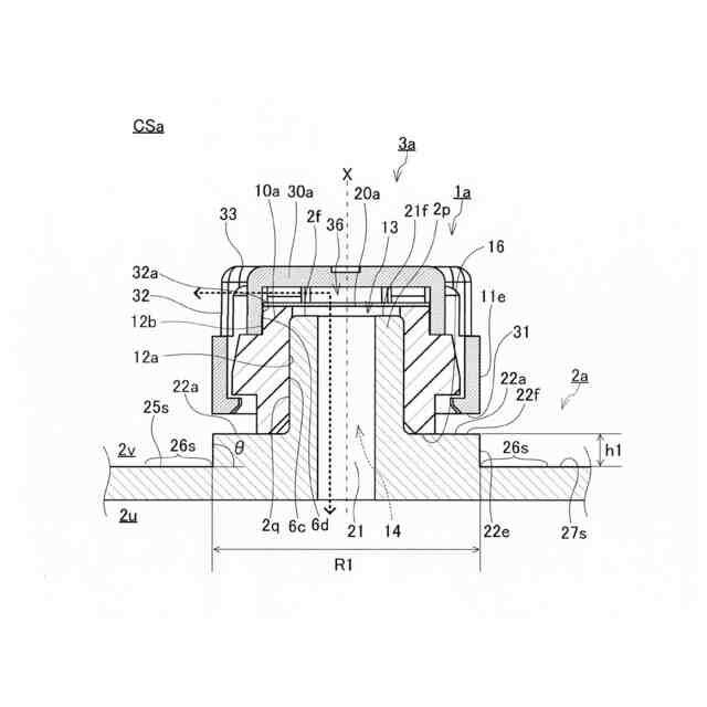
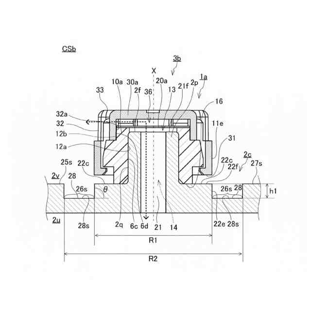
【課題】筐体の通気口に装着された通気部品が、通気口から離脱することを抑制することに適した通気構造を提供する。
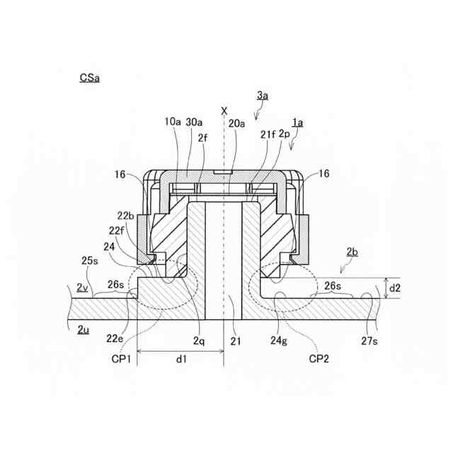
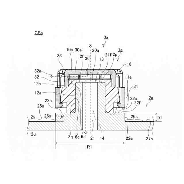
【解決手段】筐体2aと通気部品1aとを備える通気構造であって、筐体2aは、筐体2aの内部空間2uと外部空間2vとを連通させる通気口21を取り囲むように位置する台座部22aを備える。通気部品1aは、通気口21に装着され、内部空間2uと外部空間2vとの間の通気経路の一部として貫通孔を有する第1部材10aと、第1部材10aに装着され、貫通孔の開口を覆う第2部材30aとを備える。筐体2aの外表面25sを基準として外部空間2vが上方となり、通気口21が現れるように設定した断面において、台座部22aは、第2部材30aの下端31よりも下方、かつ台座部22aに隣接する外表面25sの隣接部26sよりも上方において、上方を向く上面22fを有する。
【選択図】図1A
特許請求の範囲
【請求項1】
筐体と通気部品とを備える通気構造であって、
前記筐体は、前記筐体の内部空間と外部空間とを連通させる通気口を取り囲むように位置する台座部を備え、
前記通気部品は、
前記通気口に装着され、前記内部空間と前記外部空間との間の通気経路の一部として貫通孔を有する第1部材と、
前記第1部材に装着され、前記貫通孔の開口を覆う第2部材と、
を備え、
前記筐体の外表面を基準として前記外部空間が上方となり、前記通気口が現れるように設定した断面において、前記台座部は、前記第2部材の下端よりも下方、かつ前記台座部に隣接する前記外表面の隣接部よりも上方において、上方を向く上面を有する、
通気構造。
続きを表示(約 770 文字)
【請求項2】
前記通気口の中心軸に沿って前記外部空間側から見たとき、前記通気部品の外縁と前記台座部の外縁との間の径方向の最大距離が5mm以下の範囲にある、前記通気口の中心軸に垂直な断面が存在している、
請求項1に記載の通気構造。
【請求項3】
前記通気口の中心軸に沿って前記外部空間側から見たとき、前記台座部の外縁は前記中心軸を中心する仮想的な円に沿った形状を有し、前記通気部品の外縁は前記仮想的な円の外縁と重なっている、
請求項1に記載の通気構造。
【請求項4】
前記断面において、前記外表面のうち前記隣接部以外の部分を基準部と定義したとき、前記隣接部と前記基準部とは面一である、又は、前記隣接部は前記基準部よりも下方に位置する、
請求項1に記載の通気構造。
【請求項5】
前記台座部は、前記通気口の周方向に沿って配置された環状部を有する、
請求項1に記載の通気構造。
【請求項6】
前記台座部は、前記通気口の周方向に沿って分割された複数の分割部を有する、
請求項1に記載の通気構造。
【請求項7】
前記筐体は、前記通気口の縁に向かって筒状に突出している突起をさらに備え、
前記台座部は、前記突起を取り囲むように位置する、
請求項1に記載の通気構造。
【請求項8】
前記断面において、前記突起は、前記台座部の上面よりも上方、かつ前記第2部材の下端よりも上方において、上方を向く上面を有する、
請求項7に記載の通気構造。
【請求項9】
前記通気部品は、前記貫通孔の開口を塞ぐように取り付けられた通気膜をさらに備える、
請求項1に記載の通気構造。
発明の詳細な説明
【技術分野】
【0001】
本発明は、通気構造に関し、特に、筐体と通気部品とを備える通気構造に関する。
続きを表示(約 1,600 文字)
【背景技術】
【0002】
ランプ、インバータ、コンバータ、電子制御装置(ECU)、バッテリーパック、レーダー、及びカメラ等の車載用電装部品、並びに家庭用、医療用、オフィス用等の各種の電子機器の筐体に、筐体の内部空間と外部空間との通気を確保するとともに、筐体内部への異物の侵入を抑制する通気構造が形成されることがある。通気構造は、一般に、通気部品が筐体の通気口に固定された構造を有している。通気構造によって、筐体内部への水、塵芥等の侵入を防ぎながら、温度変化に伴う筐体内部の圧力変動を緩和できる。
【0003】
例えば、特許文献1には、筐体と筐体の突起に固定された通気部品とを備えた通気構造が記載されている。通気部品は、内部部材、通気膜、及び外部部材を備える。筐体と通気部品とは、筐体の突起が内部部材の開口から挿入され、かつ、内部部材の内周面と突起の外周面とが当接することで固定されている。
【0004】
例えば、特許文献2には、筐体と筐体の突起に固定された通気アセンブリとを備えた通気構造が記載されている。通気アセンブリは、内部部材、通気膜、及び外部部材を備える。筐体と通気アセンブリとは、筐体の突起が内部部材の開口から挿入され、かつ、内部部材の内周面と突起の外周面とが当接することで固定されている。
【0005】
例えば、特許文献3には、筐体と筐体の開口部に固定された通気部材とを備えた通気構造が記載されている。通気部材は、通気膜、及び通気膜を支持する支持部と開口部へ挿入される挿入部とを有する支持体を備える。挿入部は、挿入開始側に形成された複数の脚部を含んでいる。脚部は、その挿入開始側端部に外周がテーパー状に加工された係止部を含んでいる。通気部材の挿入部を筐体の開口部へ挿入すると、係止部が開口部に押圧され、複数の脚部が内方に撓むため、筐体に対する通気部材の挿入圧が低減される。係止部は、開口部を通過し押圧から解放されると、筐体の内面に係止され、これにより、通気部材が筐体に固定される。
【先行技術文献】
【特許文献】
【0006】
国際公開第2021/145383号
国際公開第2020/075857号
特開2004-47425号公報
【発明の概要】
【発明が解決しようとする課題】
【0007】
特許文献1~3に記載されるような筐体と通気部品とを備えた通気構造は、筐体の通気口に装着された通気部品が、通気口から離脱することを抑制する観点から再検討の余地を有する。
【0008】
そこで、本発明は、筐体の通気口に装着された通気部品が、通気口から離脱することを抑制することに適した通気構造を提供する。
【課題を解決するための手段】
【0009】
本発明者は、鋭意検討した結果、通気部品に作用する抜け方向の力を減少させる台座部を設けることにより、上記目的が達成されることを見出した。
【0010】
本発明は、
筐体と通気部品とを備える通気構造であって、
前記筐体は、前記筐体の内部空間と外部空間とを連通させる通気口を取り囲むように位置する台座部を備え、
前記通気部品は、
前記通気口に装着され、前記内部空間と前記外部空間との間の通気経路の一部として貫通孔を有する第1部材と、
前記第1部材に装着され、前記貫通孔の開口を覆う第2部材と、
を備え、
前記筐体の外表面を基準として前記外部空間が上方となり、前記通気口が現れるように設定した断面において、前記台座部は、前記第2部材の下端よりも下方、かつ前記台座部に隣接する前記外表面の隣接部よりも上方において、上方を向く上面を有する、
通気構造、
を提供する。
【発明の効果】
(【0011】以降は省略されています)
この特許をJ-PlatPat(特許庁公式サイト)で参照する
関連特許
日東電工株式会社
吸着材
8日前
日東電工株式会社
積層体
2日前
日東電工株式会社
照明装置
1日前
日東電工株式会社
電子装置
4日前
日東電工株式会社
発光装置
9日前
日東電工株式会社
粘着シート
1日前
日東電工株式会社
光学積層体
23日前
日東電工株式会社
光学積層体
1か月前
日東電工株式会社
生体センサ
1か月前
日東電工株式会社
粘着シート
1日前
日東電工株式会社
光ファイバ
3日前
日東電工株式会社
温度測定装置
3日前
日東電工株式会社
粘着剤組成物
3日前
日東電工株式会社
調光フィルム
2日前
日東電工株式会社
偏光フィルム
1か月前
日東電工株式会社
複合ケーブル
1か月前
日東電工株式会社
スイッチ装置
9日前
日東電工株式会社
粘着剤組成物
3日前
日東電工株式会社
反射フィルム
1か月前
日東電工株式会社
スイッチ装置
1日前
日東電工株式会社
温度測定装置
3日前
日東電工株式会社
光学粘着シート
10日前
日東電工株式会社
光学粘着シート
10日前
日東電工株式会社
光学粘着シート
10日前
日東電工株式会社
反射防止フィルム
8日前
日東電工株式会社
ガラス樹脂複合体
1か月前
日東電工株式会社
反射防止フィルム
8日前
日東電工株式会社
偏光子の製造方法
1か月前
日東電工株式会社
ロール体の製造方法
12日前
日東電工株式会社
光学積層体の製造方法
1か月前
日東電工株式会社
光学積層体の製造方法
9日前
日東電工株式会社
光学積層体の製造方法
9日前
日東電工株式会社
調光用導電性フィルム
22日前
日東電工株式会社
導光体、及び照明装置
1日前
日東電工株式会社
配線回路基板の製造方法
1日前
日東電工株式会社
延伸フィルムの製造方法
22日前
続きを見る
他の特許を見る