TOP
|
特許
|
意匠
|
商標
特許ウォッチ
Twitter
他の特許を見る
公開番号
2025115281
公報種別
公開特許公報(A)
公開日
2025-08-06
出願番号
2024009753
出願日
2024-01-25
発明の名称
遮水構造体の施工方法及び圧着機
出願人
東洋建設株式会社
代理人
弁理士法人はなぶさ特許商標事務所
主分類
B09B
1/00 20060101AFI20250730BHJP(固体廃棄物の処理;汚染土壌の再生)
要約
【課題】作業性を向上させる遮水構造体の施工方法を提供する。
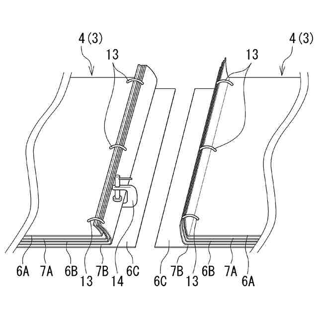
【解決手段】遮水構造体の施工方法は、陸上または船上にて、隣接する多層一体型遮水シート3、3のうち一方の多層一体型遮水シート3の遮水シート7Bの端部表面または裏面に両面テープ8を貼着する貼着ステップと、隣接する多層一体型遮水シート3、3を管理型海面処分場内の海中に沈設させる沈設ステップと、一方の多層一体型遮水シート3の遮水シート7Bに貼着された両面テープ8の剥離シートを剥がしながら、隣接する多層一体型遮水シート3、3の重なり合った遮水シート7B、7Bの端部同士を圧接して圧着する圧着ステップと、を含む。これにより、作業性を向上させることができる。
【選択図】図7
特許請求の範囲
【請求項1】
互いに異なる材質の保護マットと遮水シートとを交互に重ねて、これらが溶着される多層一体型遮水シートの端部同士を接続してなる遮水構造体を管理型海面処分場内の少なくとも護岸側面に敷設する施工方法であって、
陸上または船上にて、隣接する多層一体型遮水シートのうち一方の多層一体型遮水シートの遮水シートの端部表面または裏面に両面テープを貼着する貼着ステップと、
前記隣接する多層一体型遮水シートを前記管理型海面処分場内の海中に沈設させる沈設ステップと、
前記一方の多層一体型遮水シートの遮水シートに貼着された両面テープの剥離シートを剥がしながら、前記隣接する多層一体型遮水シートの重なり合った遮水シートの端部同士を圧接して圧着する圧着ステップと、
を含むことを特徴とする遮水構造体の施工方法。
続きを表示(約 1,000 文字)
【請求項2】
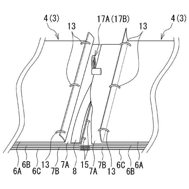
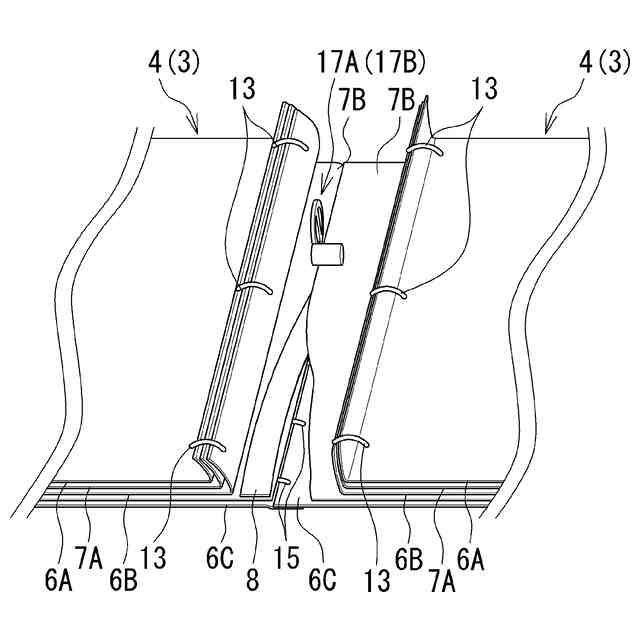
前記圧着ステップでは、前記隣接する多層一体型遮水シートの重なり合った遮水シートの端部同士を圧着する圧着機を用い、
該圧着機は、上側の多層一体型遮水シートの遮水シートの上面を転動する上側ローラと、下側の多層一体型遮水シートの遮水シートの下面を転動する下側ローラと、を備え、前記上側ローラと、前記下側ローラとは、互いに近接・遠退自在に構成されることを特徴とする請求項1に記載の遮水構造体の施工方法。
【請求項3】
重なり合う遮水シートの端部同士を水中にて両面テープにより圧着する圧着機であって、
上側の遮水シートの上面を転動する上側ローラと、
下側の遮水シートの下面を転動する下側ローラと、
を備え、
前記上側ローラと、前記下側ローラとは、互いに近接・遠退自在に構成されることを特徴とする圧着機。
【請求項4】
前記上側及び下側ローラの回転に伴って互いに回転することで、前記両面テープの剥離シートを挟み込んで粘着材層から引き剥がす一対の剥がしローラを備え、
当該一対の剥がしローラは、前記一対の上側及び下側ローラよりも、前記圧着機の進行方向前側に配置されることを特徴とする請求項3に記載の圧着機。
【請求項5】
前記一対の剥がしローラ間には、前記一対の剥がしローラが互いに回転する際の前記剥離シートの滑りを規制する滑り規制手段が設けられることを特徴とする請求項4に記載の圧着機。
【請求項6】
前記滑り規制手段は、
前記一対の剥がしローラのうち一方の剥がしローラの外周面には設けられた多数の突起部と、
他方の剥がしローラの外周面に設けられた、前記一方の剥がしローラの各突起部をそれぞれ受け入れる多数の受入部と、備えることを特徴とする請求項5に記載の圧着機。
【請求項7】
前記上側ローラ側に一体的に連結される一方の把持部と、
前記下側ローラ側に一体的に連結される他方の把持部と、を備え、
前記上側ローラ及び前記一方の把持部と、前記下側ローラ及び前記他方の把持部とは、互いに近接・遠退可能に、支点を中心に回動自在に連結されることを特徴とする請求項3に記載の圧着機。
【請求項8】
前記把持部は、リング状に形成されることを特徴とする請求項7に記載の圧着機。
発明の詳細な説明
【技術分野】
【0001】
本発明は、互いに異なる材質の保護マットと遮水シートとを交互に重ねて、これらが溶着される多層一体型遮水シートの端部同士を接続してなる遮水構造体を管理型海面処分場内の少なくとも護岸側面に敷設する、遮水構造体の施工方法、及び該施工方法にて使用される圧着機に関するものである。
続きを表示(約 2,700 文字)
【背景技術】
【0002】
一般廃棄物や、産業廃棄物である焼却灰や石炭灰、その他廃棄物は、例えば海面の管理型処分場に埋め立てられている。管理型海面処分場は、当該管理型海面処分場内の水が管理型海面処分場外に漏出しないように、管理型海面処分場として区画する、例えば傾斜堤護岸や混成堤護岸の側面、及び当該管理型海面処分場内の海底面に、遮水シート及び保護マットを有する遮水構造体が敷設されて構成される。遮水シートは、法令上、二重に設置する必要がある。これは、埋立材として投入される廃棄物により、一方の遮水シートが損傷しても、他方の遮水シートが損傷していなければ、管理型海面処分場内の汚染された可能性のある廃棄物や廃棄物が触れる保有水が、管理型海面処分場外に漏出することを防止できる、というフェイルセーフの設計思想に基づいたものである。
【0003】
この二枚の遮水シート上には砕石などを投入し、遮水シートが浮き上がらないように施工されている。堤側にある一枚目の遮水シート上には、堤外からの波圧や、堤内外の水位差による静水圧が比較的大きな外力になるため、砕石等によるおもしは分厚く配置されている。一方で、一枚目の遮水シートより堤内側に敷設される二枚目の遮水シートには大きな揚圧力は作用しないため、二枚目の遮水シート上の砕石断面は1m厚程度の薄層としている事例が多い。また、二枚の遮水シートを別々に設置している理由としては、施工時の不確実な事由から、どちらかの遮水シートから漏出する箇所がわずかに生じていても、別途施工される遮水シートにて遮水ができていれば、管理型海面処分場外への負荷は生じないこととなるためである。
【0004】
また、この管理型海面処分場に投入される廃棄物が、鉄筋や鉄骨、コンクリート片などといった堤内側に敷設された二枚目の遮水シートを損傷させる可能性のある場合には、二枚目の遮水シートの下方にある一枚目の遮水シートが健全であれば管理型海面処分場外への漏洩は生じない。そして、施工実績が積み重ねられた近年では、施工上の確実性が向上している。そのため、石炭灰等の遮水シートが損傷する可能性が低い廃棄物を埋め立てている管理型海面処分場においては、二重の遮水シートを一体化させて敷設する事例がでてきた。そこで、敷設された状態での遮水シートの下面には、遮水シートを敷設する下地面に配置される基盤材料からの遮水シートの損傷を防ぐ保護マットが配置され、一方、遮水シートの上面にも、遮水シート上に設置される載荷材料からの遮水シートの損傷を防ぐために保護マットが配置される。
【0005】
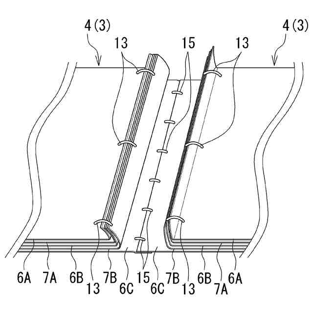
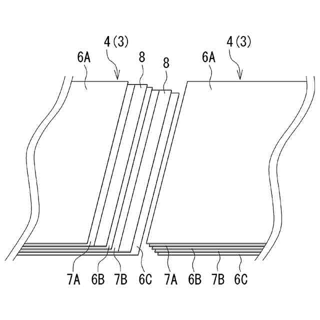
二重の遮水シートを一体化させるためには、上下の保護マットを含めて一体化させる必要がある。そして、図2を参照して、敷設状態で、上から保護マット6A/遮水シート7A/保護マット6B/遮水シート7B/保護マット6Cからなる五層構造で構成された多層一体型遮水シート3が採用されている。この多層一体型遮水シート3を、上記一枚目の遮水シートと同じ位置に配置し、波圧と静水圧による揚圧力に対応できる大きな荷重を得るために分厚い砕石等を設置することで、仮に鉄筋等が埋め立てられても、多層一体型遮水シート3が損傷するリスクはない。当該多層一体型遮水シート3を採用することで、材料費や敷設手間が削減されるため、このような遮水構造が今後望まれている。
【0006】
上述の多層一体型遮水シート3を製造するには、まず、遮水シート7A、7B及び保護マット6A、6B、6Cが、それぞれの製造工場にて幅約2mの原反として製造される。続いて、加工工場にて、これら遮水シート7A、7B及び保護マット6A、6B、6Cの原反から帯状の遮水シート7A、7B及び保護マット6A、6B、6Cを繰り出し、図2を参照して、上から保護マット6A/遮水シート7A/保護マット6B/遮水シート7B/保護マット6Cの各層間を部分的に溶着することで、図3も参照して、多層一体型遮水シート3(幅2m)の原反が製造される。この多層一体型遮水シート3は、ロール状に巻き取られて梱包される。
【0007】
そして、複数の多層一体型遮水シート3の梱包ロールが加工工場や管理型海面処分場に搬入され、図3を参照して、敷設場所近傍の陸上ヤード、もしくは大型艤装船上にて、帯状の多層一体型遮水シート3、3の幅方向端部同士を各層それぞれ重ねた状態で溶着により接続することで、幅約6~30m程度の大きなパネル状(略矩形状)の部分遮水構造体4に広幅加工される(特許文献1も参照)。
【0008】
続いて、従来では、図22及び図23を参照して、この部分遮水構造体4、4が複数、多数の浮き具90、90が装着された状態で管理型海面処分場5内の海面上に引き出されて、各部分遮水構造体4、4が各浮き具90、90により海面上に浮遊係留にて仮置きされると共に、隣接する部分遮水構造体4、4の幅方向端部同士が海面上、すなわち、護岸気中部または海上溶着台船上でさらに溶着される。その後、図23及び図24を参照して、対象面積の全てを覆う一枚の遮水構造体1(シート)とするまでの期間は、多数の浮き具90、90にて浮遊係留された状態であり、一枚の遮水構造体1とした後、最終的に、多数の浮き具90、90を外しながら、管理型海面処分場5の護岸側面及び海底面に沈設して敷設される。
【先行技術文献】
【特許文献】
【0009】
特許第6990625号公報
【発明の概要】
【発明が解決しようとする課題】
【0010】
しかしながら、図2、図3、図23及び図24を参照して、従来では、複数の部分遮水構造体4、4が海面上に引き出されて、隣接する部分遮水構造体4、4の端部同士を溶着した後、一枚の遮水構造体1として沈設するまでの期間が約一か月間程度、もしくはそれ以上となることがあり、この期間に高波浪が来襲すると、部分遮水構造体4、4が護岸に打ち上げられるなど被災する可能性がある。このように、複数の部分遮水構造体4、4の浮遊係留が長期間となる場合には,複数の部分遮水構造体4、4(複数の多層一体型遮水シート3、3を接続してなるもの)の遮水シート7A、7Bの端部も含め、一旦沈設させておく方法があるが,隣接する部分遮水構造体4、4の遮水シート7A、7Bを接続する際に,沈設させた部分遮水構造体4、4の遮水シート7A、7Bの端部を再度浮上させる必要があり相当な手間がかかり、作業性が悪化して、工期も長期間となる。
(【0011】以降は省略されています)
この特許をJ-PlatPat(特許庁公式サイト)で参照する
関連特許
東洋建設株式会社
プレキャスト梁部材の接合構造及び接合方法
2か月前
東洋建設株式会社
管理型海面処分場での二酸化炭素固定方法及び二酸化炭素固定装置
1か月前
富士通株式会社
衝突リスク予測プログラム、衝突リスク予測方法及び衝突リスク予測装置
2か月前
トヨタ自動車株式会社
空箱処理装置
3か月前
トヨタ自動車株式会社
空箱処理装置
3か月前
ダイハツ工業株式会社
発酵システム
3か月前
花王株式会社
焼却灰の処理方法
2か月前
花王株式会社
焼却灰の処理方法
2か月前
テクニカ合同株式会社
廃棄鶏の処理方法
2か月前
トヨタ自動車株式会社
バイオ炭製造方法
2か月前
個人
有機材料製造装置
16日前
株式会社トクヤマ
石膏粒体のか焼方法
2か月前
株式会社シーパーツ
自動車解体破砕方法
1か月前
清水建設株式会社
汚染拡散防止構造
2か月前
株式会社マクニカ
乾熱減容処理装置
3か月前
清水建設株式会社
加熱井戸の設置方法
2か月前
学校法人東京農業大学
メタンガスの製造方法
3か月前
鹿島建設株式会社
土壌の浄化方法
3か月前
清水建設株式会社
遮水層構築の降雨対策方法
23日前
株式会社クリンテック
熱分解炉
23日前
株式会社LIXIL
汚物処理装置
1か月前
株式会社クボタ
メタン発酵装置およびメタン発酵処理方法
5か月前
個人
太陽光電池モジュール資源回収方法
2日前
極東開発工業株式会社
廃棄物処理装置
4か月前
日本シーム株式会社
容器処理装置
3日前
日本シーム株式会社
容器処理装置
3日前
国立大学法人東北大学
重金属の不溶化方法
1か月前
九電産業株式会社
樹脂複合製品の製造方法
2か月前
トヨタ自動車株式会社
乾燥処理装置
3か月前
株式会社大林組
有機フッ素化合物の浄化方法
4か月前
株式会社エネアグリ
乾式メタン発酵システムおよび乾式メタン発酵方法
1か月前
王子ホールディングス株式会社
ベールの製造方法
1か月前
株式会社エネアグリ
乾式メタン発酵システムおよび乾式メタン発酵方法
1か月前
株式会社神鋼環境ソリューション
メタン発酵装置、及び、メタン発酵方法
1か月前
株式会社トクヤマ
廃石膏ボードから紙片と石膏粒体を回収する方法
2か月前
JFEエンジニアリング株式会社
焼却灰貯留装置
24日前
続きを見る
他の特許を見る