TOP
|
特許
|
意匠
|
商標
特許ウォッチ
Twitter
他の特許を見る
10個以上の画像は省略されています。
公開番号
2025108160
公報種別
公開特許公報(A)
公開日
2025-07-23
出願番号
2024001889
出願日
2024-01-10
発明の名称
搬送ロボットの運用方法および搬送システム
出願人
株式会社FUJI
代理人
弁理士法人アイテック国際特許事務所
主分類
G05D
1/622 20240101AFI20250715BHJP(制御;調整)
要約
【課題】生産効率の低下を抑制する。
【解決手段】搬送ロボットの運用方法は、予め定められた走行ルートを走行して生産システムに必要な部材を搬送すると共に、走行中に周囲の障害物を検知すると制限走行を行なう搬送ロボットの運用方法であって、搬送ロボットが障害物を検知したときの搬送ロボットの位置を記憶し、搬送ロボットが同じ位置または所定の範囲内で障害物を複数回検知した場合に障害物を取り除くことを促すための報知を行なう。
【選択図】図7
特許請求の範囲
【請求項1】
予め定められた走行ルートを走行して生産システムに必要な部材を搬送すると共に、走行中に周囲の障害物を検知すると制限走行を行なう搬送ロボットの運用方法であって、
前記搬送ロボットが障害物を検知したときの該搬送ロボットの位置を記憶し、
前記搬送ロボットが同じ位置または所定の範囲内で障害物を複数回検知した場合に当該障害物を取り除くことを促すための報知を行なう、
搬送ロボットの運用方法。
続きを表示(約 740 文字)
【請求項2】
請求項1に記載の搬送ロボットの運用方法であって、
前記搬送ロボットが前記同じ位置または前記所定の範囲内で、所定時間以上の時間を隔てて障害物を複数回検知した場合に、前記報知を行なう、
搬送ロボットの運用方法。
【請求項3】
請求項1または2に記載の搬送ロボットの運用方法であって、
前記搬送ロボットが予め設定された非報知範囲内で障害物を検知しても、前記報知を行なわない、
搬送ロボットの運用方法。
【請求項4】
請求項1または2に記載の搬送ロボットの運用方法であって、
前記搬送ロボットに周囲の画像を撮像可能なカメラを設け、
前記搬送ロボットが障害物を検出した場合に、前記カメラで撮像した前記障害物の画像を表示する、
搬送ロボットの運用方法。
【請求項5】
請求項1または2に記載の搬送ロボットの運用方法であって
前記制限走行は、減速走行である、
搬送ロボットの運用方法。
【請求項6】
周囲の障害物を検知可能なセンサが設けられ、予め定められた走行ルートを走行して生産システムに必要な部材を搬送すると共に、走行中に前記センサによって周囲の障害物が検知されると制限走行を行なう搬送ロボットと、
前記走行ルートに対する前記搬送ロボットの位置を取得する位置取得部と、
前記センサにより障害物が検知されたときの該搬送ロボットの位置を記憶する記憶部と、
前記センサにより同じ位置または所定の範囲内で障害物が複数回検知された場合に当該障害物を取り除くことを促すための報知を行なう報知部と、
を備える搬送システム。
発明の詳細な説明
【技術分野】
【0001】
本明細書は、搬送ロボットの運用方法および搬送システムについて開示する。
続きを表示(約 1,500 文字)
【背景技術】
【0002】
従来、複数の部品実装機と、各部品実装機との間でフィーダの交換を行なう交換ロボットと、管理装置とを備える生産システムが提案されている(例えば、特許文献1)。この生産システムにおいて、交換ロボットは、走行ルート上で障害物を検知すると停止する。また、管理装置は、交換ロボットが走行を停止してからの経過時間を計測すると共に経過時間に基づいて残り時間を算出する。残り時間は、交換ロボットが予定時刻までにフィーダの交換作業を完了させるために移動を再開しなければならない時刻までの時間である。また、管理装置は、残り時間が所定時間よりも短い場合に、残り時間に応じた態様の報知をする。
【先行技術文献】
【特許文献】
【0003】
特開2021-73730号公報
【発明の概要】
【発明が解決しようとする課題】
【0004】
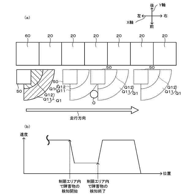
ところで、生産システムに適用される交換ロボットには、障害物を検知すると制限走行をするタイプのものもある。そのようなタイプ交換ロボットは、障害物を検知してもフィーダの交換作業を行なうことができるものの、繰り返し障害物を検知して制限走行を行なうことによってフィーダの交換に時間を要し、生産システム全体での生産効率が低下するおそれがある。
【0005】
本開示は、生産効率の低下を抑制することを主目的とする。
【課題を解決するための手段】
【0006】
本開示は、上述の主目的を達成するために以下の手段を採った。
【0007】
本開示の搬送ロボットの運用方法は、
予め定められた走行ルートを走行して生産システムに必要な部材を搬送すると共に、走行中に周囲の障害物を検知すると制限走行を行なう搬送ロボットの運用方法であって、
前記搬送ロボットが障害物を検知したときの該搬送ロボットの位置を記憶し、
前記搬送ロボットが同じ位置または所定の範囲内で障害物を複数回検知した場合に当該障害物を取り除くことを促すための報知を行なう、
ことを要旨とする。
【0008】
この搬送ロボットの運用方法によれば、搬送ロボットが同じ位置または所定の範囲内で障害物を複数回検知した場合に障害物を取り除くことを促すための報知を行なう。制限走行の原因となる障害物の撤去を促すことで、生産効率の低下を抑制することができる。また、同じ位置または所定範囲内で障害物が複数回検知されなければ報知を行なわないため、作業者の検知など一時的な検知に対して報知しないようにすることができる。
【0009】
本開示の搬送システムは、
周囲の障害物を検知可能なセンサが設けられ、予め定められた走行ルートを走行して生産システムに必要な部材を搬送すると共に、走行中に前記センサによって周囲の障害物が検知されると制限走行を行なう搬送ロボットと、
前記走行ルートに対する前記搬送ロボットの位置を取得する位置取得部と、
前記センサにより障害物が検知されたときの該搬送ロボットの位置を記憶する記憶部と、
前記センサにより同じ位置または所定の範囲内で障害物が複数回検知された場合に当該障害物を取り除くことを促すための報知を行なう報知部と、
を備えることを要旨とする。
【0010】
この搬送システムは、本開示の搬送ロボットの運用方法と同様の効果を奏する。
【図面の簡単な説明】
(【0011】以降は省略されています)
この特許をJ-PlatPat(特許庁公式サイト)で参照する
関連特許
株式会社FUJI
制御盤
2か月前
株式会社FUJI
工作機械
1か月前
株式会社FUJI
工作機械
1か月前
株式会社FUJI
部品実装機
1か月前
株式会社FUJI
対基板作業機
2か月前
株式会社FUJI
装着支援装置
4か月前
株式会社FUJI
テープガイド
15日前
株式会社FUJI
加工機械ライン
4か月前
株式会社FUJI
測定値処理装置
2か月前
株式会社FUJI
テープフィーダ
2か月前
株式会社FUJI
生産計画作成装置
24日前
株式会社FUJI
フィーダ制御装置
2か月前
株式会社FUJI
ストッカシステム
2か月前
株式会社FUJI
印刷装置及び印刷方法
1日前
株式会社FUJI
造形装置および造形方法
1か月前
株式会社FUJI
最適化装置および最適化方法
3か月前
株式会社FUJI
廃テープ搬送装置および実装装置
4か月前
株式会社FUJI
制御装置、印刷装置及び制御方法
9日前
株式会社FUJI
制御装置、印刷装置及び制御方法
1日前
株式会社FUJI
製造方法及び3次元造形システム
1か月前
株式会社FUJI
印刷装置及び印刷装置の制御方法
2か月前
株式会社FUJI
部品実装機及びテープ回収方法。
2か月前
株式会社FUJI
テープ剥離装置およびテープフィーダ
2か月前
株式会社FUJI
部品データの生成方法および生成装置
17日前
株式会社FUJI
電子部品装着方法、及び電子部品装着装置
11日前
株式会社FUJI
搬送ロボットの運用方法および搬送システム
4か月前
株式会社FUJI
部品実装機および異物の有無を判定する方法
10日前
株式会社FUJI
印刷品質管理システムおよび印刷品質管理方法
23日前
株式会社FUJI
造形装置およびディスペンサヘッドの制御方法
1か月前
株式会社FUJI
アラーム情報表示装置、及びアラーム情報表示システム
1か月前
株式会社FUJI
作業装置
2か月前
株式会社FUJI
交換装置
2か月前
株式会社FUJI
作業装置
22日前
株式会社FUJI
印刷装置
1日前
株式会社FUJI
モータ制御装置、装着ヘッド及びモータ制御装置の制御方法
3か月前
株式会社FUJI
サイクルタイム表示装置、及びサイクルタイム表示システム
1か月前
続きを見る
他の特許を見る