TOP
|
特許
|
意匠
|
商標
特許ウォッチ
Twitter
他の特許を見る
公開番号
2025080444
公報種別
公開特許公報(A)
公開日
2025-05-26
出願番号
2023193591
出願日
2023-11-14
発明の名称
表示素子
出願人
国立大学法人千葉大学
代理人
個人
,
個人
,
個人
,
個人
主分類
G02F
1/1524 20190101AFI20250519BHJP(光学)
要約
【課題】着消色の繰り返し安定性に優れる表示素子を提供する。
【解決手段】第1基板上に形成された第1電極と、第2基板上に形成され、第1電極と対向配置された第2電極と、第1電極と第2電極との間に配置された電解質層と、第1電極と第2電極に電圧印加手段により電圧が印加される表示素子であって、第2電極に、第1電極で進行する反応よりもよりカソーディックな電位で酸化還元を起こす低電位酸化還元物質が修飾されている。
【選択図】図1
特許請求の範囲
【請求項1】
第1基板上に形成された第1電極と、
第2基板上に形成され、前記第1電極と対向配置された第2電極と、
前記第1電極と前記第2電極との間に配置された電解質層と、
前記第1電極と前記第2電極に電圧印加手段により電圧が印加される表示素子であって、
前記第2電極に、前記第1電極で進行する反応よりもよりカソーディックな(より卑な)電位で酸化還元を起こす低電位酸化還元物質が修飾されていることを特徴とする表示素子。
続きを表示(約 420 文字)
【請求項2】
前記低電位酸化還元物質は、第2電極構成物質および前記電解質層に含まれる前記第1電極で反応する物質以外の物質よりもよりアノーディックな(より貴な)電位で酸化還元を起こすことを特徴とする請求項1に記載の表示素子。
【請求項3】
前記第2電極上に、前記第2電極構成物質のナノ粒子膜が形成されており、
前記ナノ粒子膜上に、前記低電位酸化還元物質が修飾されていることを特徴とする請求項1に記載の表示素子。
【請求項4】
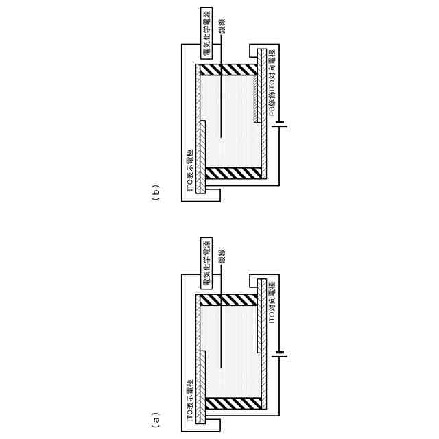
前記第2電極構成物質は、酸化インジウムスズ(ITO)であることを特徴とする請求項1に記載の表示素子。
【請求項5】
前記低電位酸化還元物質は、プルシアンブルー(PB)であることを特徴とする請求項1ないし4のいずれかに記載の表示素子。
【請求項6】
前記電解質層が、ハイドロゲルからなることを特徴とする請求項1に記載の表示素子。
発明の詳細な説明
【技術分野】
【0001】
本発明は、エレクトロクロミズムを利用した表示素子に関する。
続きを表示(約 1,600 文字)
【背景技術】
【0002】
電気化学的な酸化還元反応によって可逆的な色変化が生じる現象、すなわちエレクトロクロミズムを利用した表示素子の一例として、電気化学的な酸化還元反応によって透明状態と着色状態を作り出し、電子的な調光を実現することができるスマートウィンドウ(ECSW)が知られている。
【0003】
特許文献1には、臭化テトラブチルアンモニウム(TBAB)を含む電解質層を、一対の酸化インジウムスズ(ITO)透明導電性ガラス電極で挟み、電気化学的に酸化還元を行うことにより、可逆的な白色着色反応が起こすことができる表示素子が記載されており、太陽光を吸収せず、熱放出の問題を解決できる白色表示ECSWに応用可能である。
【先行技術文献】
【特許文献】
【0004】
特開2021-140123号公報(第5頁~第6頁、第1図)
【発明の概要】
【発明が解決しようとする課題】
【0005】
しかしながら、特許文献1の表示素子においては、白色着色反応を起こすために必要な電圧が大きく、白色状態と透明状態の可逆的な色調変化を起こす表示電極と対向する対向電極に大きな電位がかかってしまうことから、電気抵抗の増加を伴う劣化が進行してしまい、繰り返しの色調変化に対して着消色が長続きしないという問題があった。
【0006】
本発明は、このような課題に着目してなされたもので、着消色の繰り返し安定性に優れる表示素子を提供することを目的とする。
【課題を解決するための手段】
【0007】
上記課題を解決する本発明の表示素子は、
第1基板上に形成された第1電極と、
第2基板上に形成され、前記第1電極と対向配置された第2電極と、
前記第1電極と前記第2電極との間に配置された電解質層と、
前記第1電極と前記第2電極に電圧印加手段により電圧が印加される表示素子であって、
前記第2電極に、前記第1電極で進行する反応よりもよりカソーディックな(より卑な)電位で酸化還元を起こす低電位酸化還元物質が修飾されていることを特徴としている。
この特徴によれば、第1電極における着消色反応を生じさせる際に、第2電極にかかる電位を低減させ、電気抵抗の増加を伴う劣化を抑制することができるため、着消色の繰り返し安定性に優れる。
【0008】
前記低電位酸化還元物質は、第2電極構成物質および前記電解質層に含まれる前記第1電極で反応する物質以外の物質よりもよりアノーディックな(より貴な)電位で酸化還元を起こすことを特徴としている。
この特徴によれば、第2電極にかかる電位をさらに低減させ、電気抵抗の増加を伴う劣化を抑制することができるため、着消色の繰り返し安定性にさらに優れる。
【0009】
前記第2電極上に、前記第2電極構成物質のナノ粒子膜が形成されており、
前記ナノ粒子膜上に、前記低電位酸化還元物質が修飾されていることを特徴としている。
この特徴によれば、第2電極上に形成されたナノ粒子膜により、第2電極の実表面積を増大させ、低電位酸化還元物質の修飾量を増加させることができるため、表示素子における通電電気量、最大到達吸光度および着消色の繰り返し耐久性を高めることができる。
【0010】
前記第2電極構成物質は、酸化インジウムスズ(ITO)であることを特徴としている。
この特徴によれば、ITOは一般的な酸化還元物質よりも酸化還元を起こす電位がよりカソーディックなため、低電位酸化還元物質として多くの物質を選択することができる。
(【0011】以降は省略されています)
特許ウォッチbot のツイートを見る
この特許をJ-PlatPat(特許庁公式サイト)で参照する
関連特許
国立大学法人千葉大学
抗真菌剤
6か月前
国立大学法人千葉大学
表示素子
4か月前
国立大学法人千葉大学
副室式エンジン
1か月前
国立大学法人千葉大学
フルコンバータ
1か月前
国立大学法人千葉大学
アンモニア吸蔵材
6か月前
国立大学法人千葉大学
照明器具及びフィルタ
3日前
国立大学法人千葉大学
成膜装置及び成膜方法
1か月前
国立大学法人千葉大学
自由エネルギーの計算方法
2か月前
国立大学法人千葉大学
設計支援装置および設計支援方法
5か月前
スタンレー電気株式会社
観測装置
1か月前
スタンレー電気株式会社
観測装置
4か月前
国立大学法人千葉大学
超音波造影装置および超音波造影方法
6か月前
キッコーマン株式会社
酪酸菌の生育促進剤
5か月前
国立大学法人千葉大学
樹脂用可塑剤として有用な新規イソソルビド誘導体
25日前
国立大学法人千葉大学
架橋構造を有する脂肪族ポリカーボネートの製造方法
25日前
キッコーマン株式会社
酪酸又は乳酸の産生量増強剤
5か月前
国立大学法人千葉大学
画像処理装置、画像機器、画像処理方法、及びプログラム
2か月前
国立大学法人千葉大学
エポキシド類製造用触媒、及び、エポキシド類の製造方法
10日前
国立大学法人千葉大学
エネルギー準位決定方法およびエネルギー準位決定システム
7か月前
国立大学法人千葉大学
粒子体検出装置、粒子体検出方法及び粒子体検出プログラム
1か月前
国立大学法人千葉大学
画像処理装置、画像処理システム、画像処理方法及びプログラム
26日前
国立大学法人千葉大学
サリチリデンアミノピリジンと二置換ホウ素から形成される発光材料
6か月前
国立大学法人千葉大学
アンジオテンシン変換酵素II(ACE2)に対する高親和性モノクローナル抗体
6か月前
日清紡ホールディングス株式会社
培養液、イチゴ栽培施設およびイチゴ栽培方法
4か月前
岡本化学工業株式会社
カチオン重合開始剤およびそれを用いた光学的立体造形用組成物
28日前
国立大学法人千葉大学
炭素繊維強化樹脂とガラス繊維強化樹脂とを含む材料組成物から炭素繊維を回収する方法
26日前
国立大学法人千葉大学
水素発生触媒、水素発生触媒の活性化用組成物、水素発生装置および水素発生触媒の活性化方法
27日前
国立大学法人千葉大学
R-ケタミンおよびその塩の医薬品としての応用
5か月前
国立大学法人千葉大学
副作用情報検索システム、副作用情報検索装置、副作用情報検索方法、及びコンピュータプログラム
1か月前
国立大学法人千葉大学
水素発生合金、水素発生合金の使用方法、マグネシウム電池用負極材、発電用水素発生剤、水素吸蔵合金及びポーラス金属材
1か月前
国立大学法人千葉大学
医療情報提供システム、サーバ、医療情報提供装置、医療情報提供媒体、医療情報提供方法及びプログラム
6か月前
国立大学法人千葉大学
コロイド結晶構造の作製方法、コロイド結晶構造の転写方法、転写物、コロイド粒子、コロイド結晶構造、コロイド結晶膜およびコロイド結晶構造を作製するための組成物
4か月前
カンタツ株式会社
光学系
28日前
日本精機株式会社
表示装置
1か月前
日本精機株式会社
表示装置
1か月前
キヤノン株式会社
映像表示装置
17日前
続きを見る
他の特許を見る