TOP
|
特許
|
意匠
|
商標
特許ウォッチ
Twitter
他の特許を見る
10個以上の画像は省略されています。
公開番号
2025078018
公報種別
公開特許公報(A)
公開日
2025-05-19
出願番号
2024186694
出願日
2024-10-23
発明の名称
地盤改良工法
出願人
ケミカルグラウト株式会社
,
国立大学法人 東京大学
代理人
個人
,
個人
主分類
E02D
3/12 20060101AFI20250512BHJP(水工;基礎;土砂の移送)
要約
【課題】地下水位以深に適用できる、微生物を用いた炭酸カルシウムの析出による地盤の固化技術を確立する。
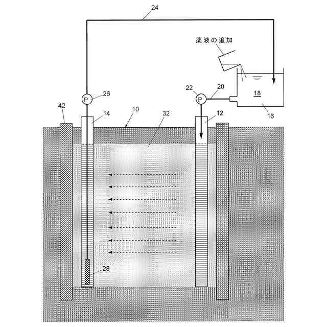
【解決手段】地盤10に注水井戸12及び揚水井戸14を構築する工程と、供給タンク16内に含酸素有機物及びカルシウム塩を含む薬液を充填する工程と、薬液を注水井戸12から地盤中に放出すると共に、揚水井戸14から吸引して供給タンク16に戻すことにより、薬液の循環経路を形成する工程と、地盤中の微生物を用い、含酸素有機物を嫌気環境下で発酵させることや酸化還元反応で分解すること(嫌気性代謝)によって二酸化炭素を発生させ、この二酸化炭素とカルシウム塩との反応により、地盤中に炭酸カルシウムよりなる固化体32を形成する工程からなる地盤改良工法。当初はカルシウム塩の濃度を比較的低く抑えた低濃度薬液を用いて微生物の活性化を促し、活性化期間が終了した時点で、カルシウム塩の濃度を高めた高濃度薬液を用い、炭酸カルシウムの析出効率を高める。
【選択図】図3
特許請求の範囲
【請求項1】
地盤に注水井戸及び揚水井戸を構築する工程と、
供給タンク内に含酸素有機物及びカルシウム塩を含む薬液を充填する工程と、
この薬液を上記注水井戸から地盤中に放出すると共に、上記揚水井戸から吸引して上記供給タンクに戻すことにより、地盤中に薬液の循環経路を形成する工程と、
地盤中の微生物により、上記含酸素有機物を嫌気環境下で発酵させることやその他の嫌気性代謝によって二酸化炭素を発生させ、この二酸化炭素と上記カルシウム塩との反応により、地盤中に炭酸カルシウムよりなる固化体を形成する工程と、
からなる地盤改良工法であって、
開始当初は上記カルシウム塩の濃度を比較的低く抑えた低濃度薬液を用いて微生物の活性化を促進させ、
所定の活性化期間が終了した時点で、上記カルシウム塩の濃度を当初よりも高めた高濃度薬液を用いて炭酸カルシウムの析出効率を高めることを特徴とする地盤改良工法。
続きを表示(約 1,400 文字)
【請求項2】
遮水壁で囲まれた地盤に注水井戸及び揚水井戸を構築する第1の工程と、
供給タンク内に含酸素有機物及びカルシウム塩を含む薬液を充填する第2の工程と、
この薬液を上記注水井戸から放出して地盤内に拡散させる第3の工程と、
地盤中の微生物により、上記含酸素有機物を嫌気環境下で発酵させることやその他の嫌気性代謝によって二酸化炭素を発生させ、この二酸化炭素と上記カルシウム塩との反応により、地盤中に炭酸カルシウムを析出させる第4の工程と、
所定の養生期間経過後、上記揚水井戸を介して土壌内の薬液を回収し、上記供給タンク内に戻す第5の工程とを有し、
地盤中に炭酸カルシウムの固化体が形成されるまで、上記第3~第5の工程を繰り返す地盤改良工法であって、
開始当初は上記カルシウム塩の濃度を比較的低く抑えた低濃度薬液を用いて微生物の活性化を促進させ、
所定の活性化期間が終了した時点で、上記カルシウム塩の濃度を当初よりも高めた高濃度薬液を用いて炭酸カルシウムの析出効率を高めることを特徴とする地盤改良工法。
【請求項3】
上記供給タンクに対して薬液が適宜補充され、必要な薬液濃度及び薬液量が確保されることを特徴とする請求項1または2に記載の地盤改良工法。
【請求項4】
微生物による嫌気性代謝によって生じた窒素ガスが、上記揚水井戸を介して地上に排出されることを特徴とする請求項1または2に記載の地盤改良工法。
【請求項5】
地盤に注水井戸を構築する工程と、
培養タンク内に、上記地盤の土壌と、含酸素有機物及び比較的低濃度のカルシウム塩を含む低濃度薬液を充填し、所定の期間、嫌気条件下で土壌中の微生物を活性化させる工程と、
活性化された微生物を含む低濃度薬液を供給タンク内に移送する工程と、
供給タンクにカルシウム塩を追加投入することにより、上記薬液を含酸素有機物と比較的高濃度のカルシウム塩を含む高濃度薬液となす工程と、
この高濃度薬液及び活性化された微生物を上記注水井戸から地盤中に放出する工程と、
活性化された微生物により、上記含酸素有機物を嫌気環境下で発酵させることやその他の嫌気性代謝によって二酸化炭素を発生させ、この二酸化炭素と上記カルシウム塩との反応により、地盤中に炭酸カルシウムよりなる固化体を形成する工程と、
からなる地盤改良工法。
【請求項6】
上記地盤にはエア抜き井戸が構築されており、
微生物による嫌気性代謝によって生じた窒素ガスが、上記エア抜き井戸を介して地上に排出されることを特徴とする請求項5に記載の地盤改良工法。
【請求項7】
上記供給タンクに対し、上記培養タンクから活性化された微生物を含む低濃度薬液が適宜補充されると共に、カルシウム塩が追加投入されることにより、必要な薬液濃度及び薬液量が確保されることを特徴とする請求項5または6に記載の地盤改良工法。
【請求項8】
上記高濃度薬液中に、金属成分が含まれていることを特徴とする請求項1、2または5に記載の地盤改良工法。
【請求項9】
上記金属成分が、鉄であることを特徴とする請求項8に記載の地盤改良工法。
発明の詳細な説明
【技術分野】
【0001】
この発明は地盤改良工法に係り、特に、微生物の発酵やその他の嫌気性代謝を用いて土壌中に炭酸カルシウムよりなる固化体を形成する工法に関する。
続きを表示(約 2,400 文字)
【背景技術】
【0002】
従来、軟弱または含水量の高い地質・地盤の改良には、主としてセメント系固化材が利用されてきたが、昨今の二酸化炭素排出量削減の要請から、微生物を用いた環境負荷の比較的低い地盤改良工法の実用化が期待されている。
【0003】
例えば、特許文献1においては、培養した石灰化細菌(ウレアーゼ産生微生物)を栄養源、尿素、カルシウム源と共に地盤に注入することによって炭酸イオンを生成し、地盤を固化する技術が開示されている。
また、特許文献2には、微生物代謝で発生する窒素ガスや二酸化炭素ガスによって地盤の水飽和度を低下させることで液状化抵抗を高め、あるいは微生物を利用して粘度の高いバイオフィルムを地盤の間隙水中に生成させ、その粘性増加によって液状化抵抗を高める技術が開示されている。
特許文献3には、含酸素有機物及びカルシウム塩を土壌に添加し、土壌中に存在する微生物の嫌気性代謝を用いて形成した炭酸カルシウムにより、土壌の粒子間を架橋する地盤の強化技術が開示されている。
【0004】
特許第5140879号公報
特許第5148764号公報
特開2022-043735号公報
【発明の概要】
【発明が解決しようとする課題】
【0005】
しかしながら、特許文献1の技術は石灰化細菌が排出するウレアーゼ酵素の触媒作用によって尿素を分解し、炭酸イオンを生成するという好気性の反応を前提とするものであり、地下水位以深の地盤には適用できないという問題があった。
また、特許文献2の技術については、微生物代謝による窒素ガスや二酸化炭素ガスが土壌の間隙中に留まり続けるとは限らず、バイオフィルムに関しても栄養の供給が絶たれれば消滅する可能性があり、何れにしてもその恒久性について疑問が残る。
特許文献3の技術の場合、微生物の嫌気性発酵を利用するため地下水位以深の地盤に適用できる点で評価でき、炭酸カルシウムの析出も確認されているが、地盤改良工法としての実用性を高めるためには、さらなる改良の余地があった。
【0006】
この発明は、このような現状に鑑みて案出されたものであり、地下水位以深に適用できる、微生物を用いた炭酸カルシウムの析出による地盤の固化技術を確立することを目的としている。
【課題を解決するための手段】
【0007】
上記の目的を達成するため、この発明に係る第1の地盤改良工法は、地盤に注水井戸及び揚水井戸を構築する工程と、供給タンク内に含酸素有機物及びカルシウム塩を含む薬液を充填する工程と、この薬液を上記注水井戸から地盤中に放出すると共に、上記揚水井戸から吸引して上記供給タンクに戻すことにより、地盤中に薬液の循環経路を形成する工程と、地盤中の微生物により、上記含酸素有機物を嫌気環境下で発酵させることやその他の嫌気性代謝(酸化還元反応による分解等)よって二酸化炭素を発生させ、この二酸化炭素と上記カルシウム塩との反応により、地盤中に炭酸カルシウムよりなる固化体を形成する工程とからなる地盤改良工法であって、工法の開始当初は上記カルシウム塩の濃度を比較的低く抑えた低濃度薬液を用いて微生物の活性化を促進させ、所定の活性化期間が終了した時点で、上記カルシウム塩の濃度を当初よりも高めた高濃度薬液を用いて炭酸カルシウムの析出効率を高めることを特徴としている。
【0008】
この発明に係る第2の地盤改良工法は、遮水壁で囲まれた地盤に注水井戸及び揚水井戸を構築する第1の工程と、供給タンク内に含酸素有機物及びカルシウム塩を含む薬液を充填する第2の工程と、この薬液を上記注水井戸から放出して地盤内に拡散させる第3の工程と、地盤中の微生物により、上記含酸素有機物を嫌気環境下で発酵させることやその他の嫌気性代謝によって二酸化炭素を発生させ、この二酸化炭素と上記カルシウム塩との反応により、地盤中に炭酸カルシウムを析出させる第4の工程と、所定の養生期間経過後、上記揚水井戸を介して土壌内の薬液を回収し、上記供給タンク内に戻す第5の工程とを有し、地盤中に炭酸カルシウムの固化体が形成されるまで、上記第3~第5の工程を繰り返す地盤改良工法であって、工法の開始当初は上記カルシウム塩の濃度を比較的低く抑えた低濃度薬液を用いて微生物の活性化を促進させ、所定の活性化期間が終了した時点で、上記カルシウム塩の濃度を当初よりも高めた高濃度薬液を用いて炭酸カルシウムの析出効率を高めることを特徴としている。
【0009】
この発明に係る第3の地盤改良工法は、地盤に注水井戸を構築する工程と、培養タンク内に、上記地盤の土壌と、含酸素有機物及び比較的低濃度のカルシウム塩を含む低濃度薬液を充填し、所定の期間、嫌気条件下で土壌中の微生物を活性化させる工程と、活性化された微生物を含む低濃度薬液を供給タンク内に移送する工程と、供給タンクにカルシウム塩を追加投入することにより、上記薬液を含酸素有機物と比較的高濃度のカルシウム塩を含む高濃度薬液となす工程と、この高濃度薬液及び活性化された微生物を上記注水井戸から地盤中に放出する工程と、活性化された微生物により、上記含酸素有機物を嫌気環境下で発酵させることやその他の嫌気性代謝によって二酸化炭素を発生させ、この二酸化炭素と上記カルシウム塩との反応により、地盤中に炭酸カルシウムよりなる固化体を形成する工程とからなることを特徴としている。
【0010】
上記高濃度薬液中に、鉄やニッケル、コバルト、マンガン等の金属成分(金属の粉体、金属化合物、金属酸化物、金属水酸化物、金属イオン含有水溶液等)を含有させることが望ましい。
【発明の効果】
(【0011】以降は省略されています)
特許ウォッチbot のツイートを見る
この特許をJ-PlatPat(特許庁公式サイト)で参照する
関連特許
株式会社熊谷組
山留壁用親杭
5日前
株式会社熊谷組
地盤改良方法
8日前
日立建機株式会社
作業機械
6日前
日本車輌製造株式会社
建設機械
1日前
日立建機株式会社
建設機械
6日前
日立建機株式会社
建設機械
6日前
日立建機株式会社
作業機械
5日前
日立建機株式会社
作業機械
5日前
日立建機株式会社
作業車両
1日前
日立建機株式会社
作業機械
5日前
鹿島建設株式会社
接続方法および接続構造
1日前
カナデビア株式会社
サクション基礎
6日前
ライト工業株式会社
鉄筋保持用治具
6日前
株式会社竹内製作所
作業用車両
5日前
株式会社竹内製作所
作業用車両
5日前
株式会社竹内製作所
作業用車両
5日前
株式会社竹内製作所
作業用車両
5日前
JFEスチール株式会社
鋼管矢板の継手構造
6日前
株式会社日立建機ティエラ
建設機械
7日前
山形新興株式会社
建築物の基礎及び基礎成形型
今日
浙江工業大学
多機能土柱モデル装置及び使用方法
12日前
清水建設株式会社
遮水層の構築方法
5日前
清水建設株式会社
免震装置の基礎構造
6日前
ヤンマーホールディングス株式会社
作業機械
8日前
コベルコ建機株式会社
施工システム
5日前
日立建機株式会社
建設機械
8日前
日立建機株式会社
作業機械
12日前
清水建設株式会社
水制御システム
6日前
日立建機株式会社
作業機械
6日前
日立建機株式会社
作業機械
5日前
日立建機株式会社
作業機械
5日前
日立建機株式会社
作業機械
8日前
日立建機株式会社
作業車両
8日前
日立建機株式会社
作業車両
8日前
日立建機株式会社
作業機械
6日前
株式会社大林組
地下外壁の形成方法及び地下外壁
7日前
続きを見る
他の特許を見る