TOP
|
特許
|
意匠
|
商標
特許ウォッチ
Twitter
他の特許を見る
10個以上の画像は省略されています。
公開番号
2025076589
公報種別
公開特許公報(A)
公開日
2025-05-16
出願番号
2023188231
出願日
2023-11-02
発明の名称
回転機械およびこれを用いた装置
出願人
株式会社シロハチ
代理人
個人
主分類
B24B
55/06 20060101AFI20250509BHJP(研削;研磨)
要約
【課題】工作作業に関わる器具の回転に伴って発生した粉塵が拡散するのを防止する。
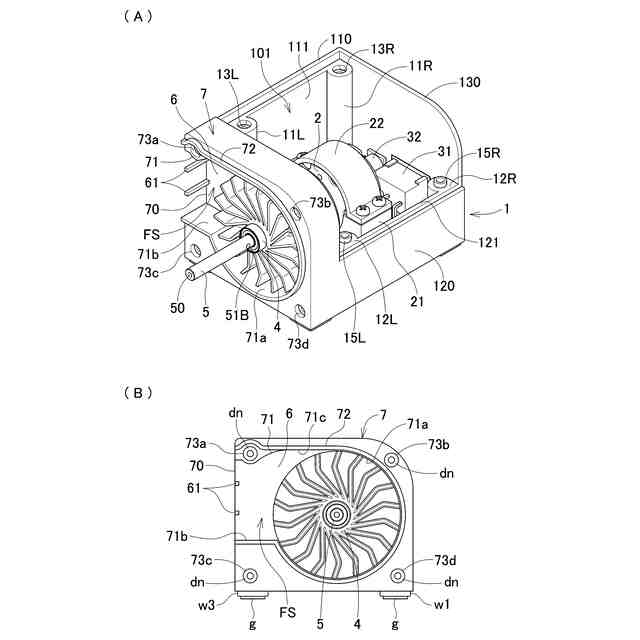
【解決手段】軸方向を水平方向に沿わせて支持されたモータ2の出力軸に対向する位置に、ファン収容部100が立設される。ファン収容部100のモータ2の収容部101との間に立設される隔壁部6の中心位置より前方に位置ずれした場所に軸孔が設けられ、隔壁部6から延び出て遠心ファン4が入る空間を形成する延出部7の背面部に排気孔となる切欠き部70が設けられる。延出部7の開口面に取り付けられるファンカバーの軸孔に対向する場所にも軸孔が設けられると共に、別の場所に吸気孔が設けられる。モータ2にはファン収容部100を貫く長さの駆動軸5が連結され、各軸孔に通された駆動軸5の隔壁部6とファンカバーとの間の範囲に遠心ファン4が取り付けられ、駆動軸5のファンカバーから突き出た部分に工作作業に関わる器具が取り付けられる。
【選択図】図8
特許請求の範囲
【請求項1】
工作作業に関わる器具を回転可能に支持する機械であって、
モータおよび遠心ファンと、前記モータをその軸方向を水平方向に沿わせて支持するためのモータ支持部材と、当該モータ支持部材に支持されたモータの出力軸に連結される駆動軸と、前記遠心ファンを収容するためのファン収容部とを備え、
前記ファン収容部は、前記モータの出力軸に対向する位置に立設される隔壁部と、当該隔壁部から前記モータとは反対側に延び出て前記遠心ファンが入る空間を形成する延出部と、当該延出部に連なって前記隔壁部に対向するファンカバーとを備え、
前記隔壁部の中心位置より幅方向に位置ずれした場所に前記駆動軸を通すための軸孔が設けられ、前記ファンカバーの前記隔壁部の軸孔に対向する場所にも軸孔が設けられると共に当該ファンカバーの軸孔以外の場所に吸気用の孔が設けられ、前記延出部の前記隔壁部の中心位置に対して前記軸孔とは反対方向に離れて高さ方向に沿う部分に排気用の孔が設けられており、
前記モータの出力軸に連結された駆動軸は、前記隔壁部およびファンカバーの各々の軸孔に通されてファンカバーから突き出た状態となり、この駆動軸の前記隔壁部とファンカバーとの間の範囲に前記遠心ファンの軸部が取り付けられ、当該駆動軸のファンカバーから突き出た部分が前記工作作業に関わる器具を取り付ける場所となる、
回転機械。
続きを表示(約 1,600 文字)
【請求項2】
前記駆動軸の前記遠心ファンが入る空間の内部で前記隔壁部の軸孔の近傍になる位置と、当該空間の外側で前記ファンカバーの軸孔の近傍になる位置とに、それぞれ前記遠心ファンおよび前記器具の支持用のピン部材が軸方向に直交する方向に沿う姿勢をもって挿通されている、
請求項1に記載された回転機械。
【請求項3】
ブラシ毛が植え付けられた面または砥粒による凹凸面を外周面とする回転ドラムと、この回転ドラムを回転可能に支持する回転機械とを有する装置であって、
前記回転機械は、モータおよび遠心ファンと、前記モータをその軸方向を水平方向に沿わせて支持するためのモータ支持部材と、当該モータ支持部材に支持されたモータの出力軸に連結される駆動軸と、前記遠心ファンを収容するためのファン収容部とを備え、
前記ファン収容部は、前記モータの出力軸に対向する位置に立設される隔壁部と、当該隔壁部から前記モータとは反対側に延び出て前記遠心ファンが入る空間を形成する延出部と、当該延出部に連なって前記隔壁部に対向するファンカバーとを備え、
前記隔壁部の中心位置より幅方向に位置ずれした場所に前記駆動軸を通すための軸孔が設けられ、前記ファンカバーの前記隔壁部の軸孔に対向する場所にも軸孔が設けられると共に当該ファンカバーの軸孔以外の場所に吸気用の孔が設けられ、前記延出部の前記隔壁部の中心位置に対して前記軸孔とは反対方向に離れて高さ方向に沿う部分に排気用の孔が設けられており、
前記モータの出力軸に連結された駆動軸は、前記隔壁部およびファンカバーの各々の軸孔に通されてファンカバーから突き出た状態となり、この駆動軸の前記隔壁部とファンカバーとの間に前記遠心ファンの軸部が取り付けられ、当該駆動軸のファンカバーから突き出た部分に前記回転ドラムの軸部が取り付けられる、
清掃用または研削用の装置。
【請求項4】
工作作業に関わる器具と遠心ファンとが取り付けられる駆動軸と、この駆動軸を回転させるモータと前記遠心ファンとを支持する本体を構成する複数の部材と、前記遠心ファンとファンカバーと前記モータの駆動部とが、少なくとも含まれており、
前記本体は、前記モータを水平姿勢で支持するための支持部材が連結されるベース部と、当該ベース部および支持部材に支持されたモータの出力軸に対向する位置に立設される隔壁部と、当該隔壁部から前記モータとは反対側に延び出て前記遠心ファンが入る空間を形成する延出部とを備え、
前記隔壁部の中心位置より幅方向に位置ずれした場所に前記駆動軸を通すための軸孔が設けられると共に、前記延出部の前記隔壁部の中心位置に対して軸孔とは反対方向に離れて高さ方向に沿う部分に排気用の孔が設けられており、
前記ファンカバーは、前記隔壁部に対向するように前記延出部に連なって当該延出部に連結されるものであり、当該連結状態において前記隔壁部の軸孔に対向する場所に軸孔が設けられると共に、その軸孔以外の場所に吸気用の孔が設けられ、
前記駆動軸は、前記モータの出力軸に連結されて前記隔壁部およびファンカバーの各々の軸孔に通されたときにファンカバーから突き出るだけの長さを有し、この駆動軸の前記隔壁部とファンカバーとの間の範囲が前記遠心ファンの軸部を取り付ける場所となり、当該駆動軸のファンカバーから突き出た場所が前記工作作業に関わる器具を取り付ける場所となる、
回転機械またはこれを用いた装置の組立用キット。
【請求項5】
前記駆動軸の前記遠心ファンが入る空間の内部で前記隔壁部の軸孔の近傍になる位置と、当該空間の外側で前記ファンカバーの軸孔の近傍になる位置とに、それぞれ当該駆動軸の軸方向に直交する方向に沿うピン孔が形成され、
これらのピン孔に挿入される一対のピン部材がさらに含まれる、
請求項4に記載された回転機械またはこれを用いた装置の組立用キット。
発明の詳細な説明
【技術分野】
【0001】
本発明は、工作作業に関わる器具(工作作業に用いられる器具(工具)や、工具または加工される対象の部品もしくは加工作業により製作された物品を清掃するための器具)を回転可能に支える回転機械、および当該回転機械を用いた清掃用または加工用の装置に関する。
続きを表示(約 1,300 文字)
【背景技術】
【0002】
回転しながら処理対象の物品に接触することによって、当該物品の加工や清掃を行う機器や器具に関しては、数多くの公知例がある。それらの中から以下の4つの特許文献を選択し、開示されている内容を簡単に説明する。
【0003】
特許文献1には、円柱に近い形態の棒状体の外周面および一端面を硬質粒子が蝋付け接合された研削面とし、他端部が電動グラインダーの回転駆動装置の回転軸に連結される構成の切削工具が開示されている。この切削工具は、さび等を除去する素地調整処理に使用されるものである
【0004】
特許文献2には、扁平な円盤状のカッター本体の円形面の周縁部に高硬度の刃先を有する研削チップが設けられ、研削チップとは反対側の面の中心部にディスクグラインダーの回転駆動軸への取り付け軸が立設された構成の工具が開示されている。この工具は、金属製構築物の表面に被着された旧塗膜を剥離して下地金属面を研磨する処理に使用されるものである。
【0005】
特許文献3には、ガラス基板を研磨する研磨盤の上方に、自転軸を有するディスクに植毛が施されてなるブラシを上下動自在に配置して、研磨盤が回転している状態下でブラシを下降させて、研磨盤の上面に装着されている研磨布にブラシの植毛部の先端を摺接させる方法により、研磨布の目詰まりを除去することが記載されている。
【0006】
特許文献4には、ハンドルに回転自在に装着されるローラの外周部に、粘着性および可撓性を有する線材からなるブラシが植毛されたブラシシートが着脱自在に装着された構成の清掃器具が開示されている。この清掃器具は、手作業でローラを回転させて、ブラシを接触させた被清掃面の埃を除去するものである。
【先行技術文献】
【特許文献】
【0007】
特開2019-69482号公報
特許7336797号公報
特開2004-268149号公報
特開2014-24036号公報
【発明の概要】
【発明が解決しようとする課題】
【0008】
特許文献1~3に記載されているような電動で回転する工具や装置は、大がかりなものづくりの現場で使用されるものであるが、個人レベルで模型工作などの手作業による製作を行う人たちも、清掃用の器具や加工用の器具を電動で回転させることには大きな関心を寄せ、そのような機能を持つ機械があれば入手したいと考える可能性が高い。
【0009】
しかし、電動で回転する器具を用いて目詰まり除去や研削などの作業を行う場合、対象の物品から剥がれた細かい屑が粉塵となって広い範囲に拡散することが予想される。個人が行う作業は、自宅など、粉塵が拡散することが好ましくない場所で行われることが多いため、その拡散を防ぐ対策が必要である。
【0010】
本発明は上記の問題に着目し、清掃作業または加工作業に用いられる器具を回転させながら、当該器具を用いた作業によって発生した粉塵が拡散するのを防ぐことを、課題とする。
【課題を解決するための手段】
(【0011】以降は省略されています)
この特許をJ-PlatPat(特許庁公式サイト)で参照する
関連特許
個人
包丁研ぎ器具
2か月前
株式会社松風
研磨用ゴム砥石
3日前
個人
研磨体
4か月前
株式会社サンポー
ブラスト装置
5か月前
株式会社クボタ
管研削装置
3か月前
株式会社村田製作所
切削装置
3か月前
株式会社ディスコ
被加工物の加工方法
24日前
株式会社東京精密
加工装置
5日前
株式会社東京精密
加工方法
5日前
シンクス株式会社
ボード切断装置
4か月前
ノリタケ株式会社
超砥粒ホイール
3日前
不二空機株式会社
可搬型動力工具
3か月前
株式会社ニッチュー
ブラスト装置
3か月前
株式会社東京精密
加工装置
3日前
大同特殊鋼株式会社
疵研削順序決定方法
5か月前
トヨタ自動車株式会社
回転砥石の製造方法
2か月前
秀和工業株式会社
処理装置および処理方法
26日前
ノリタケ株式会社
研磨パッド
3日前
株式会社ディスコ
砥石
3か月前
オークマ株式会社
円筒研削盤
3か月前
株式会社東京精密
研削装置
1か月前
株式会社ディスコ
加工方法、及び、切削装置
6か月前
株式会社アイドゥス企画
受動変形内面研磨ホイール
2か月前
株式会社ディスコ
研削装置
2か月前
株式会社ディスコ
加工装置
1か月前
JFEスチール株式会社
鋼帯のブラシ研削方法
5か月前
株式会社東京精密
ワーク加工装置
5か月前
Mipox株式会社
研磨部材の製造方法
1か月前
Mipox株式会社
研磨部材の製造方法
1か月前
Mipox株式会社
研磨部材の製造方法
1か月前
株式会社東京精密
ワーク加工装置
5か月前
旭化成株式会社
研磨パッド
1か月前
嘉澤端子工業股分有限公司
グラインダー
4か月前
中村留精密工業株式会社
レンズ保持装置
4か月前
株式会社東京精密
ダイシング装置
3日前
株式会社ディスコ
加工方法
4か月前
続きを見る
他の特許を見る