TOP
|
特許
|
意匠
|
商標
特許ウォッチ
Twitter
他の特許を見る
公開番号
2025075583
公報種別
公開特許公報(A)
公開日
2025-05-15
出願番号
2023186864
出願日
2023-10-31
発明の名称
コイルバネ付き動滑車を用いた免震構造およびそれを有する建築物
出願人
学校法人近畿大学
代理人
個人
主分類
F16F
15/06 20060101AFI20250508BHJP(機械要素または単位;機械または装置の効果的機能を生じ維持するための一般的手段)
要約
【課題】建築物の支承装置以外に地震の際の揺れに対する復元力を有する免震構造を提供する。
【解決手段】基礎と建物床下面との間に設置される免震構造であって、前記基礎に固定され、内部にワイヤ固定端と、表面にワイヤ繰り出し孔が設けられた筐体と、前記ワイヤ固定端に一端が固定され、前記ワイヤ繰り出し孔を通って、前記建物床下面に他端が固定されたワイヤと、前記筐体内に固定されたバネと前記バネに連結された動滑車で構成されるバネ付き動滑車を有し、前記ワイヤは前記ワイヤに張力がかかった際に、前記バネを伸ばす方向で前記動滑車に係回されていることを特徴とする免震構造は、復元力を有する免震構造を提供できる。
【選択図】図1
特許請求の範囲
【請求項1】
基礎と建物床下面との間に設置される免震構造であって、
前記基礎に固定され、内部にワイヤ固定端と、表面にワイヤ繰り出し孔が設けられた筐体と、
前記ワイヤ固定端に一端が固定され、前記ワイヤ繰り出し孔を通って、前記建物床下面に他端が固定されたワイヤと、
前記筐体内に固定されたバネと前記バネに連結された動滑車で構成されるバネ付き動滑車を有し、
前記ワイヤは前記ワイヤに張力がかかった際に、前記バネを伸ばす方向で前記動滑車に係回されていることを特徴とする免震構造。
続きを表示(約 190 文字)
【請求項2】
前記ワイヤ繰り出し孔の縁には摩擦低減手段が設けられている請求項1に記載された免震構造。
【請求項3】
さらに前記筐体内に固定された固定滑車を有し、
前記ワイヤは、前記動滑車と前記固定滑車に係回されている請求項2に記載された免震構造。
【請求項4】
請求項1乃至3の何れか一の請求項に記載された免震構造を有する建築物。
発明の詳細な説明
【技術分野】
【0001】
本発明は、戸建免震住宅を対象に、積層ゴム支承の付加曲げモーメントによる梁の補強や,大変形時の硬化現象による地震時応答の増大などが生じない免震システムを構築するものである。
続きを表示(約 1,600 文字)
【背景技術】
【0002】
免震構造は耐震性能が高く、加速度応答を大幅に低減することができるため、大地震後も建物機能を維持することが可能である。戸建住宅に免震構造を適用する場合、建物自重支持および長周期化のため弾性すべり支承や転がり支承に加え、建物を初期位置に戻す復元力を付加するため天然ゴム系積層ゴム支承が組み合わせて用いられる。
【0003】
特許文献1には、下部構造から上部構造に伝達する地震力を軽減するための免震装置であって、下部構造に固定される下部プレートと、上部構造に固定される上部プレートと、上部プレートと下部プレートの間に緊結された積層ゴムと、積層ゴムに並列して設けられ、上部プレート又は下部プレートのいずれか一方に緊結され、上部プレート又は下部プレートのいずれか他方と水平方向に滑動可能としたすべり支承部と、を備えてなることを特徴とする免震装置が開示されている。
【先行技術文献】
【特許文献】
【0004】
特開2017-009040号公報
【発明の概要】
【発明が解決しようとする課題】
【0005】
しかしながら、天然ゴム系積層ゴム支承の付加曲げモーメントによる梁の補強とそれに伴うコスト増や、大きなせん断変形が生じた場合に積層ゴムの硬化現象(ハードニング現象)による上部構造の地震時応答の増大など問題があり、建物に損傷が生じて継続利用ができない可能性が高まる。
【課題を解決するための手段】
【0006】
本発明は上記課題に鑑みて想到されたものであり、建築物の支承装置以外に地震の際の揺れに対する復元力を有する免震構造を提供するものである。
【0007】
より具体的に本発明に係る免震構造は、
基礎と建物床下面との間に設置される免震構造であって、
前記基礎に固定され、内部にワイヤ固定端と、表面にワイヤ繰り出し孔が設けられた筐体と、
前記ワイヤ固定端に一端が固定され、前記ワイヤ繰り出し孔を通って、前記建物床下面に他端が固定されたワイヤと、
前記筐体内に固定されたバネと前記バネに連結された動滑車で構成されたバネ付き動滑車を有し、
前記ワイヤは前記ワイヤに張力がかかった際に、前記バネを伸ばす方向で前記動滑車に係回されていることを特徴とする。
【発明の効果】
【0008】
本発明に係る免震構造は、動滑車の変位増幅特性を逆に利用することで、免震層の水平変位量に対してコイルバネの変形量を小さくすることが可能となる。さらに、動滑車の数により変位増幅率を調整することができるため、コイルバネを弾性範囲に留めることが容易にできる。したがって、常に安定した復元力を得ることができ、大地震後の残留変位を小さくすることができる。
【0009】
また、積層ゴムでは免震層の水平変位に伴う付加曲げモーメントが発生するが、本発明に係る免震構造では軸方向力で力を伝達するため、柱直下など適切な接続箇所とすることで付加曲げモーメントを非常に小さくすることができる。梁や柱の軸方向力は増大するが、付加曲げモーメントに対する補強に比べて、非常に軽微な補強で済ますことができるといった効果を奏する。
【図面の簡単な説明】
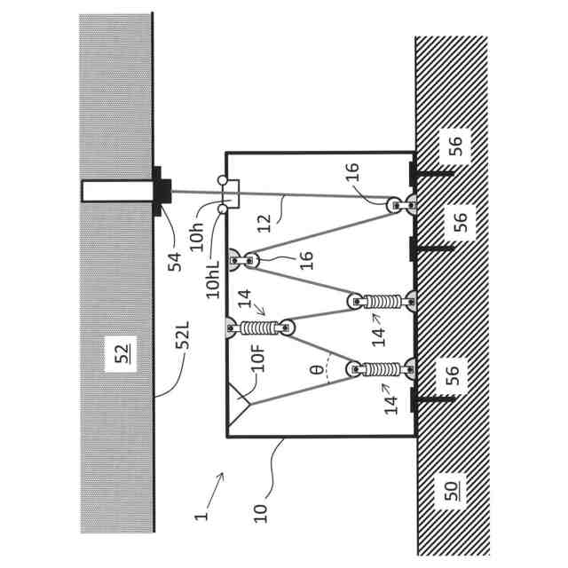
【0010】
本発明に係る免震構造の構成を示す図である。
本発明においてワイヤが係回されていない場合を説明する図である。
図1でワイヤに張力がかかった場合の各部の動きを示す図である。
固定滑車を組み合わせた構成を示す図である。
さらに固定滑車とバネ付き動滑車を増やした構成を示す図である。
全ての滑車をバネ付き動滑車にした場合の構成を示す図である。
【発明を実施するための形態】
(【0011】以降は省略されています)
この特許をJ-PlatPat(特許庁公式サイト)で参照する
関連特許
学校法人近畿大学
壁面用吸音部材
3か月前
学校法人近畿大学
STAT3阻害剤
1か月前
学校法人近畿大学
木質柱梁の接合構造および接合部材
3か月前
学校法人近畿大学
副甲状腺細胞の培養方法と培養副甲状腺細胞
1か月前
学校法人近畿大学
多次元変調光信号復調装置と光信号復調方法
4か月前
学校法人近畿大学
眼表面薬物滞留化剤および該剤を含有する点眼剤
2か月前
関東電化工業株式会社
クロミフェンの製造方法
4か月前
大日本印刷株式会社
装飾パネル
2日前
学校法人近畿大学
可撓性温度依存材積層構造及び可撓性温度依存性構造体
1か月前
シンクレスト株式会社
ベンゾチアゾール誘導体の製造方法
3か月前
オリザ油化株式会社
新規化合物、その用途、及び新規化合物の製造方法
1か月前
関東電化工業株式会社
タモキシフェン前駆体及びタモキシフェンの製造方法
4か月前
学校法人近畿大学
メラノーマ選択的抗がん活性を有する新規セリニキノン化合物及びその製造方法
1か月前
学校法人近畿大学
EGFR活性化変異を有する非小細胞肺癌に対して上皮成長因子受容体チロシンキナーゼ阻害剤の有効期間が短い患者の選択方法
3か月前
学校法人近畿大学
筋芽細胞の分化抑制に用いるための組成物、筋芽細胞の増殖促進に用いるための組成物、筋芽細胞の分化抑制方法、筋芽細胞の増殖促進方法
3か月前
個人
留め具
1か月前
個人
鍋虫ねじ
2か月前
個人
紛体用仕切弁
2か月前
個人
回転伝達機構
3か月前
個人
ホース保持具
7か月前
個人
差動歯車用歯形
4か月前
個人
給排気装置
1か月前
個人
ジョイント
2か月前
株式会社不二工機
電磁弁
6か月前
個人
地震の揺れ回避装置
4か月前
個人
ナット
16日前
個人
ナット
2か月前
株式会社不二工機
電磁弁
4か月前
個人
吐出量監視装置
2か月前
個人
ゲート弁バルブ
1日前
カヤバ株式会社
ダンパ
5か月前
カヤバ株式会社
緩衝器
1か月前
カヤバ株式会社
緩衝器
4か月前
兼工業株式会社
バルブ
17日前
カヤバ株式会社
緩衝器
4か月前
カヤバ株式会社
ダンパ
5か月前
続きを見る
他の特許を見る