TOP
|
特許
|
意匠
|
商標
特許ウォッチ
Twitter
他の特許を見る
公開番号
2025074383
公報種別
公開特許公報(A)
公開日
2025-05-14
出願番号
2023185135
出願日
2023-10-30
発明の名称
給湯暖房機
出願人
株式会社パロマ
代理人
個人
主分類
F24D
3/08 20060101AFI20250507BHJP(加熱;レンジ;換気)
要約
【課題】熱媒を抜く際における熱媒の流路への残留を抑制する技術を提供する。
【解決手段】第1端末流路38Gへの熱媒の供給を遮断する状態と許可する状態とに切り替わる第1の弁39Hと、第2端末流路38Hへの熱媒の供給を遮断する状態と許可する状態とに切り替わる第2の弁39Gと、を制御する給湯暖房機1であって、制御装置70は、暖房動作時に、第1の弁39Hを閉じた状態とし、第2の弁39Gを開いた状態としたときには、バイパス開閉弁47を開いた状態に制御するとともに、暖房動作停止時に、第1操作部73により熱媒を抜く設定がされたときは、バイパス開閉弁47を開いた状態とし、補充開閉弁43を閉じた状態に制御する。
【選択図】図1
特許請求の範囲
【請求項1】
熱媒を流す第1端末流路を有するとともに前記第1端末流路を流れる前記熱媒の熱を放熱する第1放熱端末と、前記熱媒を流す第2端末流路を有するとともに前記第2端末流路を流れる前記熱媒の熱を放熱する第2放熱端末と、に前記熱媒を供給し、
前記第1端末流路への前記熱媒の供給を遮断する状態と許可する状態とに切り替わる第1の弁と、前記第2端末流路への前記熱媒の供給を遮断する状態と許可する状態とに切り替わる第2の弁と、を制御する給湯暖房機であって、
前記熱媒を貯留するタンクと、
ガスを燃焼させるガスバーナと、
前記ガスバーナの燃焼で生じた燃焼排気が供給され、前記熱媒を加熱する第1の熱交換器と、
前記第1端末流路の下流側且つ前記第2端末流路の下流側に設けられ、前記第1端末流路を流れた前記熱媒が流れ込む入口であり且つ前記第2端末流路を流れた前記熱媒が流れ込む入口である流入部と、
前記流入部に流入した前記熱媒が前記タンクに戻る流路である共通戻り流路と、
前記タンクから流れ出た前記熱媒を流す流路である共通往き流路と、
前記共通往き流路を流れた前記熱媒の流れを分岐させる分岐部と、
前記共通往き流路に設けられ、前記熱媒を流動させるポンプと、
前記分岐部から分岐する流路として構成され、一部が前記第1の熱交換器で加熱され、前記熱媒を前記第1放熱端末へと流す流路である第1内部流路と、
前記分岐部から分岐する流路として構成され、前記熱媒を前記第2放熱端末へと流す流路である第2内部流路と、
前記第1内部流路の下流側の端部に設けられ、前記第1端末流路に向けて前記熱媒を流し出す出口である第1流出部と、
前記第2内部流路の下流側の端部に設けられ、前記第2端末流路に向けて前記熱媒を流し出す出口である第2流出部と、
前記共通戻り流路と前記第1内部流路との間において前記熱媒をバイパスさせる経路であるバイパス流路と、
前記タンクの外部から前記タンクに前記熱媒を補充する流路である補充流路と、
前記バイパス流路において前記熱媒の流動を抑制した抑制状態と前記抑制状態を解除した状態とに切り替わるバイパス開閉弁と、
前記補充流路において前記熱媒の流動を遮断した遮断状態と前記遮断状態を解除した状態とに切り替わる補充開閉弁と、
前記第1の弁、前記第2の弁、前記バイパス開閉弁、及び前記補充開閉弁を制御する制御部と、
作業者による補助設定操作が可能とされ、前記補助設定操作がなされた場合に第1設定状態に切り替わる操作部と、
を備え、
前記制御部は、
前記第1放熱端末及び前記第2放熱端末の少なくともいずれかに加熱された前記熱媒を供給する暖房動作時において、前記第1の弁を閉じた状態とし、前記第2の弁を開いた状態とした場合には、前記バイパス開閉弁を開いた状態に制御し、
暖房動作停止時において、前記操作部が前記第1設定状態である場合には、前記バイパス開閉弁を開いた状態とし、前記補充開閉弁を閉じた状態に制御する
給湯暖房機。
続きを表示(約 630 文字)
【請求項2】
前記共通戻り流路の一部を加熱する第2の熱交換器を備え、
前記タンクは、前記補充流路から前記熱媒が供給される供給口と、前記共通戻り流路に接続される入口部と、前記共通往き流路に接続される出口部と、を有し、
前記入口部は、前記タンクの下部に形成され、
前記共通戻り流路は、前記入口部及び前記第2の熱交換器よりも低い部分を通る低位流路を備え、
前記バイパス流路は、前記低位流路に接続され、前記低位流路よりも低い位置に配設されている
請求項1に記載の給湯暖房機。
【請求項3】
風呂回路を加熱するための液液熱交換機を備え、
前記第1内部流路は、当該第1内部流路から配管が分岐する追い焚き分岐部を有し、
前記追い焚き分岐部から分岐した前記配管は、前記液液熱交換機を通るよう配されて前記共通戻り流路に接続され、
前記追い焚き分岐部は、前記第1内部流路における前記バイパス流路との接続部よりも上流側に配置されている
請求項1又は請求項2に記載の給湯暖房機。
【請求項4】
前記制御部は、
凍結予防条件を満たした場合に前記ポンプを駆動する凍結予防運転を実施し、
前記凍結予防条件を満たした場合であっても、前記操作部が前記第1設定状態である場合には、前記凍結予防運転を行わないように制御する
請求項1又は請求項2に記載の給湯暖房機。
発明の詳細な説明
【技術分野】
【0001】
本開示は、給湯暖房機に関する。
続きを表示(約 3,900 文字)
【背景技術】
【0002】
特許文献1には、複合熱源機が記載されている。この複合熱源機は、給湯回路、暖房回路、追い焚き回路、コントローラを備えている。暖房回路は、膨張タンク、暖房用熱交換器、暖房用循環ポンプを備え、これらが配管で接続されている。膨張タンクの湯水は、暖房用循環ポンプにより下流側の暖房用熱交換器に送られ、ここで加熱される。暖房用熱交換器の下流側は、追い焚き回路側の第1高温バイパス路と高温水供給口側の第2高温バイパス路に分岐しており、これらを通った湯水は、膨張タンクに戻るように構成されている。
【先行技術文献】
【特許文献】
【0003】
特開2006-46858公報
【発明の概要】
【発明が解決しようとする課題】
【0004】
ところで、この種の給湯回路を備える装置は、冬季など周囲温度が低下した環境下において、装置内での通水停止がある程度長い時間継続した場合に、装置内に残存した水が凍結する虞がある。このように装置内に残留した水が凍結すると、内部配管等に破損が生じるという問題や、通水検知をトリガとする自動的な燃焼制御ができなくなるという問題など、凍結に起因する問題が生じる。従って、この種の給湯装置では、このような問題に対処するための一つの方法として、例えば、装置内の通水停止の前に、内部の熱媒としての水を外部に排出する水抜きが行われる。
【0005】
ここで、このような水抜きの際に、例えば膨張タンクから循環する管路の一部に生じる高低差(凹みなど)により、水を外部に排出した後に、装置内部の管路に水が残留することが考えられる。特に、熱交換器を通る配管の経路などが複雑になると、多くの管路の結合や分岐箇所が生じ、高低差が生じやすく、水抜きの際に、完全に水を除去しきれずに残留する可能性が高くなるという問題がある。
【0006】
本開示の目的の一つは、熱媒を抜く際における熱媒の流路への残留を抑制する技術を提供することである。
【課題を解決するための手段】
【0007】
本開示の一つである給湯暖房機は、
熱媒を流す第1端末流路を有するとともに前記第1端末流路を流れる前記熱媒の熱を放熱する第1放熱端末と、前記熱媒を流す第2端末流路を有するとともに前記第2端末流路を流れる前記熱媒の熱を放熱する第2放熱端末と、に前記熱媒を供給し、
前記第1端末流路への前記熱媒の供給を遮断する状態と許可する状態とに切り替わる第1の弁と、前記第2端末流路への前記熱媒の供給を遮断する状態と許可する状態とに切り替わる第2の弁と、を制御する給湯暖房機であって、
前記熱媒を貯留するタンクと、
ガスを燃焼させるガスバーナと、
前記ガスバーナの燃焼で生じた燃焼排気が供給され、前記熱媒を加熱する第1の熱交換器と、
前記第1端末流路の下流側且つ前記第2端末流路の下流側に設けられ、前記第1端末流路を流れた前記熱媒が流れ込む入口であり且つ前記第2端末流路を流れた前記熱媒が流れ込む入口である流入部と、
前記流入部に流入した前記熱媒が前記タンクに戻る流路である共通戻り流路と、
前記タンクから流れ出た前記熱媒を流す流路である共通往き流路と、
前記共通往き流路を流れた前記熱媒の流れを分岐させる分岐部と、
前記共通往き流路に設けられ、前記熱媒を流動させるポンプと、
前記分岐部から分岐する流路として構成され、一部が前記第1の熱交換器で加熱され、前記熱媒を前記第1放熱端末へと流す流路である第1内部流路と、
前記分岐部から分岐する流路として構成され、前記熱媒を前記第2放熱端末へと流す流路である第2内部流路と、
前記第1内部流路の下流側の端部に設けられ、前記第1端末流路に向けて前記熱媒を流し出す出口である第1流出部と、
前記第2内部流路の下流側の端部に設けられ、前記第2端末流路に向けて前記熱媒を流し出す出口である第2流出部と、
前記共通戻り流路と前記第1内部流路との間において前記熱媒をバイパスさせる経路であるバイパス流路と、
前記タンクの外部から前記タンクに前記熱媒を補充する流路である補充流路と、
前記バイパス流路において前記熱媒の流動を抑制した抑制状態と前記抑制状態を解除した状態とに切り替わるバイパス開閉弁と、
前記補充流路において前記熱媒の流動を遮断した遮断状態と前記遮断状態を解除した状態とに切り替わる補充開閉弁と、
前記第1の弁、前記第2の弁、前記バイパス開閉弁、及び前記補充開閉弁を制御する制御部と、
作業者による補助設定操作が可能とされ、前記補助設定操作がなされた場合に第1設定状態に切り替わる操作部と、
を備え、
前記制御部は、
前記第1放熱端末及び前記第2放熱端末の少なくともいずれかに加熱された前記熱媒を供給する暖房動作時において、前記第1の弁を閉じた状態とし、前記第2の弁を開いた状態とした場合には、前記バイパス開閉弁を開いた状態に制御し、
暖房動作停止時において、前記操作部が前記第1設定状態である場合には、前記バイパス開閉弁を開いた状態とし、前記補充開閉弁を閉じた状態に制御する。
【発明の効果】
【0008】
本開示に係る技術によれば、給湯暖房機内を流れる熱媒を抜く際における熱媒の流路へ残留を抑制することができる。
【図面の簡単な説明】
【0009】
図1は、第1実施形態に係る給湯暖房機の構成を概略的に例示する概略回路図である。
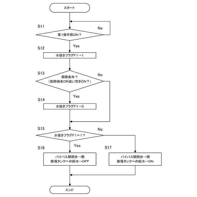
図2は、水抜きの際の処理を示すフローチャートである。
図3は、凍結予防運転の際の処理を示すフローチャートである。
【発明を実施するための形態】
【0010】
以下の〔1〕~〔5〕の各々は、本開示に含まれる給湯暖房機の一例である。
〔1〕熱媒を流す第1端末流路を有するとともに前記第1端末流路を流れる前記熱媒の熱を放熱する第1放熱端末と、前記熱媒を流す第2端末流路を有するとともに前記第2端末流路を流れる前記熱媒の熱を放熱する第2放熱端末と、に前記熱媒を供給し、
前記第1端末流路への前記熱媒の供給を遮断する状態と許可する状態とに切り替わる第1の弁と、前記第2端末流路への前記熱媒の供給を遮断する状態と許可する状態とに切り替わる第2の弁と、を制御する給湯暖房機であって、
前記熱媒を貯留するタンクと、
ガスを燃焼させるガスバーナと、
前記ガスバーナの燃焼で生じた燃焼排気が供給され、前記熱媒を加熱する第1の熱交換器と、
前記第1端末流路の下流側且つ前記第2端末流路の下流側に設けられ、前記第1端末流路を流れた前記熱媒が流れ込む入口であり且つ前記第2端末流路を流れた前記熱媒が流れ込む入口である流入部と、
前記流入部に流入した前記熱媒が前記タンクに戻る流路である共通戻り流路と、
前記タンクから流れ出た前記熱媒を流す流路である共通往き流路と、
前記共通往き流路を流れた前記熱媒の流れを分岐させる分岐部と、
前記共通往き流路に設けられ、前記熱媒を流動させるポンプと、
前記分岐部から分岐する流路として構成され、一部が前記第1の熱交換器で加熱され、前記熱媒を前記第1放熱端末へと流す流路である第1内部流路と、
前記分岐部から分岐する流路として構成され、前記熱媒を前記第2放熱端末へと流す流路である第2内部流路と、
前記第1内部流路の下流側の端部に設けられ、前記第1端末流路に向けて前記熱媒を流し出す出口である第1流出部と、
前記第2内部流路の下流側の端部に設けられ、前記第2端末流路に向けて前記熱媒を流し出す出口である第2流出部と、
前記共通戻り流路と前記第1内部流路との間において前記熱媒をバイパスさせる経路であるバイパス流路と、
前記タンクの外部から前記タンクに前記熱媒を補充する流路である補充流路と、
前記バイパス流路において前記熱媒の流動を抑制した抑制状態と前記抑制状態を解除した状態とに切り替わるバイパス開閉弁と、
前記補充流路において前記熱媒の流動を遮断した遮断状態と前記遮断状態を解除した状態とに切り替わる補充開閉弁と、
前記第1の弁、前記第2の弁、前記バイパス開閉弁、及び前記補充開閉弁を制御する制御部と、
作業者による補助設定操作が可能とされ、前記補助設定操作がなされた場合に第1設定状態に切り替わる操作部と、
を備え、
前記制御部は、
前記第1放熱端末及び前記第2放熱端末の少なくともいずれかに加熱された前記熱媒を供給する暖房動作時において、前記第1の弁を閉じた状態とし、前記第2の弁を開いた状態とした場合には、前記バイパス開閉弁を開いた状態に制御し、
暖房動作停止時において、前記操作部が前記第1設定状態である場合には、前記バイパス開閉弁を開いた状態とし、前記補充開閉弁を閉じた状態に制御する
給湯暖房機。
(【0011】以降は省略されています)
この特許をJ-PlatPat(特許庁公式サイト)で参照する
関連特許
株式会社パロマ
湯沸器
1か月前
株式会社パロマ
給湯器
2か月前
株式会社パロマ
給湯暖房機
3か月前
株式会社パロマ
ガスコンロ
3日前
株式会社パロマ
ガスコンロ
3日前
株式会社パロマ
給湯暖房機
3か月前
株式会社パロマ
給湯暖房機
3か月前
株式会社パロマ
給湯暖房機
3か月前
株式会社パロマ
給湯暖房機
3か月前
株式会社パロマ
給湯暖房機
3か月前
株式会社パロマ
ガスコンロ
3日前
株式会社パロマ
加熱調理装置
1か月前
株式会社パロマ
加熱調理装置
1か月前
株式会社パロマ
加熱調理装置
1か月前
株式会社パロマ
加熱調理装置
7日前
株式会社パロマ
加熱調理装置
4日前
株式会社パロマ
食器洗浄機用ブースター
24日前
株式会社パロマ
食器洗浄機用ブースター
1か月前
株式会社パロマ
食器洗浄機用ブースター
1か月前
株式会社パロマ
食器洗浄機用ブースター
1か月前
株式会社パロマ
食器洗浄機用ブースター
1か月前
株式会社パロマ
食器洗浄機用ブースター
1か月前
株式会社パロマ
食器洗浄機用ブースター
11日前
株式会社パロマ
加熱調理装置及び製造方法
27日前
株式会社パロマ
給湯器の製造方法及び給湯器
1か月前
株式会社パロマ
アフターバーナ及び加熱調理装置
4日前
株式会社パロマ
ヒートポンプ熱源機及び給湯システム
4日前
株式会社パロマ
ヒートポンプ熱源機及び給湯システム
4日前
株式会社パロマ
ガスコンロの製造方法およびガスコンロ
3日前
株式会社パロマ
食器洗浄機用ブースター及び食器洗浄システム
1か月前
株式会社トヨトミ
五徳
10日前
株式会社コロナ
空調装置
25日前
株式会社コロナ
空調装置
10日前
株式会社コロナ
空調装置
10日前
株式会社コロナ
空調装置
1か月前
株式会社コロナ
給湯装置
3か月前
続きを見る
他の特許を見る