TOP
|
特許
|
意匠
|
商標
特許ウォッチ
Twitter
他の特許を見る
公開番号
2025073930
公報種別
公開特許公報(A)
公開日
2025-05-13
出願番号
2023185123
出願日
2023-10-28
発明の名称
給湯暖房機
出願人
株式会社パロマ
代理人
個人
主分類
F24D
3/08 20060101AFI20250502BHJP(加熱;レンジ;換気)
要約
【課題】給湯暖房機内を流れる熱媒からエアをより効果的に除去し得る技術を提供する。
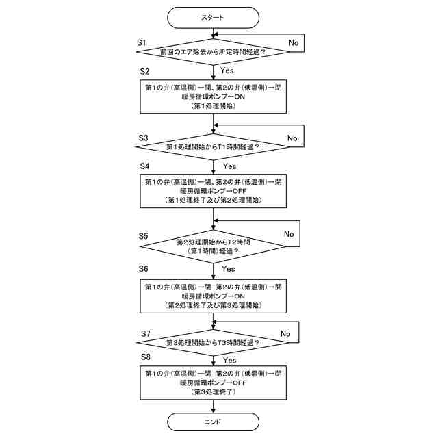
【解決手段】第1端末流路38Gへの熱媒の供給を遮断する状態と許可する状態とに切り替わる第1の弁39Hと、第2端末流路38Hへの熱媒の供給を遮断する状態と許可する状態とに切り替わる第2の弁39Gと、を制御する給湯暖房機1であって、制御部は、第1の弁39H及び第2の弁39Gのうちの一方の弁を開いた状態とし他方の弁を閉じた状態としつつ暖房循環ポンプ37を動作させる第1処理を行い、第1処理の後、暖房循環ポンプ37の動作を第1時間停止させる第2処理を行い、第1処理及び第2処理の後、前記一方の弁を閉じた状態とし前記他方の弁を開いた状態としつつ暖房循環ポンプ37を動作させる第3処理を行う。
【選択図】図1
特許請求の範囲
【請求項1】
熱媒を流す第1端末流路を有するとともに前記第1端末流路を流れる前記熱媒の熱を放熱する第1放熱端末と、前記熱媒を流す第2端末流路を有するとともに前記第2端末流路を流れる前記熱媒の熱を放熱する第2放熱端末と、に前記熱媒を供給し、
前記第1端末流路への前記熱媒の供給を遮断する状態と許可する状態とに切り替わる第1の弁と、前記第2端末流路への前記熱媒の供給を遮断する状態と許可する状態とに切り替わる第2の弁と、を制御する給湯暖房機であって、
前記第1端末流路の下流側且つ前記第2端末流路の下流側に設けられ、前記第1端末流路を流れた前記熱媒及び前記第2端末流路を流れた前記熱媒が流れ込む入口である流入部と、
前記流入部に流れ込んだ前記熱媒を流す流路である共通流路と、
前記共通流路の端部に設けられ、前記共通流路を流れた前記熱媒の流れを分岐させる分岐部と、
前記分岐部から分岐する流路として構成され、前記熱媒を前記第1放熱端末へと流す流路である第1内部流路と、
前記分岐部から分岐する流路として構成され、前記熱媒を前記第2放熱端末へと流す流路である第2内部流路と、
前記第1内部流路の下流側の端部に設けられ、前記第1端末流路に向けて前記熱媒を流し出す出口である第1流出部と、
前記第2内部流路の下流側の端部に設けられ、前記第2端末流路に向けて前記熱媒を流し出す出口である第2流出部と、
前記共通流路内の前記熱媒を流動させるポンプと、
前記共通流路に設けられ、前記共通流路を流れる前記熱媒が経由するタンクと、
前記第1内部流路を流れる前記熱媒を加熱する第1の熱交換器と、
前記第1の弁、前記第2の弁及び前記ポンプを制御する制御部と、
を備え、
前記制御部は、前記第1の弁及び前記第2の弁のうちの一方の弁を開いた状態とし他方の弁を閉じた状態としつつ前記ポンプを動作させる第1処理を行い、前記第1処理の後、前記ポンプの動作を第1時間停止させる第2処理を行い、前記第1処理及び前記第2処理の後、前記一方の弁を閉じた状態とし前記他方の弁を開いた状態としつつ前記ポンプを動作させる第3処理を行う
給湯暖房機。
続きを表示(約 160 文字)
【請求項2】
前記第1の弁は、第1の熱動弁であり、
前記第2の弁は、第2の熱動弁であり、
前記制御部は、前記第1処理の後、前記第2処理の期間において前記一方の弁を閉じた状態に制御し、前記第2処理の期間に前記一方の弁が閉じた状態に切り替わってから前記第3処理を開始する
請求項1に記載の給湯暖房機。
発明の詳細な説明
【技術分野】
【0001】
本開示は、給湯暖房機に関する。
続きを表示(約 2,100 文字)
【背景技術】
【0002】
特許文献1には、温水式暖房システムが記載されている。この温水式暖房システムは、筐体内部にシスターン、暖房用熱交換器、循環ポンプ、制御部を備えている。シスターン、暖房用熱交換器、循環ポンプは配管で接続されている。配管は、暖房用熱交換器の下流側で分岐しており、分岐した一方側は、外部の床暖房パネルを介してシスターンに接続されている。また、分岐した他方側は、追焚用熱交換器を介してシスターンに接続されている。
【0003】
シスターン内の温水は、循環ポンプにより暖房用熱交換器に送られ、ここで加熱される。そして、外部の床暖房パネル及び追焚用熱交換器に送られる。床暖房パネルで放熱した湯水は、シスターンに戻される。また、追焚用熱交換器で熱交換された湯水は、シスターンに戻される。追焚用熱交換器は、配管を介して浴槽に接続される。
【0004】
また、床暖房パネルに接続された配管、及び、浴槽に接続された配管には、それぞれ熱動弁が設けられており、熱動弁の開閉により、湯水の循環を制御する。
【先行技術文献】
【特許文献】
【0005】
特開2005-195311公報
【発明の概要】
【発明が解決しようとする課題】
【0006】
放熱端末に対して熱媒を循環させて供給し得る給湯暖房機では、熱媒内にエアが混ざり込みやすく、熱媒内に混ざり込んだエアが悪影響を及ぼす懸念がある。この点に関し、特許文献1の給湯暖房システムでは、30日毎(720時間毎)に10分の間ポンプを駆動して、循環加熱回路内の水を循環させるエア抜き運転を実行し、暖房タンクを経由した水からエアを抜くようになっている。
【0007】
しかしながら、複数の放熱端末に熱媒を供給するために複数の流路が分岐して設けられ、一部の流路が共通した構成で熱媒の循環経路が形成される給湯暖房機では、分岐した複数の流路が共通の流路で繋がっているため、エアを除去するために熱媒を流動させる際に、一方の流路内の熱媒に混ざり込んでいたエアが他方の流路側に移動してしまう等の懸念がある。
【0008】
本開示の目的の一つは、給湯暖房機内を流れる熱媒からエアをより効果的に除去し得る技術を提供することである。
【課題を解決するための手段】
【0009】
本開示の一つである給湯暖房機は、 熱媒を流す第1端末流路を有するとともに前記第1端末流路を流れる前記熱媒の熱を放熱する第1放熱端末と、前記熱媒を流す第2端末流路を有するとともに前記第2端末流路を流れる前記熱媒の熱を放熱する第2放熱端末と、に前記熱媒を供給し、
前記第1端末流路への前記熱媒の供給を遮断する状態と許可する状態とに切り替わる第1の弁と、前記第2端末流路への前記熱媒の供給を遮断する状態と許可する状態とに切り替わる第2の弁と、を制御する給湯暖房機であって、
前記第1端末流路の下流側且つ前記第2端末流路の下流側に設けられ、前記第1端末流路を流れた前記熱媒及び前記第2端末流路を流れた前記熱媒が流れ込む入口である流入部と、
前記流入部に流れ込んだ前記熱媒を流す流路である共通流路と、
前記共通流路の端部に設けられ、前記共通流路を流れた前記熱媒の流れを分岐させる分岐部と、
前記分岐部から分岐する流路として構成され、前記熱媒を前記第1放熱端末へと流す流路である第1内部流路と、
前記分岐部から分岐する流路として構成され、前記熱媒を前記第2放熱端末へと流す流路である第2内部流路と、
前記第1内部流路の下流側の端部に設けられ、前記第1端末流路に向けて前記熱媒を流し出す出口である第1流出部と、
前記第2内部流路の下流側の端部に設けられ、前記第2端末流路に向けて前記熱媒を流し出す出口である第2流出部と、
前記共通流路内の前記熱媒を流動させるポンプと、
前記共通流路に設けられ、前記共通流路を流れる前記熱媒が経由するタンクと、
前記第1内部流路を流れる前記熱媒を加熱する第1の熱交換器と、
前記第1の弁、前記第2の弁及び前記ポンプを制御する制御部と、
を備え、
前記制御部は、前記第1の弁及び前記第2の弁のうちの一方の弁を開いた状態とし他方の弁を閉じた状態としつつ前記ポンプを動作させる第1処理を行い、前記第1処理の後、前記ポンプの動作を第1時間停止させる第2処理を行い、前記第1処理及び前記第2処理の後、前記一方の弁を閉じた状態とし前記他方の弁を開いた状態としつつ前記ポンプを動作させる第3処理を行う。
【発明の効果】
【0010】
本開示に係る技術は、給湯暖房機内を流れる熱媒からエアをより効果的に除去し得る。
【図面の簡単な説明】
(【0011】以降は省略されています)
この特許をJ-PlatPat(特許庁公式サイト)で参照する
関連特許
株式会社パロマ
湯沸器
1か月前
株式会社パロマ
ガスコンロ
6日前
株式会社パロマ
ガスコンロ
6日前
株式会社パロマ
ガスコンロ
6日前
株式会社パロマ
加熱調理装置
7日前
株式会社パロマ
加熱調理装置
10日前
株式会社パロマ
加熱調理装置
1か月前
株式会社パロマ
食器洗浄機用ブースター
14日前
株式会社パロマ
食器洗浄機用ブースター
27日前
株式会社パロマ
加熱調理装置及び製造方法
1か月前
株式会社パロマ
給湯器の製造方法及び給湯器
1か月前
株式会社パロマ
アフターバーナ及び加熱調理装置
7日前
株式会社パロマ
ヒートポンプ熱源機及び給湯システム
7日前
株式会社パロマ
ヒートポンプ熱源機及び給湯システム
7日前
株式会社パロマ
ガスコンロの製造方法およびガスコンロ
6日前
個人
エアコン室内機
4か月前
株式会社トヨトミ
五徳
13日前
株式会社コロナ
空調装置
28日前
株式会社コロナ
空調装置
1か月前
個人
油ハネ防止カーテン
2日前
株式会社コロナ
空調装置
13日前
株式会社コロナ
空調装置
1か月前
株式会社コロナ
空調装置
4か月前
株式会社コロナ
空調装置
13日前
株式会社コロナ
加湿装置
1か月前
株式会社コロナ
空調装置
2か月前
株式会社コロナ
給湯装置
3か月前
個人
住宅換気空調システム
2か月前
株式会社コロナ
風呂給湯機
1か月前
株式会社コロナ
空気調和機
3か月前
個人
太陽光パネル傾斜装置
23日前
株式会社コロナ
空気調和機
2か月前
株式会社パロマ
給湯器
3か月前
株式会社コロナ
直圧式給湯機
2か月前
株式会社コロナ
直圧式給湯機
4か月前
株式会社コロナ
貯湯式給湯機
1か月前
続きを見る
他の特許を見る