TOP
|
特許
|
意匠
|
商標
特許ウォッチ
Twitter
他の特許を見る
10個以上の画像は省略されています。
公開番号
2025073404
公報種別
公開特許公報(A)
公開日
2025-05-13
出願番号
2023184159
出願日
2023-10-26
発明の名称
スライダー分離機構及びスライダー分離方法
出願人
YKK株式会社
代理人
アクシス国際弁理士法人
主分類
B09B
3/30 20220101AFI20250502BHJP(固体廃棄物の処理;汚染土壌の再生)
要約
【課題】スライダー胴体とロックピンの金属材料が付着混在することなく、高圧を必要とせずにスライダーを分離することができるスライダー分離機構を提供する。
【解決手段】上翼板(11)と、下翼板(12)と、上翼板と下翼板とを連結する案内柱とを備えるスライダー胴体(10)と、バネ性を有する板状部材であるロックピン(30)であって、上翼板上に載置され、一端に設けられた係合部がスライダー胴体の前方部分における係止部に係合されるロックピンと、上翼板とロックピンとの間に設けられる引手(40)と、を備える金属製のスライダー(1)における、スライダー胴体と、ロックピンと、引手とを分離するためのスライダー分離機構に係る。スライダー分離機構は、スライダー胴体の係止部に係合するロックピンの係合部を、案内柱の前方に変位させて係合を解くための係合解除部(120)を備える。
【選択図】図11
特許請求の範囲
【請求項1】
上翼板(11)と、下翼板(12)と、前記上翼板(11)と前記下翼板(12)とを連結する案内柱(13)と、を備えるスライダー胴体(10)と、
バネ性を有する板状部材であって、前記上翼板(11)上に載置され、一端に設けられた係合部(34)が前記スライダー胴体(10)の前方部分における係止部(13a)に係合されるロックピン(30)と、
前記上翼板(11)と前記ロックピン(30)との間に設けられる引手(40)と、
を備えるスライダー(1)における、前記スライダー胴体(10)と、前記ロックピン(30)と、前記引手(40)とを分離するためのスライダー分離機構(100)であって、
前記スライダー胴体(10)の前記係止部(13a)に係合する前記ロックピン(30)の前記係合部(34)を、前記案内柱(13)の前方に変位させて係合を解くための係合解除部(120、120B)を備えるスライダー分離機構。
続きを表示(約 2,100 文字)
【請求項2】
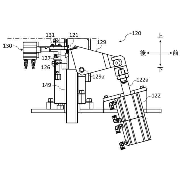
前記係合解除部(120、120B)は、前記係合部(34)に接触して前記ロックピン(30)と前記スライダー胴体(10)とを分離するための分離部(130)を備える請求項1に記載のスライダー分離機構。
【請求項3】
前記ロックピン(30)は、前記スライダー胴体(10)の前記上翼板(11)側から前記案内柱(13)側へと湾曲する湾曲部(33c)を含み、
前記係合解除部(120)は、前記湾曲部(33c)に突き当てる突出部材(121)を含む突き当て部(125)をさらに備える請求項1または2に記載のスライダー分離機構。
【請求項4】
前記スライダー(1)は、前記スライダー胴体(10)と前記ロックピン(30)との間に左右方向に貫通する間隙(G)を有し、
前記係合解除部(120B)は、前記間隙(G)に挿入して前記間隙(G)を広げる挿入部材(123)を含む突き当て部(125B)をさらに備える請求項1または2に記載のスライダー分離機構。
【請求項5】
前記分離部(130)は、前記ロックピン(30)の前記係合部(34)に突き当てるプッシャー(131)を含む請求項2に記載のスライダー分離機構。
【請求項6】
前記係合解除部(120、120B)は、スライダー(1)を保持する位置決め部(126)をさらに備え、前記位置決め部(126)は、保持状態と解除状態とを切り替え可能である胴体位置決めストッパ(127)を含む請求項1に記載のスライダー分離機構。
【請求項7】
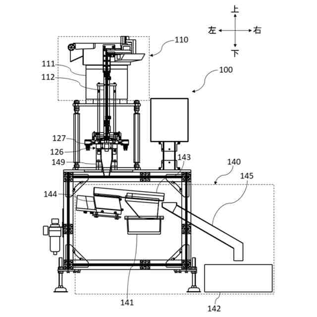
前記スライダー分離機構(100)は、回収部(140)をさらに備え、前記回収部(140)は、複数の貫通孔(143a)を有する振動ふるい(143)を備え、前記貫通孔(143a)の直径は、前記ロックピン(30)が通過でき、前記引手(40)と前記スライダー胴体(10)が通過できない大きさである請求項1に記載のスライダー分離機構。
【請求項8】
上翼板(11)と、下翼板(12)と、前記上翼板(11)と前記下翼板(12)とを連結する案内柱(13)と、を備えるスライダー胴体(10)と、
バネ性を有する板状部材であって、前記上翼板(11)上に載置され、一端に設けられた係合部(34)が前記スライダー胴体(10)の前方部分における係止部(13a)に係合されるロックピン(30)と、
前記上翼板(11)と前記ロックピン(30)との間に設けられる引手(40)と、
を備えるスライダー(1)における、前記スライダー胴体(10)と、前記ロックピン(30)と、前記引手(40)とを分離するためのスライダー分離方法であって、
前記ロックピン(30)は、前記スライダー胴体(10)の前記上翼板(11)側から前記案内柱(13)側へと湾曲する湾曲部(33c)を含み、突き当て部(125)における突出部材(121)を前記湾曲部(33c)に突き当て、前記スライダー胴体(10)の前記係止部(13a)に係合する前記ロックピン(30)の前記係合部(34)を、前記案内柱(13)の前方に変位させて係合を解く係合解除工程と、
前記係合解除工程の次に、プッシャー(131)を前記ロックピン(30)の前記係合部(34)に突き当てる分離工程と、を含むスライダー分離方法。
【請求項9】
上翼板(11)と、下翼板(12)と、前記上翼板(11)と前記下翼板(12)とを連結する案内柱(13)と、を備えるスライダー胴体(10)と、
バネ性を有する板状部材であって、前記上翼板(11)上に載置され、一端に設けられた係合部(34)が前記スライダー胴体(10)の前方部分における係止部(13a)に係合されるロックピン(30)と、
前記上翼板(11)と前記ロックピン(30)との間に設けられる引手(40)と、
を備えるスライダー(1)における、前記スライダー胴体(10)と、前記ロックピン(30)と、前記引手(40)とを分離するためのスライダー分離方法であって、
前記スライダー(1)は、前記スライダー胴体(10)と前記ロックピン(30)との間に左右方向に貫通する間隙(G)を有し、
突き当て部(125B)における挿入部材(123)を前記間隙(G)に挿入して、前記スライダー胴体(10)の前記係止部(13a)に係合する前記ロックピン(30)の前記係合部(34)を、前記案内柱(13)の前方に変位させて係合を解く係合解除工程と、
前記係合解除工程の次に、プッシャー(131)を前記ロックピン(30)の前記係合部(34)に突き当てる分離工程と、を含むスライダー分離方法。
【請求項10】
前記分離工程の次に、前記突き当て部(125、125B)を初期位置に復帰させ、前記プッシャー(131)をさらに前方に移動させることにより、前記ロックピン(30)及び前記引手(40)を落下させる第1落下工程を含む、請求項8または9に記載のスライダー分離方法。
(【請求項11】以降は省略されています)
発明の詳細な説明
【技術分野】
【0001】
本発明はスライダー分離機構及びスライダー分離方法に関し、特に金属製のスライダーのスライダー胴体とロックピンとを分離するための装置及び方法に関する。
続きを表示(約 2,400 文字)
【背景技術】
【0002】
特開2022-175567号公報(特許文献1)は、金属製スライダー等をリサイクルするための方法を開示する。特許文献1の方法では、破砕機によりスライダーをその構成部品であるスライダー胴体とロックピンと引手とに分離する。しかしながら、特許文献1の方法では、スライダーの破砕時に、例えばステンレス鋼製のロックピンの一部が銅合金製のスライダー胴体に付着し、銅合金にステンレス鋼が混入することが起こり得る。この場合、分離後の各部品を溶解等して再利用、再資源化する際に支障を来すという問題がある。
【0003】
中国特許第105962553号明細書(特許文献2)は、スライダーを固定し、パンチングピンでロックピンの前方部分をスライダーの下(下翼板側)から上(上翼板側)に押してロックピンをスライダー胴体から分離する技術を開示する。この技術では、スライダー胴体とロックピンと引手とが一挙に引き離される。しかしながら、ロックピンの先端は胴体への保持係合部を有していることから、引用文献2の技術では、パンチングピンに高圧をかける必要性がある。また、胴体が変形してロックピンが外れず、銅合金にステンレス鋼が混入することが起こり得る。
【先行技術文献】
【特許文献】
【0004】
特開2022-175567号公報
中国特許第105962553号明細書
【発明の概要】
【発明が解決しようとする課題】
【0005】
上記のような問題に鑑み、本発明は、スライダー胴体とロックピンの金属材料が付着混在することなく、高圧を必要とせずにスライダーを分離することができるスライダー分離機構及びスライダー分離方法を提供することを目的とする。
【課題を解決するための手段】
【0006】
上記課題を解決するため、本発明の一側面によれば、上翼板(11)と、下翼板(12)と、前記上翼板(11)と前記下翼板(12)とを連結する案内柱(13)と、を備えるスライダー胴体(10)と、バネ性を有する板状部材であって、前記上翼板(11)上に載置され、一端に設けられた係合部(34)が前記スライダー胴体(10)の前方部分における係止部(13a)に係合されるロックピン(30)と、前記上翼板(11)と前記ロックピン(30)との間に設けられる引手(40)と、を備えるスライダー(1)における、前記スライダー胴体(10)と、前記ロックピン(30)と、前記引手(40)とを分離するためのスライダー分離機構(100)であって、前記スライダー胴体(10)の前記係止部(13a)に係合する前記ロックピン(30)の前記係合部(34)を、前記案内柱(13)の前方に変位させて係合を解くための係合解除部(120、120B)を備えるスライダー分離機構(100)が提供される。
【0007】
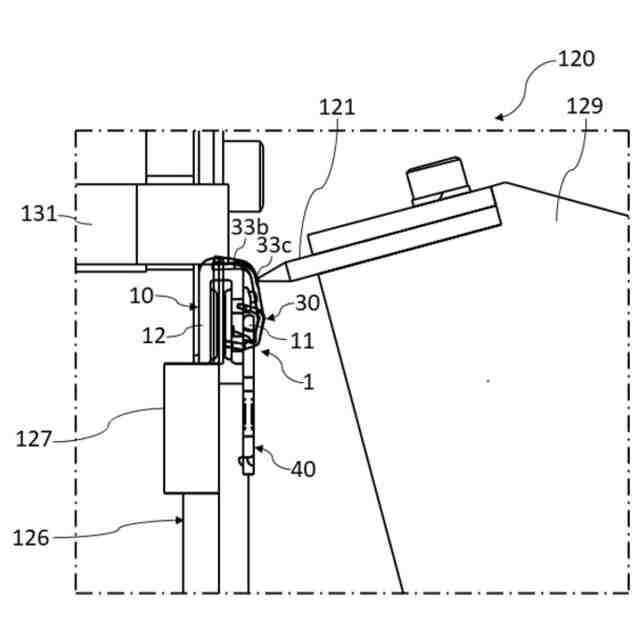
本発明では、まず、スライダー分離機構の係合解除部において、ロックピンの係合部をスライダー胴体の係止部から前方(図2、図3等参照)に離れるように変位させ、係合部と係止部との係合を解く。係合部と係止部との係合が解かれても、ロックピンは係合部以外の部分を介してスライダー胴体と係合状態にある。
【0008】
本発明の一実施形態において、前記係合解除部(120、120B)は、前記係合部(34)に接触して前記ロックピン(30)と前記スライダー胴体(10)とを分離するための分離部(130)を備える。この形態では、ロックピンの係合部とスライダー胴体の係止部との係合を解いた後、係合解除部の分離部において、ロックピンとスライダー胴体とを完全に分離する。このように、まず、ロックピンの係合部とスライダー胴体の係止部との係合を解き、次いで、ロックピンとスライダー胴体とを分離することで、スライダー胴体とロックピンの金属材料が付着混在することなく分離可能であり、また、高圧を必要とせずスライダーを分離することができる。
【0009】
本発明の一実施形態において、前記ロックピン(30)は、前記スライダー胴体(10)の前記上翼板(11)側から前記案内柱(13)側へと湾曲する湾曲部(33c)を含み、前記係合解除部(120)は、前記湾曲部(33c)に突き当てる突出部材(121)を含む突き当て部(125)をさらに備える。この形態では、係合解除部における突き当て部の突出部材をロックピンの湾曲部に突き当てることにより、ロックピンの係合部をスライダー胴体の案内柱の前方に変位させ、ロックピンの係合部とスライダー胴体の係止部との係合を解くことができる。突出部材が湾曲部に突き当たると、湾曲部の形状が塑性変形してロックピンのバネ性(スナップ性)が失われ、これにより係合部が係止部から浮き上がり、係合が解除される。
【0010】
本発明の一実施形態において、前記スライダー(1)は、前記スライダー胴体(10)と前記ロックピン(30)との間に左右方向に貫通する間隙(G)を有し、前記係合解除部(120)は、前記間隙(G)に挿入して前記間隙(G)を広げる挿入部材(123)を含む突き当て部(125B)をさらに備える。この形態では、係合解除部において、挿入部材を間隙に挿入して間隙を広げることにより、ロックピンの係合部をスライダー胴体の案内柱の前方に変位させ、係合部とスライダー胴体の係止部との係合を解くことができる。挿入部材が間隙を広げると、湾曲部の形状が塑性変形してロックピンのバネ性(スナップ性)が失われ、これにより係合部が係止部から浮き上がり、係合が解除される。
(【0011】以降は省略されています)
この特許をJ-PlatPat(特許庁公式サイト)で参照する
関連特許
トヨタ自動車株式会社
空箱処理装置
1か月前
トヨタ自動車株式会社
空箱処理装置
1か月前
ダイハツ工業株式会社
発酵システム
1か月前
花王株式会社
焼却灰の処理方法
12日前
花王株式会社
焼却灰の処理方法
12日前
テクニカ合同株式会社
廃棄鶏の処理方法
12日前
トヨタ自動車株式会社
バイオ炭製造方法
20日前
株式会社トクヤマ
石膏粒体のか焼方法
1か月前
株式会社マクニカ
乾熱減容処理装置
1か月前
清水建設株式会社
汚染拡散防止構造
1か月前
学校法人東京農業大学
メタンガスの製造方法
2か月前
清水建設株式会社
加熱井戸の設置方法
1か月前
鹿島建設株式会社
土壌の浄化方法
1か月前
トヨタ自動車株式会社
乾燥処理装置
2か月前
九電産業株式会社
樹脂複合製品の製造方法
21日前
株式会社トクヤマ
廃石膏ボードから紙片と石膏粒体を回収する方法
1か月前
光宇應用材料股ふん有限公司
環境にやさしい低炭素二酸化ケイ素の製造方法
1か月前
太平洋セメント株式会社
重金属類不溶化材及び固化不溶化処理方法
1か月前
JFEエンジニアリング株式会社
焼却灰処理システム
2日前
トリニティ工業株式会社
使用済みフィルタ処理装置、使用済みフィルタ処理方法
22日前
東洋建設株式会社
遮水構造体の施工方法及び圧着機
1か月前
川崎重工業株式会社
焼却灰の骨材化システムおよび骨材化方法
12日前
川崎重工業株式会社
焼却灰の骨材化システムおよび骨材化方法
12日前
太平洋セメント株式会社
有価金属含有廃棄物からの金の回収方法
12日前
UBE三菱セメント株式会社
再生骨材の製造方法、粒子の分別方法及び品質評価方法
13日前
株式会社トクヤマ
ゴミ焼却灰の処理方法
2か月前
株式会社IMPACT
オイルフィルターからの油抽出装置及びオイルフィルターからの油抽出方法
27日前
UBEマシナリー株式会社
バイオマスの処理装置、処理方法および燃焼システム
1か月前
栗田工業株式会社
食品製造ロスの減容化装置
2か月前
東洋建設株式会社
遮水構造体及び遮水構造体の製造方法
1か月前
株式会社日立製作所
太陽光パネルリサイクル方法、及び太陽光パネルリサイクルシステム
1か月前
九電産業株式会社
樹脂複合製品の製造方法
21日前
国立大学法人 熊本大学
パルス電流発生装置及びパルス電流発生方法
1か月前
ヴァーレ、ソシエダージ、アノニマ
尾鉱からミョウバン石含有量を低減するための抽出方法、製品及びその使用
1か月前
タキロンシーアイ株式会社
遮水構造の検査方法及び接合用遮水体の製造方法と接合体の製造方法
20日前
ディーエイチエフ アメリカ,エルエルシー
エネルギー再循環技術を用いた廃棄物処理システム及び方法
1か月前
続きを見る
他の特許を見る