TOP
|
特許
|
意匠
|
商標
特許ウォッチ
Twitter
他の特許を見る
公開番号
2025063582
公報種別
公開特許公報(A)
公開日
2025-04-16
出願番号
2023172923
出願日
2023-10-04
発明の名称
廃棄物処分場の脱窒方法
出願人
五洋建設株式会社
代理人
個人
,
個人
主分類
B09B
1/00 20060101AFI20250409BHJP(固体廃棄物の処理;汚染土壌の再生)
要約
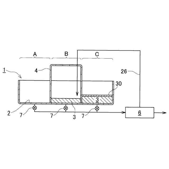
【課題】処分場を有効的に活用し、脱窒を行う廃棄物処分場の脱窒方法の提供。
【解決手段】この廃棄物処分場の脱窒方法は、廃棄物堆積層3から浸出した浸出水を集水し、排水管を通して集水した浸出水を、曝気槽11を有する排水処理手段7に送り、曝気槽11において硝化反応させて硝酸態窒素含有水12を生成し、硝酸態窒素含有水12を廃棄物堆積層3上に散水し、硝酸態窒素と廃棄物堆積層3に含まれる有機物由来の水素とを反応させて窒素を生成し、窒素を廃棄物堆積層3から大気中に放出する。
【選択図】図1
特許請求の範囲
【請求項1】
有機物を含む廃棄物が堆積した廃棄物堆積層を有する廃棄物処分場の脱窒方法において、
前記廃棄物堆積層から浸出した浸出水を集水し、排水管を通して前記集水した浸出水を、曝気槽を有する排水処理手段に送り、前記曝気槽において硝化反応させて硝酸態窒素を含む硝酸態窒素含有水を生成し、該硝酸態窒素含有水を準好気条件又は嫌気条件下の前記廃棄物堆積層上に散水し、前記硝酸態窒素と前記廃棄物堆積層に含まれる有機物由来の水素とを反応させて窒素を生成し、該窒素を前記廃棄物堆積層から大気中に放出することを特徴としてなる廃棄物処分場の脱窒方法。
続きを表示(約 220 文字)
【請求項2】
前記硝酸態窒素含有水を前記廃棄物堆積層上に散水する際に前記排水管に設けた開閉弁を閉じて前記廃棄物堆積層に浸出水を湛えておく請求項1に記載の廃棄物処分場の脱窒方法。
【請求項3】
前記開閉弁の開閉を所定の時間毎に繰り返す請求項2に記載の廃棄物処分場の脱窒方法。
【請求項4】
前記廃棄物堆積層を複数に区画し、該区画ごとに前記開閉弁の開閉を行う請求項2又は3に記載の廃棄物処分場の脱窒方法。
発明の詳細な説明
【技術分野】
【0001】
本発明は、処分場を利用して脱窒処理を行う廃棄物処分場の脱窒方法に関する。
続きを表示(約 1,400 文字)
【背景技術】
【0002】
従来、廃棄物処分場では、投棄された廃棄物が堆積した廃棄物堆積層から浸出した浸出水をpH、BOD(生物化学的酸素要求量)・COD(化学的酸素要求量)、T-N(全窒素)等を基に管理している。
【0003】
現在、日本の管理型廃棄物処分場では、廃棄物として焼却処理された後の焼却灰や飛灰が投棄される場合が多く、焼却灰の影響によりアルカリ性が高くなることが多いことで知られている。
【0004】
一方、処分場には、未焼却のまま可燃ゴミや動植物性残滓が持ち込まれる所もあり、このような処分場では、焼却灰を中心とした処分場と比較して、浸出水のBOD・CODやT-Nが高く、これらの処理が課題となっている。
【0005】
こうした処分場の浸出水は、処分場より集水した浸出水から凝縮沈殿槽において汚泥を凝縮沈殿させた後、曝気槽において曝気処理(生物処理による有機物の好気分解)を施すことによって、その処理水のBOD・CODの濃度を低下させることはできるが、窒素を処理するためには、脱窒設備の導入や大量の希釈水が必要となるものであった。
【0006】
一方、窒素を処理する方法としては、処分場から集水した水を酸素富化し、その酸素富化した水を再度処分場に散布することで、処分場内に存在する窒素を硝酸態とした後、準好気条件下で脱窒する方法や(特許文献1を参照)、準好気性埋立処分場への空気の供給と水位を管理することによって、好気的領域において硝化菌(通性好気性菌)によってアンモニア性窒素を硝化するとともに、無酸素領域において脱窒菌(通性嫌気性菌)による脱窒を行う方法(特許文献2を参照)等が開発されている。
【先行技術文献】
【特許文献】
【0007】
特開2007-021310号公報
特開2004-351242号公報
【発明の概要】
【発明が解決しようとする課題】
【0008】
しかしながら、脱窒反応には、有機物と硝酸態窒素が必要であるところ、処分場内には窒素が十分に存在するもののその多くはアンモニア態で存在し、硝酸態窒素が無いため嫌気条件下であっても脱窒反応が進まず、一方、処理水は、曝気によって硝化反応が進み硝酸態窒素が十分に生成されるものの有機物が不足するために脱窒反応が進まないという問題があった。
【0009】
そこで、本発明は、このような従来の問題に鑑み、処分場を有効的に活用し、脱窒を行う廃棄物処分場の脱窒方法の提供を目的としてなされたものである。
【課題を解決するための手段】
【0010】
上述の如き従来の問題を解決するための請求項1に記載の発明の特徴は、有機物を含む廃棄物が堆積した廃棄物堆積層を有する廃棄物処分場の脱窒方法において、前記廃棄物堆積層から浸出した浸出水を集水し、排水管を通して前記集水した浸出水を、曝気槽を有する排水処理手段に送り、前記曝気槽において硝化反応させて硝酸態窒素を含む硝酸態窒素含有水を生成し、該硝酸態窒素含有水を準好気条件又は嫌気条件下の前記廃棄物堆積層上に散水し、前記硝酸態窒素と前記廃棄物堆積層に含まれる有機物由来の水素とを反応させて窒素を生成し、該窒素を前記廃棄物堆積層から大気中に放出することにある。
(【0011】以降は省略されています)
この特許をJ-PlatPat(特許庁公式サイト)で参照する
関連特許
五洋建設株式会社
床版部材設置装置及び床版部材の設置方法
20日前
五洋建設株式会社
打音検査方法、打音検査装置、及び打音検査船
2日前
五洋建設株式会社
泥土と製鋼スラグとの混合方法およびシステム
20日前
五洋建設株式会社
鋼管矢板継手の係合状態確認装置及び係合状態確認方法
1か月前
五洋建設株式会社
炭素材含有スラリーの製造方法、及び、深層地盤改良方法
1か月前
五洋建設株式会社
構造物における残存耐力評価に用いる評価装置、評価方法、生成方法及び学習済モデル
2か月前
五洋建設株式会社
トレミー管を用いた粘性材料の投入方法
14日前
五洋建設株式会社
波の振幅推定方法、振幅推定装置、及びプログラム
20日前
五洋建設株式会社
コンクリート供試体用型枠、コンクリート供試体作製方法、若材齢強度試験方法、及びコンクリート構造物強度試験方法
2日前
トヨタ自動車株式会社
空箱処理装置
1か月前
ダイハツ工業株式会社
発酵システム
1か月前
トヨタ自動車株式会社
空箱処理装置
1か月前
花王株式会社
焼却灰の処理方法
12日前
花王株式会社
焼却灰の処理方法
12日前
株式会社クボタ
嫌気性処理方法
3か月前
テクニカ合同株式会社
廃棄鶏の処理方法
12日前
トヨタ自動車株式会社
バイオ炭製造方法
20日前
三菱マテリアル株式会社
被処理物の解体装置
3か月前
株式会社トクヤマ
石膏粒体のか焼方法
1か月前
株式会社マクニカ
乾熱減容処理装置
1か月前
清水建設株式会社
汚染拡散防止構造
1か月前
清水建設株式会社
加熱井戸の設置方法
1か月前
学校法人東京農業大学
メタンガスの製造方法
2か月前
有限会社ジャパンガスセパレーション
メタンガス発生装置
4か月前
鹿島建設株式会社
土壌の浄化方法
1か月前
株式会社ミダック
覆土材料
3か月前
国立大学法人東海国立大学機構
有機物処理装置
3か月前
株式会社クボタ
メタン発酵装置およびメタン発酵処理方法
3か月前
極東開発工業株式会社
廃棄物処理装置
2か月前
株式会社クボタ
収穫残渣の保管方法およびメタン発酵処理方法
3か月前
花王株式会社
吸水性ポリマーの処理方法
3か月前
九電産業株式会社
樹脂複合製品の製造方法
21日前
トヨタ自動車株式会社
乾燥処理装置
2か月前
株式会社大林組
有機フッ素化合物の浄化方法
3か月前
ヤンマーホールディングス株式会社
発酵処理装置
4か月前
株式会社トクヤマ
廃石膏ボードから紙片と石膏粒体を回収する方法
1か月前
続きを見る
他の特許を見る