TOP
|
特許
|
意匠
|
商標
特許ウォッチ
Twitter
他の特許を見る
公開番号
2025093095
公報種別
公開特許公報(A)
公開日
2025-06-23
出願番号
2023208619
出願日
2023-12-11
発明の名称
水銀含有廃棄物の処理方法および水銀含有廃棄物の処理システム
出願人
株式会社クボタ
代理人
個人
,
個人
主分類
B09B
3/40 20220101AFI20250616BHJP(固体廃棄物の処理;汚染土壌の再生)
要約
【課題】触媒反応塔での水銀の吸着を抑制して、水銀吸着塔での水銀の除去効率を向上させる水銀含有廃棄物の処理方法および水銀含有廃棄物の処理システムを提供する。
【解決手段】水銀含有廃棄物を熱処理する熱処理工程と、前記熱処理工程により生じた水銀を含む排ガス中のばいじんを回収する集じん工程と、前記集じん工程を経た排ガスをダイオキシン分解触媒と接触させて排ガスに含まれるダイオキシン類を分解するダイオキシン分解工程と、前記ダイオキシン分解工程を経た排ガスを吸着材と接触させて排ガスに含まれる水銀を吸着除去する水銀吸着工程と、を含み、前記ダイオキシン分解工程に供給される排ガスに含まれる酸性ガスの濃度を目標濃度以上に調整する酸性ガス濃度調整工程を備えている水銀含有廃棄物の処理方法。
【選択図】図1
特許請求の範囲
【請求項1】
水銀含有廃棄物の処理方法であって、
前記水銀含有廃棄物を熱処理する熱処理工程と、
前記熱処理工程により生じた水銀を含む排ガス中のばいじんを回収する集じん工程と、
前記集じん工程を経た排ガスをダイオキシン分解触媒と接触させて排ガスに含まれるダイオキシン類を分解するダイオキシン分解工程と、
前記ダイオキシン分解工程を経た排ガスを吸着材と接触させて排ガスに含まれる水銀を吸着除去する水銀吸着工程と、
を含み、
前記ダイオキシン分解工程に供給される排ガスに含まれる酸性ガスの濃度を目標濃度以上に調整する酸性ガス濃度調整工程を備えている水銀含有廃棄物の処理方法。
続きを表示(約 1,800 文字)
【請求項2】
前記酸性ガス濃度調整工程で調整される前記酸性ガスの目標濃度が、3~100ppmである請求項1記載の水銀含有廃棄物の処理方法。
【請求項3】
前記集じん工程は、排ガスに中和剤を吹き付けて酸性ガスを中和処理して中和物を回収する中和物回収工程を含み、
前記酸性ガス濃度調整工程は、前記中和物回収工程を経た排ガスの酸性ガス濃度を指標にして前記中和剤の吹き付け量を調整する工程である請求項1記載の水銀含有廃棄物の処理方法。
【請求項4】
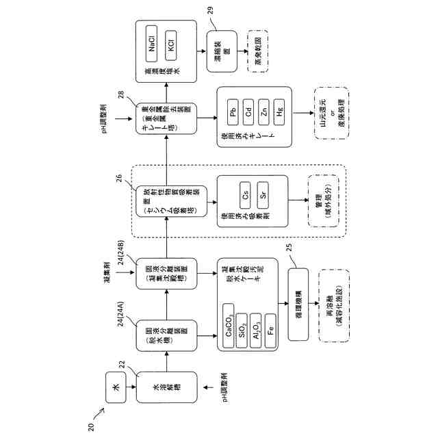
前記水銀含有廃棄物が放射性物質含有物廃棄物であり、
前記熱処理工程が、前記放射性物質含有物を塩素の存在下で前記溶融炉で溶融して、放射性物質を揮散させる溶融処理工程であり、
前記集じん工程が、前記溶融処理工程で揮散させた放射性物質を含む排ガスを、シリカ系助剤またはアルミナ系助剤を剥離剤に用いた集じん装置でばいじんを回収するばいじん回収工程を含み、
前記ばいじん回収工程で回収したばいじんに含まれる放射性物質を水に溶解させる溶解工程と、前記溶解工程を経た水溶液から固形物を回収する固液分離工程と、前記固液分離工程を経た水溶液から放射性物質を吸着除去する放射性物質吸着工程と、を含むばいじん処理工程と、
をさらに備えている請求項1記載の水銀含有廃棄物の処理方法。
【請求項5】
前記固液分離工程は、前記溶解工程を経た水溶液のpHを調整することにより、不溶性のシリカ系助剤またはアルミナ系助剤を含む鉱物元素を固形物として分離する工程であり、
前記固液分離工程で回収した固形物を前記溶融炉で再度溶融する循環溶融工程を含む請求項4記載の水銀含有廃棄物の処理方法。
【請求項6】
前記固液分離工程と前記放射性物質吸着工程との間、または前記放射性物質吸着工程の後に、水溶液のpHを調整することにより、水溶性の重金属類を不溶性の重金属類として除去する重金属除去工程をさらに備えている請求項4記載の水銀含有廃棄物の処理方法。
【請求項7】
水銀含有廃棄物の処理システムであって、
前記水銀含有廃棄物を熱処理する熱処理装置と、
前記熱処理装置により生じた水銀を含む排ガス中のばいじんを回収する集じん装置と、
前記集じん装置を経た排ガスをダイオキシン分解触媒と接触させて排ガスに含まれるダイオキシン類を分解するダイオキシン分解装置と、
前記ダイオキシン分解装置を経た排ガスを吸着材と接触させて排ガスに含まれる水銀を吸着除去する水銀吸着装置と、
を含み、
前記ダイオキシン分解装置に供給される排ガスに含まれる酸性ガスの濃度を目標濃度以上に調整する酸性ガス濃度調整装置を備えている水銀含有廃棄物の処理システム。
【請求項8】
前記酸性ガス濃度調整装置により調整される前記酸性ガスの目標濃度が、3~100ppmである請求項7記載の水銀含有廃棄物の処理システム。
【請求項9】
前記集じん装置は、排ガスに中和剤を吹き付けて酸性ガスを中和処理して中和物を回収する中和物回収装置を含み、
前記酸性ガス濃度調整装置は、前記中和物回収装置を経た排ガスの酸性ガス濃度を指標にして前記中和剤の吹き付け量を調整する装置である請求項7記載の水銀含有廃棄物の処理方法。
【請求項10】
前記水銀含有廃棄物が放射性物質含有物廃棄物であり、
前記熱処理装置が、前記放射性物質含有物を塩素の存在下で溶融して、放射性物質を揮散させる溶融炉であり、
前記集じん装置が、前記溶融炉で揮散させた放射性物質を含む排ガスを、シリカ系助剤またはアルミナ系助剤を剥離剤に用いてばいじんを回収する集じん装置を含み、
前記集塵装置で回収したばいじんに含まれる放射性物質を水に溶解させる溶解装置と、前記放射性物質が溶解した水溶液から固形物を回収する固液分離装置と、前記固液分離装置で固形物が回収された水溶液から放射性物質を吸着除去する放射性物質吸着装置と、を含むばいじん処理装置と、
をさらに備えている請求項7記載の水銀含有廃棄物の処理システム。
(【請求項11】以降は省略されています)
発明の詳細な説明
【技術分野】
【0001】
本発明は、水銀含有廃棄物の処理方法および水銀含有廃棄物の処理システムに関する。
続きを表示(約 1,700 文字)
【背景技術】
【0002】
従来から廃棄物を減容化するために焼却炉や溶融炉などの熱処理装置が用いられている。焼却炉では一般廃棄物などが焼却処理されて主灰と飛灰が回収される。溶融炉では焼却処理で生じた主灰や飛灰、さらには廃水処理で生じた余剰汚泥などが溶融処理されてスラグと飛灰が回収される。
【0003】
また、原子力発電所等の核分裂反応を利用する機器等から漏洩した放射性物質で汚染された土壌や草木、海や河川等の自然環境を回復するために、放射性物質を含む被処理物から放射性物質を分離して濃縮する技術が研究されてきた。
【0004】
例えば、特許文献1に記載されたような放射性セシウム分離濃縮方法を採用することで、放射性物質で汚染された焼却主灰や焼却飛灰さらには土壌を溶融処理して放射性物質を揮散させるとともに、放射性物質が除去された残物質を溶融スラグとして減容化することが可能になる。そして、揮散分離により排ガスに含まれた放射性物質が集じん装置を介してばいじんとして分離することにより、放射性物質を大幅に減容化できるようになり、保管設備を増設する必要性も薄れる。
【0005】
さらに、特許文献2には、放射性物質で汚染された焼却主灰や焼却飛灰などをさらに減容化するとともに、放射性物質を効率的に分離することができる放射性物質含有物の処理方法が提案されている。
【先行技術文献】
【特許文献】
【0006】
特開2016-011924号公報
特開2022-156278号公報
【発明の概要】
【発明が解決しようとする課題】
【0007】
そして、特許文献2には、溶融炉の煙道に中和剤である消石灰を吹き付けて塩化水素などの酸性ガスを中和して除去するバグフィルタを備え、バグフィルタの下流側に排ガスに含まれるダイオキシンを触媒反応により分解するチタンやバナジウムなどの触媒金属を備えた触媒反応塔を備え、さらにその下流側に排ガスに含まれる水銀を除去するペレット状の活性炭が充填された水銀吸着塔が設けられている。
【0008】
本発明の目的は、触媒反応塔での水銀の吸着を抑制して、水銀吸着塔での水銀の除去効率を向上させる水銀含有廃棄物の処理方法および水銀含有廃棄物の処理システムを提供する点にある。
【課題を解決するための手段】
【0009】
上述の目的を達成するため、本発明による水銀含有廃棄物の処理方法の第一特徴構成は、水銀含有廃棄物の処理方法であって、前記水銀含有廃棄物を熱処理する熱処理工程と、前記熱処理工程により生じた水銀を含む排ガス中のばいじんを回収する集じん工程と、前記集じん工程を経た排ガスをダイオキシン分解触媒と接触させて排ガスに含まれるダイオキシン類を分解するダイオキシン分解工程と、前記ダイオキシン分解工程を経た排ガスを吸着材と接触させて排ガスに含まれる水銀を吸着除去する水銀吸着工程と、を含み、前記ダイオキシン分解工程に供給される排ガスに含まれる酸性ガスの濃度を目標濃度以上に調整する酸性ガス濃度調整工程を備えている点にある。
【0010】
熱処理工程で生じた排ガスが集じん工程に送られて排ガスに含まれるばいじんが回収される。さらに排ガスに酸性ガスが含まれる状態でダイオキシン分解工程に送られると、ダイオキシン分解触媒への水銀の吸着が抑制された状態で効率的にダイオキシン類が分解処理され、その後段の水銀吸着工程で排ガスに含まれる水銀が吸着材に効率的に吸着される。本願の発明者らは鋭意研究および試験を重ねた結果、ダイオキシン分解工程に送られる排ガス中に所定濃度の酸性ガスが存在する場合に、ダイオキシン分解触媒への水銀の吸着が抑制され、酸性ガスが含まれない場合には、ダイオキシン分解触媒へ水銀が吸着されるという新知見を得たのである。そのため、酸性ガス濃度調整工程によりダイオキシン分解工程に供給される排ガスに含まれる酸性ガスの濃度が目標濃度に調整されることにより、ダイオキシン分解工程および水銀吸着工程が適正に進むようになる。
(【0011】以降は省略されています)
この特許をJ-PlatPat(特許庁公式サイト)で参照する
関連特許
株式会社クボタ
作業機
2か月前
株式会社クボタ
田植機
25日前
株式会社クボタ
作業車
24日前
株式会社クボタ
作業車
2日前
株式会社クボタ
作業機
24日前
株式会社クボタ
作業車
4日前
株式会社クボタ
作業車
25日前
株式会社クボタ
田植機
25日前
株式会社クボタ
作業車
25日前
株式会社クボタ
田植機
28日前
株式会社クボタ
作業機
1か月前
株式会社クボタ
作業車
1か月前
株式会社クボタ
作業車
1か月前
株式会社クボタ
作業車
2日前
株式会社クボタ
作業機
14日前
株式会社クボタ
作業車両
2か月前
株式会社クボタケミックス
伸縮継手
1か月前
株式会社クボタ
トラクタ
1か月前
株式会社クボタ
トラクタ
1か月前
株式会社クボタ
作業車両
2か月前
株式会社クボタ
作業車両
4日前
株式会社クボタ
作業車両
4日前
株式会社クボタ
作業車両
4日前
株式会社クボタ
作業車両
4日前
株式会社クボタ
作業車両
4日前
株式会社クボタ
作業車両
4日前
株式会社クボタ
作業車両
4日前
株式会社クボタ
作業車両
4日前
株式会社クボタ
作業車両
4日前
株式会社クボタ
圃場作業車
23日前
株式会社クボタ
圃場作業機
1か月前
株式会社クボタ
水田作業機
2か月前
株式会社クボタ
圃場作業車
25日前
株式会社クボタ
汚水処理装置
2か月前
株式会社クボタ
サトウキビ収穫機
24日前
株式会社クボタ
サトウキビ収穫機
24日前
続きを見る
他の特許を見る