TOP
|
特許
|
意匠
|
商標
特許ウォッチ
Twitter
他の特許を見る
10個以上の画像は省略されています。
公開番号
2025119483
公報種別
公開特許公報(A)
公開日
2025-08-14
出願番号
2024014390
出願日
2024-02-01
発明の名称
トラクタ
出願人
株式会社クボタ
代理人
弁理士法人R&C
主分類
F01N
3/08 20060101AFI20250806BHJP(機械または機関一般;機関設備一般;蒸気機関)
要約
【課題】エンジンが排出する排ガスを還元剤によって浄化処理する排ガス浄化装置が備えられたトラクタにおいて、大型の還元剤ポンプでも設け易くする。
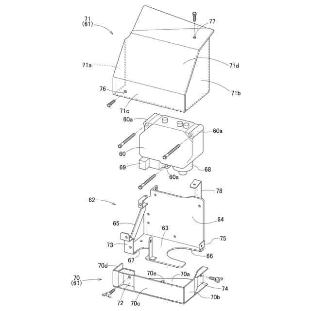
【解決手段】排ガス浄化装置25に還元剤を供給する還元剤ポンプ60が車体フレーム1の横外側に設けられている。還元剤ポンプ60を覆うポンプカバー61が備えられている。
【選択図】図2
特許請求の範囲
【請求項1】
エンジンと、
前記エンジンが排出する排ガスを還元剤によって浄化処理する排ガス浄化装置と、
還元剤を供給する還元剤ポンプと、が備えられ、
前記還元剤ポンプは、車体フレームの横外側に設けられ、
前記還元剤ポンプを覆うポンプカバーが備えられているトラクタ。
続きを表示(約 450 文字)
【請求項2】
搭乗型の運転部と、
前記運転部に対する乗降のための乗降用ステップと、が備えられ、
前記還元剤ポンプは、前記乗降用ステップの内側に位置している請求項1に記載のトラクタ。
【請求項3】
前記還元剤ポンプの底部にメンテナンス部が形成されており、
前記ポンプカバーは、前記還元剤ポンプを下方から覆う下カバー部と、上カバー部とに分割可能である請求項1に記載のトラクタ。
【請求項4】
前記還元剤ポンプを保持するポンプ保持部材に、前記底部と前記下カバー部との間に位置して前記底部に対向する底板部が備えられており、
前記底板部のうち、前記メンテナンス部に対向する部位にメンテナンス口が開口されている請求項3に記載のトラクタ。
【請求項5】
前記車体フレームに支持され、還元剤タンクを保持するタンク保持部材が備えられ、
前記ポンプ保持部材は、前記タンク保持部材に連結されている請求項4に記載のトラクタ。
発明の詳細な説明
【技術分野】
【0001】
本発明は、トラクタに関する。
続きを表示(約 1,000 文字)
【背景技術】
【0002】
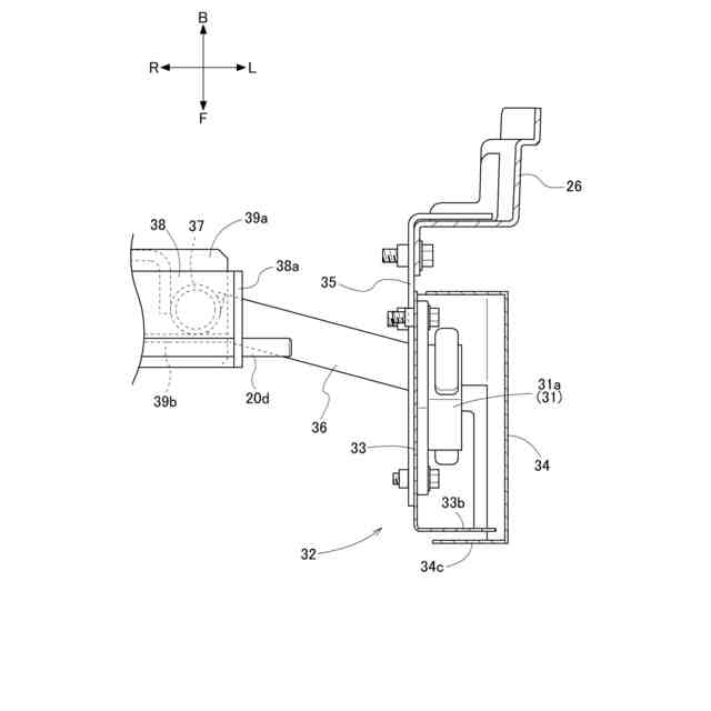
特許文献1に示されるように、エンジンと、エンジンが排出する排ガスを還元剤によって浄化処理する排ガス浄化装置(第2排ガス浄化装置)と、排ガス浄化装置に還元剤を供給する還元剤ポンプと、が備えられたトラクタがある。
【先行技術文献】
【特許文献】
【0003】
特開2023-51493号公報
【発明の概要】
【発明が解決しようとする課題】
【0004】
従来、還元剤ポンプがエンジンルームに設けられたものがある。必要とする還元剤ポンプが大型である場合、設置スペースが確保し難いなどによって設け難い。また、エンジンルームによっては、広くする対策が必要になる。
【0005】
本発明は、大型の還元剤ポンプでも設け易いトラクタを提供する。
【課題を解決するための手段】
【0006】
本発明によるトラクタは、
エンジンと、前記エンジンが排出する排ガスを還元剤によって浄化処理する排ガス浄化装置と、還元剤を供給する還元剤ポンプと、が備えられ、前記還元剤ポンプは、車体フレームの横外側に設けられ、前記還元剤ポンプを覆うポンプカバーが備えられている。
【0007】
本構成によると、広い設置スペースが得やすい車体フレームの横外側に還元剤ポンプを設けるので設置スペースを得るための特別な対策をせずに済む。還元剤ポンプを車体フレームの横外側に設けても、還元剤ポンプがポンプカバーによって保護されるので、大型の還元剤ポンプでも設け易い。
【0008】
本発明においては、
搭乗型の運転部と、前記運転部に対する乗降のための乗降用ステップと、が備えられ、
前記還元剤ポンプは、前記乗降用ステップの内側に位置していると好適である。
【0009】
本構成によると、還元剤ポンプの横外側方に乗降用ステップが位置するので、還元剤ポンプのためのガード部材に乗降用ステップを活用して還元剤ポンプを安価に保護することができる。
【0010】
本発明においては、
前記還元剤ポンプの底部にメンテナンス部が形成されており、前記ポンプカバーは、前記還元剤ポンプを下方から覆う下カバー部と、上カバー部とに分割可能であると好適である。
(【0011】以降は省略されています)
この特許をJ-PlatPat(特許庁公式サイト)で参照する
関連特許
株式会社クボタ
作業車
8日前
株式会社クボタ
作業車
1か月前
株式会社クボタ
作業機
20日前
株式会社クボタ
作業車
10日前
株式会社クボタ
作業車
1日前
株式会社クボタ
作業車
1日前
株式会社クボタ
作業車
8日前
株式会社クボタ
作業車両
10日前
株式会社クボタ
作業車両
10日前
株式会社クボタ
作業車両
10日前
株式会社クボタ
作業車両
10日前
株式会社クボタ
作業車両
10日前
株式会社クボタ
作業車両
10日前
株式会社クボタ
作業車両
10日前
株式会社クボタ
作業車両
10日前
株式会社クボタ
作業車両
10日前
株式会社クボタ
多目的車両
1日前
株式会社クボタ
圃場作業車
29日前
株式会社クボタ
多目的車両
1日前
株式会社クボタ
多目的車両
1日前
株式会社クボタ
コンバイン
1日前
株式会社クボタ
圃場作業車
1日前
株式会社クボタ
コンバイン
1日前
株式会社クボタ
多目的車両
1日前
株式会社クボタ
多目的車両
1日前
株式会社クボタ
多目的車両
1日前
株式会社クボタ
コンバイン
1日前
株式会社クボタ
サトウキビ収穫機
1か月前
株式会社クボタ
サトウキビ収穫機
1か月前
株式会社クボタ
サトウキビ収穫機
1か月前
株式会社クボタ
サトウキビ収穫機
1か月前
株式会社クボタ
サトウキビ収穫機
1か月前
株式会社クボタ
予測装置および予測方法
10日前
株式会社クボタ
推定装置および推定方法
13日前
株式会社クボタ
作業機及び作業機の制御方法
1日前
株式会社クボタケミックス
塩化ビニル系樹脂組成物の成形品
8日前
続きを見る
他の特許を見る