TOP
|
特許
|
意匠
|
商標
特許ウォッチ
Twitter
他の特許を見る
公開番号
2025067776
公報種別
公開特許公報(A)
公開日
2025-04-24
出願番号
2024081782
出願日
2024-05-20
発明の名称
梁構造体、電池ケース及び電池パック
出願人
恵州億緯里能股分有限公司
,
EVE Energy Co., Ltd.
代理人
個人
主分類
H01M
50/242 20210101AFI20250417BHJP(基本的電気素子)
要約
【課題】セルの膨張変形を十分に吸収し、電池ケースの体積を減少させることができる梁構造体を提供する。
【解決手段】梁構造体は、対向して設けられた内板と外板を含み、内板と外板との間に第1のキャビティを有し、内板はセルの側面に向かって設けられており、内板の少なくとも一部の領域はコルゲート構造として構成される。
【選択図】図1
特許請求の範囲
【請求項1】
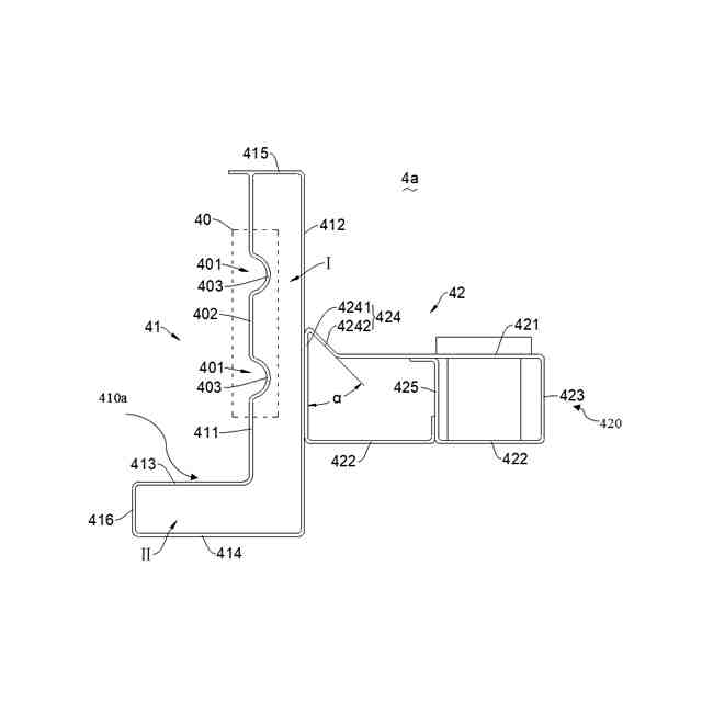
電池ケースに適用される梁構造体であって、対向して設けられた内板(411)と外板(412)を含み、前記内板(411)と前記外板(412)との間に第1のキャビティ(I)を有し、前記内板(411)はセル(3)の側面に向かって設けられており、
前記内板(411)の少なくとも一部の領域は、コルゲート構造(40)として構成される梁構造体。
続きを表示(約 1,100 文字)
【請求項2】
前記コルゲート構造(40)は、前記外板(412)に向かって凹設されたコルゲート溝(401)を有する、請求項1に記載の梁構造体。
【請求項3】
前記コルゲート溝(401)は少なくとも2つがあり、少なくとも2つの前記コルゲート溝(401)は間隔をおいて設けられている、請求項2に記載の梁構造体。
【請求項4】
前記内板(411)における前記コルゲート溝(401)が位置する領域は弾性変形可能な変形段(403)とし、隣接する2つの前記変形段(403)間の間隔領域は受圧段(402)とし、
前記受圧段(402)と前記変形段(403)が円弧で繋がっている、請求項3に記載の梁構造体。
【請求項5】
隣接する2つの前記コルゲート溝(401)間の距離をHとし、前記コルゲート溝(401)の最大幅をDとすると、
0.4≦D/H≦1.2である、請求項3に記載の梁構造体。
【請求項6】
前記Dは20mm≦D≦60mmである、請求項5に記載の梁構造体。
【請求項7】
前記梁構造体は、
前記内板(411)に接続され、前記外板(412)から離反する側へ延在して設けられた第1の支持板(413)と、
前記外板(412)に接続され、前記第1の支持板(413)と延在方向が同じである第2の支持板(414)とを、さらに含み、
前記第1の支持板(413)と前記第2の支持板(414)はそれぞれの延在方向の遠位端にて接続されている、請求項1に記載の梁構造体。
【請求項8】
前記第1の支持板(413)と前記第2の支持板(414)との間には第2のキャビティ(II)を有し、前記第1のキャビティ(I)と前記第2のキャビティ(II)とが貫通している、請求項7に記載の梁構造体。
【請求項9】
前記梁構造体は、前記外板(412)の前記第2の支持板(414)から離れた端に一体的に接続された第3の支持板(415)をさらに含み、前記第3の支持板(415)に前記内板(411)が接続されている、請求項7に記載の梁構造体。
【請求項10】
前記外板(412)の前記内板(411)から離れた側に、ロール成形された掛け部(42)が設けられ、
前記掛け部(42)は1つの第1の接続板段(421)と、前記第1の接続板段(421)の同じ側に位置し互いに接続された少なくとも2つの第2の接続板段(422)とを含み、
少なくとも1つの第2の接続板段(422)には、前記第1の接続板段(421)に当接した補強リブ(425)が設けられている、請求項1~9のいずれか一項に記載の梁構造体。
(【請求項11】以降は省略されています)
発明の詳細な説明
【技術分野】
【0001】
本出願は、2023年10月13日に中国特許庁に提出された出願番号202311332658.8の中国特許出願の優先権を請求し、その出願の内容全体が引用により本出願に組み込まれる。
続きを表示(約 1,400 文字)
【0002】
本発明は電池の技術分野に属し、例えば梁構造体、電池ケース及び電池パックに関する。
【背景技術】
【0003】
電池パックはケースとケース内に設けられたセルを備え、ケースは梁構造体によってケース本体を構成することが一般的であり、関連技術において、セルは充放電中に体積が循環膨張するという現象があり、そこで、セルとケース本体の梁構造体との間に変形間隙を事前に確保する必要があるが、変形間隙の事前確保は、電池ケース内のセルの取り付けの安定性に不利であるとともに、電池ケースの体積を増加させる。
【発明の概要】
【発明が解決しようとする課題】
【0004】
本発明の第1の目的は、セルの膨張変形を十分に吸収し、電池ケースの体積を減少させることができる梁構造体を提供することである。
本発明の第2の目的は、セルを良好に保護することができ、セル装着後の安定性が高い電池ケースを提供することである。
本発明の第3の目的は、構造がコンパクトで安全性が高い電池パックを提供することである。
【課題を解決するための手段】
【0005】
上記の目的を達成するために、本発明は以下の技術方案を採用する。
【0006】
本発明の第1の実施態様では、電池ケースに適用される梁構造体であって、対向して設けられた内板と外板を含み、前記内板と前記外板との間に第1のキャビティを有し、前記内板はセルの側面に向かって設けられており、前記内板の少なくとも一部の領域は、コルゲート構造として構成される梁構造体を提供する。
【0007】
本発明の第2の実施態様では、上述した梁構造体を含むケース本体を備える電池ケースを提供する。
【0008】
本発明の第3の実施態様では、上述した電池ケースを備える電池パックを提供する。
【発明の効果】
【0009】
本発明の有益な効果は以下のとおりである。本発明の梁構造体における内板に設けられたコルゲート構造によって、内板に外力が作用した時に良好な弾性変形能力を持たせ、充放電中にセルの体積の循環膨張という現象が現れて内板に作用した時、内板のコルゲート構造が弾性変形によってセルの循環膨張変形を吸収することができ、それにより、セルは内板、(すなわち梁構造体)にできるだけ近づけるように配置することができ、電池ケース内のセルの装着の安定性を向上させるとともに、電池ケースの体積を減少させることができる。
【図面の簡単な説明】
【0010】
以下、本発明について図面と実施形態を参照しながらさらに詳しく説明する。
本発明の一実施形態による電池パックの平面構造模式図である。
本発明の一実施形態による電池パックの分解模式図である。
本発明の一実施形態による梁構造体の長手方向の横断面模式図である。
本発明の別の実施形態による梁構造体の長手方向の横断面模式図である。
本発明の一実施形態による横梁の長手方向の横断面模式図である。
本発明のさらに別の実施形態による梁構造体の長手方向の横断面模式図である。
【発明を実施するための形態】
(【0011】以降は省略されています)
この特許をJ-PlatPat(特許庁公式サイト)で参照する
関連特許
東ソー株式会社
絶縁電線
20日前
APB株式会社
蓄電セル
18日前
個人
フレキシブル電気化学素子
1か月前
株式会社ユーシン
操作装置
1か月前
株式会社東芝
端子台
12日前
ローム株式会社
半導体装置
1か月前
マクセル株式会社
電源装置
12日前
日新イオン機器株式会社
イオン源
28日前
ローム株式会社
半導体装置
1か月前
ローム株式会社
半導体装置
19日前
オムロン株式会社
電磁継電器
1か月前
株式会社GSユアサ
蓄電装置
13日前
株式会社GSユアサ
蓄電設備
1か月前
株式会社GSユアサ
蓄電設備
1か月前
株式会社ホロン
冷陰極電子源
26日前
太陽誘電株式会社
コイル部品
1か月前
株式会社GSユアサ
蓄電装置
13日前
株式会社GSユアサ
蓄電装置
5日前
日東電工株式会社
積層体
1か月前
トヨタ自動車株式会社
蓄電装置
1か月前
ノリタケ株式会社
熱伝導シート
1か月前
トヨタ自動車株式会社
バッテリ
18日前
サクサ株式会社
電池の固定構造
1か月前
トヨタ自動車株式会社
バッテリ
1か月前
北道電設株式会社
配電具カバー
18日前
トヨタ自動車株式会社
蓄電装置
13日前
日本特殊陶業株式会社
保持装置
21日前
トヨタ自動車株式会社
冷却構造
20日前
日新イオン機器株式会社
基板処理装置
15日前
日本特殊陶業株式会社
保持装置
4日前
株式会社トクヤマ
シリコンエッチング液
26日前
住友電装株式会社
コネクタ
20日前
トヨタ自動車株式会社
密閉型電池
14日前
トヨタ自動車株式会社
電池パック
25日前
日東電工株式会社
電子装置
1か月前
SMK株式会社
キートップ及びスイッチ
1か月前
続きを見る
他の特許を見る