TOP
|
特許
|
意匠
|
商標
特許ウォッチ
Twitter
他の特許を見る
公開番号
2025062161
公報種別
公開特許公報(A)
公開日
2025-04-14
出願番号
2023171044
出願日
2023-10-02
発明の名称
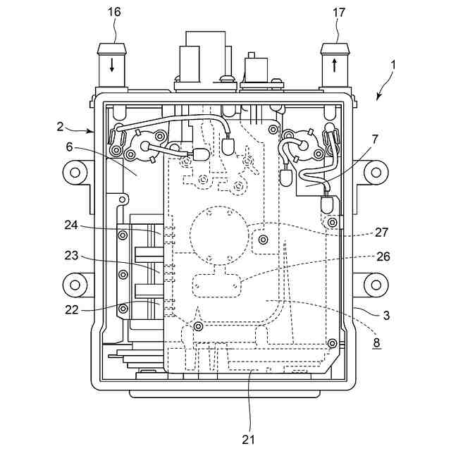
熱媒体加熱装置
出願人
サンデン株式会社
代理人
個人
主分類
F24H
1/10 20220101AFI20250407BHJP(加熱;レンジ;換気)
要約
【課題】熱媒体流路を相互に離間して配置すると共に、その場合にも装置の小型化を図ることができる熱媒体加熱装置を提供する。
【解決手段】熱媒体加熱装置1は、筐体2内に並設された熱媒体流路9、11と、各熱媒体流路の一端部を連通する連通流路12と、一方の熱媒体流路の他端部に構成された熱媒体流入部16と、他方の熱媒体流路の他端部に構成された熱媒体流出部17と、電気ヒータ18、19を備えて熱媒体を加熱する。筐体内に設けられ、電気ヒータを制御するための制御装置を構成する回路部品が実装された制御基板21を備え、各熱媒体流路を、相互に離間して配置すると共に、回路部品を、各熱媒体流路間の間隔8内に配置した。
【選択図】図3
特許請求の範囲
【請求項1】
筐体内に並設された少なくとも二つの熱媒体流路と、各熱媒体流路の一端部を連通する連通流路と、一方の前記熱媒体流路の他端部に構成された熱媒体流入部と、他方の前記熱媒体流路の他端部に構成された熱媒体流出部と、電気ヒータを備え、該電気ヒータにより、前記熱媒体流入部から流入した前記熱媒体を加熱する熱媒体加熱装置において、
前記筐体内に設けられ、前記電気ヒータを制御するための制御装置を構成する回路部品が実装された制御基板を備え、
前記各熱媒体流路を、相互に離間して配置すると共に、
前記回路部品を、前記各熱媒体流路間の間隔内に配置したことを特徴とする熱媒体加熱装置。
続きを表示(約 470 文字)
【請求項2】
前記制御装置は、少なくとも前記熱媒体流入部より流入する前記熱媒体の温度を検出する温度センサを備え、該温度センサに基づき、前記電気ヒータを制御することを特徴とする請求項1に記載の熱媒体加熱装置。
【請求項3】
前記電気ヒータは、前記各熱媒体流路内にそれぞれ配置されていることを特徴とする請求項1に記載の熱媒体加熱装置。
【請求項4】
前記制御基板には、前記電気ヒータの通電を制御するためのパワースイッチング素子が実装されており、少なくとも前記パワースイッチング素子より寸法が大きい前記回路部品を前記間隔内に配置することを特徴とする請求項1に記載の熱媒体加熱装置。
【請求項5】
前記間隔内に配置する前記回路部品は、ノイズフィルタを構成するコンデンサ及び/又はチョークコイルであることを特徴とする請求項4に記載の熱媒体加熱装置。
【請求項6】
前記パワースイッチング素子は、前記熱媒体と熱交換関係に配置することを特徴とする請求項4又は請求項5に記載の熱媒体加熱装置。
発明の詳細な説明
【技術分野】
【0001】
本発明は、筐体内に構成された熱媒体流路を流れる熱媒体を電気ヒータにより加熱する熱媒体加熱装置に関するものである。
続きを表示(約 1,400 文字)
【背景技術】
【0002】
従来より車両の車室内空調等に用いられる熱媒体加熱装置は、筐体内に熱媒体流路を構成し、この熱媒体流路内にカートリッジヒータと称される円筒状の電気ヒータを配置して、熱媒体流路を流れる熱媒体を加熱するものであった。この場合、筐体内には例えば二つの熱媒体流路が設けられ、それらの一端部を連通流路により連通し、各熱媒体流路内にそれぞれ電気ヒータを配置して、一方の熱媒体流路の他端部に形成した熱媒体流入部から流入した熱媒体を各電気ヒータで加熱した後、他方の熱媒体流路の他端部に形成した熱媒体流出部から流出させるものであった(例えば、特許文献1参照)。
【先行技術文献】
【特許文献】
【0003】
特表2016-536197号公報
【発明の概要】
【発明が解決しようとする課題】
【0004】
ここで、装置の小型化を目的として各電気ヒータが設けられた熱媒体流路を近接させ過ぎると、一方の熱媒体流路を流れる熱媒体と他方の熱媒体流路を流れる熱媒体同士が熱交換してしまい、熱媒体流入部から流入した熱媒体の温度が実際よりも高く検出されたり、熱媒体流出部から流出する熱媒体が冷やされてしまうという問題があった。
【0005】
本発明は、係る従来の技術的課題を解決するために成されたものであり、熱媒体流路を相互に離間して配置すると共に、その場合にも装置の小型化を図ることができる熱媒体加熱装置を提供することを目的とする。
【課題を解決するための手段】
【0006】
上記課題を解決するために、本発明の熱媒体加熱装置は、筐体内に並設された少なくとも二つの熱媒体流路と、各熱媒体流路の一端部を連通する連通流路と、一方の熱媒体流路の他端部に構成された熱媒体流入部と、他方の熱媒体流路の他端部に構成された熱媒体流出部と、電気ヒータを備え、この電気ヒータにより、熱媒体流入部から流入した熱媒体を加熱するものであって、筐体内に設けられ、電気ヒータを制御するための制御装置を構成する回路部品が実装された制御基板を備え、各熱媒体流路を、相互に離間して配置すると共に、回路部品を、各熱媒体流路間の間隔内に配置したことを特徴とする。
【0007】
請求項2の発明の熱媒体加熱装置は、上記発明において制御装置は、少なくとも熱媒体流入部より流入する熱媒体の温度を検出する温度センサを備え、この温度センサに基づき、電気ヒータを制御することを特徴とする。
【0008】
請求項3の発明の熱媒体加熱装置は、請求項1の発明において電気ヒータは、各熱媒体流路内にそれぞれ配置されていることを特徴とする。
【0009】
請求項4の発明の熱媒体加熱装置は、請求項1の発明において制御基板には、電気ヒータの通電を制御するためのパワースイッチング素子が実装されており、少なくともパワースイッチング素子より寸法が大きい回路部品を前記間隔内に配置することを特徴とする。
【0010】
請求項5の発明の熱媒体加熱装置は、上記発明において前記間隔内に配置する回路部品は、ノイズフィルタを構成するコンデンサ及び/又はチョークコイルであることを特徴とする。
(【0011】以降は省略されています)
この特許をJ-PlatPat(特許庁公式サイト)で参照する
関連特許
他の特許を見る