TOP
|
特許
|
意匠
|
商標
特許ウォッチ
Twitter
他の特許を見る
公開番号
2025060400
公報種別
公開特許公報(A)
公開日
2025-04-10
出願番号
2024110690
出願日
2024-07-10
発明の名称
ガスセンサ
出願人
日本特殊陶業株式会社
代理人
個人
主分類
G01N
27/409 20060101AFI20250403BHJP(測定;試験)
要約
【課題】セパレータの後端側での端子金具の破断を抑制したガスセンサを提供する。
【解決手段】後端側の主面20m1、20m2に複数の電極パッド21a、21bを有する板状のセンサ素子20と、電極パッドに電気的に接続される複数の板状の端子金具71と、センサ素子の後端側および端子金具を収容する収容部50hを有するセパレータ50と、外筒46と、セパレータの後端側に配置される弾性部材製のグロメット47と、を備えたガスセンサ10であって、収容部の内面は拡径部50sを有し、グロメットは、端子金具の後端部、及びリード線48を挿通するグロメット孔47aを有し、さらに、グロメットの先端側の外周には、主面に垂直な方向Fにグロメットを縮径させる縮径部材80が嵌合され、縮径部材は、外筒に形成されてグロメットを固定する加締め部46cよりも先端側で、かつグロメット内の端子金具と軸線O方向に重なる領域に配置されている。
【選択図】図1
特許請求の範囲
【請求項1】
軸線方向に延び、後端側の主面に複数の電極パッドを有する板状のセンサ素子と、
前記電極パッドのそれぞれに電気的に接続される複数の板状の端子金具と、
前記軸線方向に貫通して前記センサ素子の後端側および前記端子金具を収容する収容部を有し、前記端子金具を保持するセパレータと、
前記センサ素子及び前記セパレータを収容する外筒と、
前記セパレータの後端側に配置されて前記外筒の後端側の開口を閉塞する弾性部材製のグロメットと、
を備えたガスセンサであって、
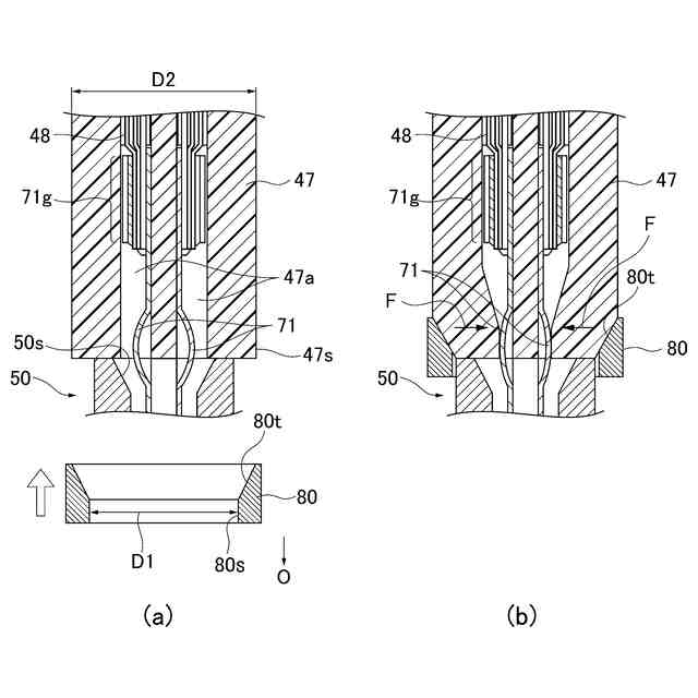
前記収容部の内面は、前記セパレータの後端向き面に向かうにつれて前記主面に垂直な方向に向かって拡径する拡径部を有し、
前記グロメットは、前記端子金具の後端部、及び前記後端部に接続されるリード線を挿通するグロメット孔を有し、
前記複数の電極パッド及び前記複数の端子金具は、前記センサ素子の幅方向に離間して並び、
さらに、前記グロメットの先端側の外周には、少なくとも前記主面に垂直な方向に前記グロメットを縮径させる縮径部材が嵌合され、
前記縮径部材は、前記外筒に形成されて前記グロメットを固定する加締め部よりも先端側で、かつ前記グロメット内の前記端子金具と前記軸線方向に重なる領域に配置されていることを特徴とするガスセンサ。
続きを表示(約 380 文字)
【請求項2】
前記縮径部材は、前記グロメットの全周を包囲することを特徴とする請求項1に記載のガスセンサ。
【請求項3】
前記端子金具の後端部には前記リード線に接続される接続部が設けられ、
前記縮径部材は、前記接続部よりも先端側に配置されていることを特徴とする請求項1又は2に記載のガスセンサ。
【請求項4】
前記縮径部材は、前記グロメットよりも先端側に延びていることを特徴とする請求項1又は2に記載のガスセンサ。
【請求項5】
前記縮径部材は、内面に、後端縁に向かって拡径するテーパ部と、前記テーパ部よりも先端側のストレート部と、を有し、
前記ストレート部の内径D1は、前記縮径部材に嵌合されていない状態の前記グロメットの外形D2よりも小さいことを特徴とする請求項1又は2に記載のガスセンサ。
発明の詳細な説明
【技術分野】
【0001】
本発明は、例えば燃焼器や内燃機関等の燃焼ガスや排気ガス中に含まれる特定ガスのガス濃度を検出するのに好適に用いられるガスセンサに関する。
続きを表示(約 2,000 文字)
【背景技術】
【0002】
自動車等の排気ガス中の酸素やNO
x
の濃度を検出するガスセンサとして、固体電解質を用いた板状のセンサ素子を有するものが知られている。
この種のガスセンサとして、板状のセンサ素子の対向する主面の後端側に複数の電極パッドを設け、この電極パッドのそれぞれに端子金具を電気的に接触させてセンサ素子からのセンサ出力信号を外部に取り出すものが用いられている(特許文献1)。
【0003】
また、特許文献1のガスセンサでは、各端子金具は、2分割式の絶縁性コネクタ(セパレータ)に保持されている。このコネクタはそれぞれ同一形状の箱型のハウジング内に各端子金具を収容し、各ハウジングを合わせて金属製のクランプで固定する。そして、コネクタの挿通孔にセンサ素子の後端側を挿入すると、コネクタ内部の端子金具が電極パッドと電気的に接触するようになっている。
一方、コネクタの後端側では、挿通孔は後端向き面に向かい、かつセンサ素子の主面に垂直な方向にて径方向外側に拡径している。これにより、コネクタの後端側に引き出される端子金具がコネクタの内面と干渉することが抑制される。
【先行技術文献】
【特許文献】
【0004】
特開2014-209104号公報
【発明の概要】
【発明が解決しようとする課題】
【0005】
しかしながら、コネクタの後端側が拡径していると、端子金具とコネクタとの間隔が大きくなり、ガスセンサの使用時の振動等によってコネクタ内で端子金具が振れて破断し易くなることが判明した。
そこで、本発明は、セパレータの後端側での端子金具の破断を抑制したガスセンサの提供を目的とする。
【課題を解決するための手段】
【0006】
上記課題を解決するため、本発明のガスセンサは、軸線方向に延び、後端側の主面に複数の電極パッドを有する板状のセンサ素子と、前記電極パッドのそれぞれに電気的に接続される複数の板状の端子金具と、前記軸線方向に貫通して前記センサ素子の後端側および前記端子金具を収容する収容部を有し、前記端子金具を保持するセパレータと、前記センサ素子及び前記セパレータを収容する外筒と、前記セパレータの後端側に配置されて前記外筒の後端側の開口を閉塞する弾性部材製のグロメットと、を備えたガスセンサであって、前記収容部の内面は、前記セパレータの後端向き面に向かうにつれて前記主面に垂直な方向に向かって拡径する拡径部を有し、前記グロメットは、前記端子金具の後端部、及び前記後端部に接続されるリード線を挿通するグロメット孔を有し、前記複数の電極パッド及び前記複数の端子金具は、前記センサ素子の幅方向に離間して並び、さらに、前記グロメットの先端側の外周には、少なくとも前記主面に垂直な方向に前記グロメットを縮径させる縮径部材が嵌合され、前記縮径部材は、前記外筒に形成されて前記グロメットを固定する加締め部よりも先端側で、かつ前記グロメット内の前記端子金具と前記軸線方向に重なる領域に配置されていることを特徴とする。
【0007】
端子金具は板状であって、板面がセンサ素子の主面に向いている。板状の端子金具は板面に垂直な方向に振れるため、ガスセンサの使用時等の振動により、端子金具は径方向内側(センサ素子の中央側)に振れて破断し易くなる。
そこで、このガスセンサによれば、端子金具の周囲のグロメット孔が縮径部材に押圧されて径方向内側に収縮し、グロメット孔の内壁が端子金具に接触ないし近接して端子金具を保持する。その結果、端子金具が径方向内側に振れることを抑制ないし低減し、端子金具の破断を抑制できる。
【0008】
本発明のガスセンサにおいて、前記縮径部材は、前記グロメットの全周を包囲してもよい。
このガスセンサによれば、グロメットを確実に縮径できる。
【0009】
本発明のガスセンサにおいて、前記端子金具の後端部には前記リード線に接続される接続部が設けられ、前記縮径部材は、前記接続部よりも先端側に配置されていてもよい。
接続部はリード線を保持するために端子金具の他の部位よりも太くなっている。そこで、接続部を避けた位置で縮径部材がグロメットを縮径することで、グロメットを確実に縮径できる。
【0010】
本発明のガスセンサにおいて、前記縮径部材は、前記グロメットよりも先端側に延びていてもよい。
縮径部材の先端がグロメットの先端よりも後端側に配置された場合、グロメットの先端部が十分に縮径されないことがある。そこで、縮径部材がグロメットよりも先端側に延びることで、グロメットの先端部も確実に縮径できる。
(【0011】以降は省略されています)
この特許をJ-PlatPat(特許庁公式サイト)で参照する
関連特許
日本特殊陶業株式会社
センサ
1か月前
日本特殊陶業株式会社
賦形体
4日前
日本特殊陶業株式会社
圧電素子
1か月前
日本特殊陶業株式会社
保持装置
9日前
日本特殊陶業株式会社
加熱装置
1か月前
日本特殊陶業株式会社
保持装置
1か月前
日本特殊陶業株式会社
保持装置
16日前
日本特殊陶業株式会社
ガスセンサ
11日前
日本特殊陶業株式会社
化学センサ
18日前
日本特殊陶業株式会社
電極埋設部材
17日前
日本特殊陶業株式会社
スパークプラグ
1か月前
日本特殊陶業株式会社
スパークプラグ
16日前
日本特殊陶業株式会社
無鉛圧電磁器組成物
1か月前
日本特殊陶業株式会社
セルスタックシステム
16日前
日本特殊陶業株式会社
アンモニアの合成装置
26日前
日本特殊陶業株式会社
アンモニアの合成装置
26日前
日本特殊陶業株式会社
電極および蓄電デバイス
17日前
日本特殊陶業株式会社
電極および蓄電デバイス
17日前
日本特殊陶業株式会社
検知装置および検知方法
16日前
日本特殊陶業株式会社
アンモニアの合成システム
26日前
日本特殊陶業株式会社
磁性コイル、および無線給電用デバイス
16日前
日本特殊陶業株式会社
無線給電用コイル、および無線給電用デバイス
3日前
日本特殊陶業株式会社
酸素発生反応用触媒、電極、および電気化学デバイス
9日前
日本特殊陶業株式会社
センサ素子、ガスセンサ、およびセンサ素子の製造方法
17日前
日本特殊陶業株式会社
インターカレーションのための溶液、インターカレーション方法、電極の製造方法、電極および電気化学素子
26日前
日本特殊陶業株式会社
電気化学セル、固体酸化物形電解セル、セルスタック、ホットモジュール、およびガス製造装置
1か月前
日本精機株式会社
検出装置
18日前
個人
採尿及び採便具
24日前
個人
計量機能付き容器
13日前
個人
高精度同時多点測定装置
1か月前
個人
アクセサリー型テスター
1か月前
株式会社カクマル
境界杭
3日前
株式会社ミツトヨ
測定器
1か月前
甲神電機株式会社
電流検出装置
18日前
アズビル株式会社
電磁流量計
1か月前
株式会社ヨコオ
ソケット
1か月前
続きを見る
他の特許を見る