TOP
|
特許
|
意匠
|
商標
特許ウォッチ
Twitter
他の特許を見る
10個以上の画像は省略されています。
公開番号
2025057058
公報種別
公開特許公報(A)
公開日
2025-04-09
出願番号
2023166690
出願日
2023-09-28
発明の名称
塗布装置
出願人
中外炉工業株式会社
代理人
個人
主分類
B05C
5/02 20060101AFI20250402BHJP(霧化または噴霧一般;液体または他の流動性材料の表面への適用一般)
要約
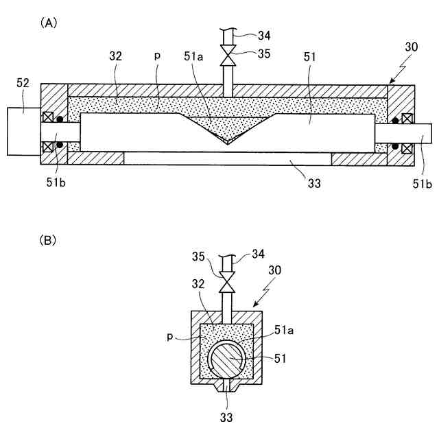
【課題】 被塗布体の表面に塗液を塗布する塗布装置において、被塗布体に対して塗液を塗布する塗布幅や塗布位置を変化させながら、塗液を被塗布体の表面の正確な位置に塗布できるようにする。
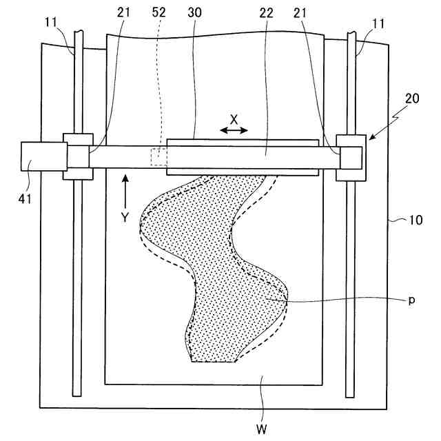
【解決手段】 塗布用ノズル30のスリット状吐出口33から塗液pを被塗布体Wに吐出させると共に、塗布用ノズルと被塗布体とを塗布方向Yに相対的に移動させて、被塗布体の表面に塗液を塗布するにあたり、スリット状吐出口から吐出される塗液の幅を調整する幅調整手段50等を設け、各種の塗布条件データーにおける演算式を記憶させた記憶手段60に基づき、スリット状吐出口から吐出される塗液の幅と実際に被塗布体に塗布される塗液の幅との幅差分等を算出手段62により算出し、算出された幅差分等に基づいて、制御装置63により幅調整手段等を制御する。
【選択図】 図2
特許請求の範囲
【請求項1】
塗布用ノズルにおける塗液収容部内に供給された塗液を、塗布用ノズルの先端部におけるスリット状吐出口を通して被塗布体に吐出させると共に、前記の塗布用ノズルと被塗布体とを、被塗布体に塗液を塗布する塗布方向に相対的に移動させて、被塗布体の表面に塗液を塗布する塗布装置において、前記の塗液収容部内における塗液を前記のスリット状吐出口を通して吐出させる幅を調整する幅調整手段を設け、前記の幅調整手段により被塗布体に塗布する塗液の幅を変更させるにあたり、各種の塗布条件データーにおける演算式を記憶させた記憶手段に基づいて、前記の幅調整手段によって調整されてスリット状吐出口から吐出される塗液の幅と、実際に被塗布体に塗布される塗液の幅との幅差分を算出手段により算出し、前記の算出手段によって算出された幅差分に基づいて、制御装置により前記の幅調整手段を制御して、スリット状吐出口を通して吐出される塗液の幅を調整することを特徴とする塗布装置。
続きを表示(約 1,200 文字)
【請求項2】
塗布用ノズルにおける塗液収容部内に供給された塗液を、塗布用ノズルの先端部におけるスリット状吐出口を通して被塗布体に吐出させると共に、前記の塗布用ノズルと被塗布体とを、被塗布体に塗液を塗布する塗布方向に相対的に移動させて、被塗布体の表面に塗液を塗布する塗布装置において、前記の塗布用ノズルと被塗布体とを前記の塗布方向と交差する方向に相対的に移動させる交差方向移動手段を設け、前記の交差方向移動手段により塗布用ノズルと被塗布体とを塗布方向と交差する方向に相対的に移動させて、被塗布体に塗布する塗液の位置を塗布方向と交差する方向に移動させるにあたり、各種の塗布条件データーにおける演算式を記憶させた記憶手段に基づいて、前記の交差方向移動手段によって塗布用ノズルと被塗布体とが塗布方向と交差する方向に相対的に移動される位置と、実際に被塗布体に塗布される塗液の移動位置との位置差分を算出手段により算出し、前記の算出手段によって算出された位置差分に基づいて、制御装置により前記の交差方向移動手段を制御して、塗布用ノズルと被塗布体とを塗布方向と交差する方向に相対的に移動させる位置を調整することを特徴とする塗布装置。
【請求項3】
塗布用ノズルにおける塗液収容部内に供給された塗液を、塗布用ノズルの先端部におけるスリット状吐出口を通して被塗布体に吐出させると共に、前記の塗布用ノズルと被塗布体とを、被塗布体に塗液を塗布する塗布方向に相対的に移動させて、被塗布体の表面に塗液を塗布する塗布装置において、前記の塗液収容部内における塗液を前記のスリット状吐出口を通して吐出させる幅を調整する幅調整手段と、前記の塗布用ノズルと被塗布体とを前記の塗布方向と交差する方向に相対的に移動させる交差方向移動手段を設け、前記の幅調整手段により被塗布体に塗布する塗液の幅を変更させると共に、前記の交差方向移動手段により塗布用ノズルと被塗布体とを塗布方向と交差する方向に相対的に移動させて、被塗布体に塗布する塗液の位置を塗布方向と交差する方向に移動させるにあたり、各種の塗布条件データーにおける演算式を記憶させた記憶手段に基づいて、前記の幅調整手段によって調整されてスリット状吐出口から吐出される塗液の幅と、実際に被塗布体に塗布される塗液の幅との幅差分を算出手段により算出すると共に、前記の交差方向移動手段によって塗布用ノズルと被塗布体とが塗布方向と交差する方向に相対的に移動される位置と、実際に被塗布体に塗布される塗液の移動位置との位置差分を算出手段により算出し、前記の算出手段によって算出された幅差分に基づいて、制御装置により前記の幅調整手段を制御して、スリット状吐出口を通して吐出される塗液の幅を調整すると共に、前記の算出手段によって算出された算出された位置差分に基づいて、制御装置により前記の交差方向移動手段を制御して、塗布用ノズルと被塗布体とを塗布方向と交差する方向に相対的に移動させる位置を調整することを特徴とする塗布装置。
発明の詳細な説明
【技術分野】
【0001】
本発明は、塗布用ノズルにおける塗液収容部内に供給された塗液を、塗布用ノズルの先端部におけるスリット状吐出口を通して被塗布体に吐出させると共に、前記の塗布用ノズルと被塗布体とを、被塗布体に塗液を塗布する塗布方向に相対的に移動させて、被塗布体の表面に塗液を塗布するようにした塗布装置に関するものである。特に、前記のような塗布装置において、被塗布体に対して塗液を塗布する塗布幅や塗布位置を変化させる場合に、被塗布体に対して塗液を正確な塗布幅になるようにし、また被塗布体に対して塗液を正確な塗布位置に塗布できるようにした点に特徴を有するものである。
続きを表示(約 1,800 文字)
【背景技術】
【0002】
従来から、半導体デバイスや液晶パネル等を製造するにあたって、塗布装置により、ガラスやフィルム等の被塗布体に対し、薬液や塗料などの塗液を塗布することが行われている。
【0003】
また、近年はそのような装置の複雑な動きを自動化させるための演算式として、特許文献1に示されるような「重み付け」や「活性化関数」などを用いた「ニューラルネットワーク」が採用されることがある。
【0004】
そして、このように被塗布体に対して薬液や塗料などを塗布するにあたり、従来は、一般に四角形状や円形状等の一定した形状に塗布するようにしていたが、近年においては、商品が多様化し、様々な被塗布体に対して様々な形状に塗液を塗布することが行われるようになっている。
【0005】
ここで、従来においては、特許文献2に示されるように、スリット状吐出口を備えた塗布用ノズルを用い、塗布用ノズルにおける塗液収容部内に収容させた塗液を塗布用ノズルの先端部におけるスリット状吐出口から被塗布体に吐出させると共に、前記の塗布用ノズルと被塗布体とを、被塗布体に塗液を塗布する塗布方向に相対的に移動させて、被塗布体の表面に塗液を塗布する塗布装置が使用されている。
【0006】
しかし、特許文献2に示されるものは、被塗布体の表面に塗液を四角形状に塗布させることはできるが、被塗布体に対して塗液を塗布する塗布幅や塗布位置を変化させながら、塗液を様々な形状になるようにして被塗布体の表面に塗布させることはできなかった。
【0007】
また、特許文献3においては、塗液収容部内における塗液をスリット状吐出口に導く所定のパターン形状になった案内凹部が外周面に設けられた円柱状の塗液供給体を、前記のスリット状吐出口の上に位置するようにして回転可能に設け、前記の塗液供給体をスリット状吐出口の上で回転させて、塗液収容部内における塗液を前記の案内凹部を通して前記のスリット状吐出口に導いて、被塗布体の表面に塗布させるようにし、塗液供給体に設ける案内凹部の形状等に合わせて、被塗布体の表面に塗布する塗液の幅を変化させるようにしたものが示されている。
【0008】
また、特許文献4においては、円筒状のノズル体に軸方向に沿った長い吐出スリットを設けると共に、このノズル体内に台形状の切欠孔が設けられた円筒状の調整内筒を回転可能に嵌挿させ、ノズル体における吐出スリットに対して、この調整内筒に設けられた切欠孔を合わせる位置を調整して、被塗布体の表面に塗布する塗液の幅を変化させるようにしたものが示されている。
【0009】
さらに、特許文献5においては、塗布用ノズルにおける塗液収容部内に供給された塗液を、塗布用ノズルの先端部におけるスリット状吐出口を通して被塗布体に吐出させると共に、前記の塗布用ノズルと被塗布体とを、被塗布体に塗液を塗布する塗布方向に相対的に移動させて、被塗布体の表面に塗液を塗布する塗布装置において、前記のスリット状吐出口を通して前記の塗液収容部内における塗液を被塗布体に塗布する幅を調整する幅調整手段を設けると共に、前記の塗布用ノズルと被塗布体とを、前記の塗布方向と交差する方向に相対的に移動させる交差方向移動手段を設け、前記の幅調整手段により、被塗布体の表面に塗布する塗液の幅を変化させるようにし、また前記の交差方向移動手段により、塗液を塗布させる被塗布体における幅方向の位置を変更させるようにしたものが示されている。
【0010】
しかし、前記の特許文献3、4に示されるように、塗布用ノズルと被塗布体とを被塗布体に塗液を塗布する塗布方向に相対的に移動させながら、被塗布体の表面に塗液を塗布する幅を変化させる場合や、特許文献4に示されるように、被塗布体の表面に塗布する塗液の幅を変化させたり、塗液を塗布させる被塗布体における幅方向の位置を変更させたりする場合には、その変化や変更の際に、塗布用ノズルのスリット状吐出口から被塗布体の表面に供給される塗液が、既に被塗布体の表面に塗布されている塗液に引きずられてしまい、所望する所定の塗布位置に正確に塗布させることができなくなるという問題があった。
(【0011】以降は省略されています)
この特許をJ-PlatPat(特許庁公式サイト)で参照する
関連特許
ベック株式会社
被膜形成方法
3か月前
ベック株式会社
被膜形成方法
3か月前
ベック株式会社
被膜形成方法
2日前
株式会社吉野工業所
キャップ
3か月前
ベック株式会社
装飾被膜の形成方法
2か月前
アイカ工業株式会社
塗料仕上げ工法
21日前
スズカファイン株式会社
多色性塗膜
10日前
個人
スプレー缶高所対応携帯ホルダー
21日前
プルガティオ株式会社
噴霧装置
3か月前
日本ライナー株式会社
塗装装置
22日前
株式会社カネカ
塗布装置
10日前
プルガティオ株式会社
噴霧装置
3か月前
トヨタ自動車株式会社
塗布装置
8日前
能美防災株式会社
水噴霧ヘッド
6日前
プルガティオ株式会社
噴霧装置
3か月前
ヒット工業株式会社
マスキング具
1か月前
中外炉工業株式会社
塗工装置
2か月前
株式会社吉野工業所
ポンプ式吐出器
3か月前
東レエンジニアリング株式会社
スリットダイ
2日前
株式会社吉野工業所
吐出器
3か月前
株式会社吉野工業所
吐出器
3か月前
旭サナック株式会社
粉体塗装装置
1か月前
積水ハウス株式会社
接着剤塗布装置
2か月前
株式会社トーモク
印刷装置および印刷方法
21日前
三菱鉛筆株式会社
多液混合型塗布具
2か月前
株式会社大関
塗装用ローラとその製造方法
3か月前
個人
散水形態を変更可能な吐水装置
7日前
AWJ株式会社
ステンシルプレートセット
1か月前
トリニティ工業株式会社
回転霧化式塗装機
6日前
株式会社吉野工業所
ノズル部材
3か月前
Mipox株式会社
塗装物の製造方法
1か月前
株式会社吉野工業所
吐出器
1か月前
有限会社橋本漆芸
ガラス瓶の漆調塗装及び加飾
1か月前
株式会社吉野工業所
吐出器
3か月前
株式会社吉野工業所
吐出器
1か月前
株式会社吉野工業所
吐出器
1か月前
続きを見る
他の特許を見る