TOP
|
特許
|
意匠
|
商標
特許ウォッチ
Twitter
他の特許を見る
10個以上の画像は省略されています。
公開番号
2025047166
公報種別
公開特許公報(A)
公開日
2025-04-03
出願番号
2023155499
出願日
2023-09-21
発明の名称
比重分離装置
出願人
株式会社クボタ
代理人
個人
,
個人
主分類
C22B
1/00 20060101AFI20250326BHJP(冶金;鉄または非鉄合金;合金の処理または非鉄金属の処理)
要約
【課題】分離対象物から高比重物を効率的に分離回収でき、かつ、回収された高比重物に混入する低比重物量を抑えて高い回収率で回収できる比重分離装置を提供する。
【解決手段】上端側から分離対象物が投入される円錐状ドラムと、下端側に接続された排出管から供給される分離作用水により比重分離し、低比重物を円錐状ドラムの上端から排出し、高比重物を排出管から回収する比重分離装置であって、排出管の少なくとも一部に内側断面形状が横長に形成された横長部を備え、横長部から高比重物を回収する高比重物回収管が下方に向けて分岐接続され、高比重物回収管の分岐部よりも下方に備えた第1の給水部から分離作用水が供給される。
【選択図】図8
特許請求の範囲
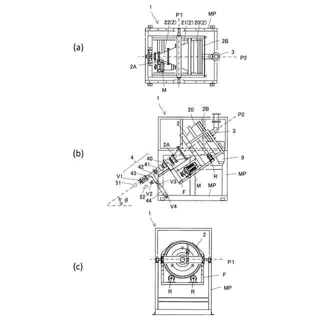
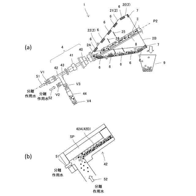
【請求項1】
傾斜姿勢の軸心周りに回転可能に支持され、下端側に小径開口が形成されるとともに上端側に大径開口が形成された円錐状ドラムと、
前記円錐状ドラムに粒状の分離対象物を投入する投入部と、
傾斜姿勢に配置され、上端側が前記小径開口に連通した排出管と、
を備え、前記円錐状ドラムの回転状態で前記排出管から前記円錐状ドラムに向けて分離作用水を供給し、前記小径開口から前記排出管に前記分離作用水の流れに抗して流下した前記分離対象物に含まれる高比重物を回収するとともに、前記円錐状ドラムの前記大径開口から前記分離対象物に含まれる低比重物を前記分離作用水とともに排出して回収する比重分離装置であって、
前記排出管の少なくとも一部に内側断面形状が横長に形成された横長部を備え、前記横長部から前記高比重物を回収する高比重物回収管が下方に向けて分岐接続され、前記高比重物回収管の分岐部よりも下方に備えた第1の給水部から前記分離作用水が供給される比重分離装置。
続きを表示(約 420 文字)
【請求項2】
前記横長部の内側断面形状が、矩形、台形、楕円、半円、蒲鉾型の何れかである請求項1記載の比重分離装置。
【請求項3】
前記横長部の内側底面が平坦に形成されている請求項1記載の比重分離装置。
【請求項4】
前記横長部および前記高比重物回収管が透光性部材で形成されている請求項1記載の比重分離装置。
【請求項5】
前記高比重物回収管に備えた第2の給水部から前記排出管に向けて分離作用水が上昇するように供給される請求項1記載の比重分離装置。
【請求項6】
前記円錐状ドラムの回転に伴って前記分離対象物を撹拌する撹拌羽根が、前記円錐状ドラムの内壁に立設されている請求項1記載の比重分離装置。
【請求項7】
円錐状ドラムの内側から前記小径開口または前記小径開口の近傍に向けて、流体を噴射する流体噴射機構を設けている請求項1記載の比重分離装置。
発明の詳細な説明
【技術分野】
【0001】
本発明は、比重差を利用して粒状の分離対象物を分離する比重分離装置に関し、例えば廃棄物溶融スラグなどから有価金属を分離回収する技術に関する。
続きを表示(約 1,700 文字)
【背景技術】
【0002】
都市ごみ焼却灰、シュレッダーダスト、産業廃棄物の埋立物などを原料として溶融炉で溶融処理された廃棄物溶融スラグには、金、銀、銅、白金、パラジウムなどの有価金属が含まれており、有価金属を廃棄物溶融スラグから分離して回収できれば再資源化が可能となる。一方で廃棄物溶融スラグの破砕物を土木建設用骨材や窯業原料として資源化する場合には、不純物となる有価金属などの金属類をその前段階で分離回収することができれば、廃棄物溶融スラグのより有効な再資源化を図ることができる。
【0003】
特許文献1には、水平に対して所定角度に傾斜した回転軸心回りに回転し、円錐部を有する筒体をなす回転胴と、回転胴の下端側に位置する円錐部の頂部に形成した小径開口に接続する排出部と、回転胴の上端側の大径開口から回転胴内に挿入し、先端開口が円錐部の頂部に対向する分離対象物投入部とを備え、排出部は小径開口に接続される反対端に給水手段を接続し、該給水手段が分離作用水を供給するとともに、途中に分離物を排出する分離物排出手段を接続した比重分離装置が開示されている。
【先行技術文献】
【特許文献】
【0004】
特開2003-211019号公報
【発明の概要】
【発明が解決しようとする課題】
【0005】
例えば、粒状の分離対象物が相対的に比重の大きな金属類と相対的に比重の小さなスラグの混合物である廃棄物溶融スラグの破砕物などの場合、上述の比重分離装置を好適に用いることができる。
【0006】
図13(a)には、比重分離装置への分離対象物の投入量と金属類の回収率との関係が示されている。比重分離装置への分離対象物の投入量を増加させると、分離効率が低下して金属類が分離作用水によりスラグとともに大径開口から排出される傾向が高くなり、金属の回収率が低下する。逆に比重分離装置への分離対象物の投入量を減少させると、金属の回収率が上昇するが、分離に要する時間が長くなる。
【0007】
また、分離作用水の水流を抑制すると金属類の回収率は上昇するが、同時に回収された金属類に混入するスラグの量が増加して不純物濃度が上昇する。不純物濃度が上昇すると回収された有価金属の売却益が低下する。分離作用水の水流を増加させると不純物濃度は低下するが、金属の回収率が低下する。
【0008】
分離対象物がスラグと金属の混合物以外の粒状物であっても、上述した傾向に変わりはない。例えば鉱山から採掘された鉱物の選鉱後の廃石を破砕した粒状物を分離対象物として、微量の鉱物を分離回収する場合などである。
【0009】
本発明の目的は、分離対象物から高比重物を効率的に分離回収でき、かつ、回収された高比重物に混入する低比重物量を抑えて高い回収率で回収できる比重分離装置を提供する点にある。
【課題を解決するための手段】
【0010】
上述の目的を達成するため、本発明による比重分離装置の第一の特徴構成は、傾斜姿勢の軸心周りに回転可能に支持され、下端側に小径開口が形成されるとともに上端側に大径開口が形成された円錐状ドラムと、前記円錐状ドラムに粒状の分離対象物を投入する投入部と、傾斜姿勢に配置され、上端側が前記小径開口に連通した排出管とを備え、前記円錐状ドラムの回転状態で前記排出管から前記円錐状ドラムに向けて分離作用水を供給し、前記小径開口から前記排出管に前記分離作用水の流れに抗して流下した前記分離対象物に含まれる高比重物を回収するとともに、前記円錐状ドラムの前記大径開口から前記分離対象物に含まれる低比重物を前記分離作用水とともに排出して回収する比重分離装置であって、前記排出管の少なくとも一部に内側断面形状が横長に形成された横長部を備え、前記横長部から前記高比重物を回収する高比重物回収管が下方に向けて分岐接続され、前記高比重物回収管の分岐部よりも下方に備えた第1の給水部から前記分離作用水が供給される点にある。
(【0011】以降は省略されています)
この特許をJ-PlatPat(特許庁公式サイト)で参照する
関連特許
株式会社クボタ
作業車
1か月前
株式会社クボタ
作業車
15日前
株式会社クボタ
作業車
1か月前
株式会社クボタ
作業車
1か月前
株式会社クボタ
作業車
1か月前
株式会社クボタ
作業車
1か月前
株式会社クボタ
作業車
1か月前
株式会社クボタ
作業車
1か月前
株式会社クボタ
作業車
23日前
株式会社クボタ
移植機
23日前
株式会社クボタ
移植機
23日前
株式会社クボタ
作業車
22日前
株式会社クボタ
作業車
22日前
株式会社クボタ
作業車
16日前
株式会社クボタ
作業車
15日前
株式会社クボタ
作業車
23日前
株式会社クボタ
作業車
10日前
株式会社クボタ
作業機
2日前
株式会社クボタ
作業車
1か月前
株式会社クボタ
作業車
9日前
株式会社クボタ
作業車両
1か月前
株式会社クボタ
作業車両
1か月前
株式会社クボタ
作業車両
1か月前
株式会社クボタ
作業車両
1か月前
株式会社クボタ
作業車両
1か月前
株式会社クボタ
作業車両
1か月前
株式会社クボタ
作業車両
3日前
株式会社クボタ
作業車両
1か月前
株式会社クボタ
作業車両
1か月前
株式会社クボタ
作業車両
15日前
株式会社クボタ
作業車両
1か月前
株式会社クボタ
作業車両
1か月前
株式会社クボタ
作業車両
15日前
株式会社クボタ
作業車両
16日前
株式会社クボタ
作業車両
1か月前
株式会社クボタ
コンバイン
1か月前
続きを見る
他の特許を見る