TOP
|
特許
|
意匠
|
商標
特許ウォッチ
Twitter
他の特許を見る
公開番号
2025034198
公報種別
公開特許公報(A)
公開日
2025-03-13
出願番号
2023140437
出願日
2023-08-30
発明の名称
梱包体
出願人
株式会社日本触媒
代理人
弁理士法人アスフィ国際特許事務所
主分類
C01B
21/064 20060101AFI20250306BHJP(無機化学)
要約
【課題】ボラジン化合物を繰り返し収納してもボラジン化合物を劣化させることなく安全に保存または輸送することができる容器とボラジン化合物を備える梱包体を提供することを目的とする。
【解決手段】液体と、前記液体を収納する密閉容器と、前記密閉容器内の空間に充填された気体を備える梱包体であって、前記液体は、ボラジン化合物を含むものであり、前記気体は不活性ガスであり、前記密閉容器は0.1MPa以上の耐圧性と遮光性を有し、前記密閉容器は、液体収納部を有し、前記液体収納部の内部表面の表面粗度(Ra)が1.0μm以下であることを特徴とする梱包体。
【選択図】図3
特許請求の範囲
【請求項1】
液体と、前記液体を収納する密閉容器と、前記密閉容器内の空間に充填された気体を備える梱包体であって、
前記液体は、ボラジン化合物を含むものであり、
前記気体は不活性ガスであり、
前記密閉容器は0.1MPa以上の耐圧性と遮光性を有し、
前記密閉容器は、液体収納部を有し、
前記液体収納部の内部表面の表面粗度(Ra)が1.0μm以下であることを特徴とする梱包体。
続きを表示(約 950 文字)
【請求項2】
前記密閉容器は、前記液体収納部を備える容器本体と、少なくとも2個のバルブを有している請求項1に記載の梱包体。
【請求項3】
前記の2個のバルブのうち、第1バルブは、不活性ガスを前記容器本体内に注入するものであり、第2バルブは、前記液体を液体状または気体状で、前記容器本体内から外部へ吐出するものである請求項2に記載の梱包体。
【請求項4】
前記第1バルブ及び前記第2バルブは、いずれもダイヤフラムバルブである請求項3に記載の梱包体。
【請求項5】
前記液体収納部において表面粗度(Ra)が1.0μm以下であり、内部表面には電解研磨が施されている請求項1または2に記載の梱包体。
【請求項6】
前記液体に含まれるボラジン化合物の純度が99%以上である請求項1または2に記載の梱包体。
【請求項7】
前記ボラジン化合物が、式(I)の構造式で表される請求項1または2に記載の梱包体。
TIFF
2025034198000005.tif
40
54
[式(I)中、R
11
、R
12
、R
13
、R
21
、R
22
及びR
23
は同一であっても異なっていてもよく、水素原子またはアルキル基である。]
【請求項8】
前記密閉容器内の空間に充填された気体が、窒素ガスまたはアルゴンガスを含む不活性ガスである請求項1または2に記載の梱包体。
【請求項9】
前記密閉容器内の空間に充填された気体の露点が-70℃以下である請求項1または2に記載の梱包体。
【請求項10】
前記密閉容器は、更に前記第1バルブから伸びた注入パイプと、前記第2バルブから伸びた吐出パイプとを含み、
前記第1バルブにより注入される前記不活性ガスは、前記注入パイプの先へ導かれ、
前記第2バルブにより吐出される前記液体または気体は、前記吐出パイプの先から導かれる請求項3または4に記載の梱包体。
(【請求項11】以降は省略されています)
発明の詳細な説明
【技術分野】
【0001】
本発明は、保存または輸送するための液体と、液体を収納する密閉容器と、密閉容器内の空間に充填された気体とを備える梱包体に関し、特にボラジン化合物を含む液体を備える梱包体に関するものである。
続きを表示(約 2,600 文字)
【背景技術】
【0002】
半導体素子の高速化及び高集積化に伴って、信号の遅延を防ぐため、層間絶縁膜の誘電率を下げることが求められている。低誘電率を示す材料として、例えば、特許文献1、2では、分子内にボラジン骨格を有するボラジン化合物が提案されている。
【0003】
従来、ボラジン化合物は実験室レベルで少量のみ合成され、試薬瓶等に保存されるのが通常であったが、今後、大量生産されることを考慮すれば、より大きな容器中で輸送または保存する必要が生じてくるが、特に半導体向け材料においては、成膜安定性や電気特性の観点から高純度が求められ、輸送または保存後にもボラジン化合物の純度が低下しないことが重要である。このような課題を解決する技術として、特許文献3にはボラジン化合物保存用容器の洗浄方法が開示されており、ボラジン化合物保存用容器を純水で洗浄後、窒素ガスでフローしたときの窒素ガスの露点が-30℃以下になるまで乾燥する段階を有することを特徴としている。
【先行技術文献】
【特許文献】
【0004】
特開2000-340689号公報
特開2003-119289号公報
特開2008-110940号公報
【発明の概要】
【発明が解決しようとする課題】
【0005】
ボラジン化合物を輸送または保存するための容器は、洗浄するなどして繰り返し使用することがあるが、一度ボラジン化合物を収納した容器の内部表面には、ボラジン化合物の重合物や微量酸素による分解物などの固形の残存物が付着することがあり、この固形残存物は、一旦容器内に付着してしまうと、通常の溶媒などによる洗浄では完全に除去することが難しく、繰り返し容器を使用することで、内部表面に付着する固形残存物の量は増加する傾向にあった。
【0006】
本発明者らが検討したところ、この固形残存物は微量であっても、容器内にボラジン化合物を再度収納した場合に、ボラジン化合物の重合や分解を促進させる場合があり、繰り返し使用する度に、収納したボラジン化合物の純度低下が進行し、ボラジン化合物を安全に輸送または保存できないという問題があることが明らかとなった。
【0007】
そこで、本発明は、ボラジン化合物を繰り返し収納してもボラジン化合物を劣化させることなく安全に保存または輸送することができる容器とボラジン化合物を備える梱包体を提供することを目的とする。
【課題を解決するための手段】
【0008】
上記課題を達成した本発明は以下の通りである。
[1]液体と、前記液体を収納する密閉容器と、前記密閉容器内の空間に充填された気体を備える梱包体であって、
前記液体は、ボラジン化合物を含むものであり、
前記気体は不活性ガスであり、
前記密閉容器は0.1MPa以上の耐圧性と遮光性を有し、
前記密閉容器は、液体収納部を有し、
前記液体収納部の内部表面の表面粗度(Ra)が1.0μm以下であることを特徴とする梱包体。
[2]前記密閉容器は、前記液体収納部を備える容器本体と、少なくとも2個のバルブを有している[1]に記載の梱包体。
[3]前記の2個のバルブのうち、第1バルブは、不活性ガスを前記容器本体内に注入するものであり、第2バルブは、前記液体を液体状または気体状で、前記容器本体内から外部へ吐出するものである[2]に記載の梱包体。
[4]前記第1バルブ及び前記第2バルブは、いずれもダイヤフラムバルブである[3]に記載の梱包体。
[5]前記液体収納部において表面粗度(Ra)が1.0μm以下である内部表面には電解研磨が施されている[1]~[4]のいずれかに記載の梱包体。
[6]前記液体に含まれるボラジン化合物の純度が99%以上である[1]~[5]のいずれかに記載の梱包体。
[7]前記ボラジン化合物が、式(I)の構造式で表される[1]~[6]のいずれかに記載の梱包体。
TIFF
2025034198000002.tif
40
54
[式(I)中、R
11
、R
12
、R
13
、R
21
、R
22
及びR
23
は同一であっても異なっていてもよく、水素原子またはアルキル基である。]
[8]前記密閉容器内の空間に充填された気体が、窒素ガスまたはアルゴンガスを含む不活性ガスである[1]~[7]のいずれかに記載の梱包体。
[9]前記密閉容器内の空間に充填された気体の露点が-70℃以下である請求項[1]~[8]のいずれかに記載の梱包体。
[10]前記密閉容器は、更に前記第1バルブから伸びた注入パイプと、前記第2バルブから伸びた吐出パイプとを含み、
前記第1バルブにより注入される前記不活性ガスは、前記注入パイプの先へ導かれ、
前記第2バルブにより吐出される前記液体または気体は、前記吐出パイプの先から導かれる[3]~[9]のいずれかに記載の梱包体。
[11]前記容器本体は、下側に位置する前記液体収納部と、上側に位置する蓋部とを有し、
前記蓋部には、前記少なくとも2個のバルブの全てが取付けられており、
前記液体収納部と前記蓋部とは、パッキンを介して圧接されている[2]~[10]のいずれかに記載の梱包体。
【発明の効果】
【0009】
本発明によれば、ボラジン化合物の収納容器を繰り返し用いた場合であっても、ボラジン化合物を劣化させることなく安全に保存または輸送することができる。
【図面の簡単な説明】
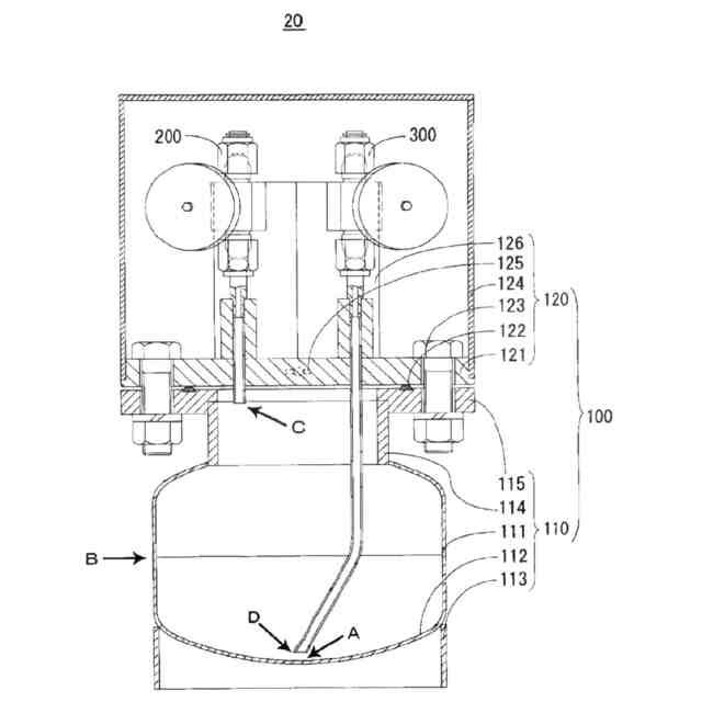
【0010】
本発明に係る梱包体の一実施形態の外観を示す図である。
図1の上面図である。
図1のA-A断面図である。
本発明における第1バルブ部の一実施態様の断面図である。
本発明における第2バルブ部の一実施態様の断面図である。
【発明を実施するための形態】
(【0011】以降は省略されています)
この特許をJ-PlatPat(特許庁公式サイト)で参照する
関連特許
株式会社タクマ
固体炭素化設備
15日前
三菱重工業株式会社
加熱装置
15日前
株式会社トクヤマ
酸性次亜塩素酸水の製造方法
3日前
日揮触媒化成株式会社
珪酸液およびその製造方法
18日前
デンカ株式会社
窒化ケイ素粉末
17日前
デンカ株式会社
窒化ケイ素粉末
17日前
住友化学株式会社
無機アルミニウム化合物粉末
2日前
デンカ株式会社
窒化ケイ素粉末の製造方法
22日前
デンカ株式会社
セラミックス粉末の製造方法
22日前
JFEエンジニアリング株式会社
ドライアイス製造システム
3日前
トヨタ自動車株式会社
光触媒を用いた水素ガス製造装置
10日前
トヨタ自動車株式会社
光触媒を用いた水素ガス製造装置
15日前
日揮触媒化成株式会社
粉体及びその製造方法、並びに樹脂組成物
22日前
日本電気株式会社
繊維状カーボンナノホーン集合体の接着分離方法
18日前
デンカ株式会社
窒化ホウ素粉末、及び樹脂成形体
18日前
デンカ株式会社
窒化ホウ素粉末、及び樹脂成形体
18日前
エヌ・イーケムキャット株式会社
ゼオライトの製造方法
17日前
株式会社大阪チタニウムテクノロジーズ
四塩化チタン製造方法
22日前
日揮触媒化成株式会社
多孔質の三次粒子を含む粉体、及びその製造方法
18日前
デンカ株式会社
窒化ケイ素粉末、及びその製造方法
22日前
デンカ株式会社
窒化ケイ素粉末、及びその製造方法
22日前
日本特殊陶業株式会社
アンモニアの合成システム
4日前
三菱ケミカル株式会社
建材用金属酸化物層被覆体、及びその製造方法
22日前
デンカ株式会社
窒化ケイ素粉末、及び窒化ケイ素焼結体の製造方法
22日前
日産化学株式会社
シリカ二次粒子と該シリカ二次粒子を含む膜形成用組成物
9日前
デンカ株式会社
窒化ホウ素粉末、及び窒化ホウ素粉末の製造方法
22日前
日産化学株式会社
低誘電正接シリカ粒子及びその製造方法
18日前
JFEスチール株式会社
黒鉛の精製方法
15日前
株式会社ジョンクェルコンサルティング
グラフェンの製造方法
11日前
日本電気株式会社
ナノカーボン複合体、これを用いたボロメータ、およびこれらの製造方法
18日前
日本ゼオン株式会社
硫化カルボニルの製造方法
2日前
三菱鉛筆株式会社
非水系カーボンナノチューブスラリー及び正極用分散体
15日前
国立研究開発法人物質・材料研究機構
複合材料、その製造方法およびそれを用いた水晶振動子ガスセンサ
11日前
株式会社フジミインコーポレーテッド
シリカゾルの製造方法およびシリカゾル
22日前
三菱マテリアル株式会社
金属酸化物微粒子、および、金属酸化物微粒子分散液
22日前
JFEスチール株式会社
コークスの製造方法
18日前
続きを見る
他の特許を見る