TOP
|
特許
|
意匠
|
商標
特許ウォッチ
Twitter
他の特許を見る
10個以上の画像は省略されています。
公開番号
2025030524
公報種別
公開特許公報(A)
公開日
2025-03-07
出願番号
2023135890
出願日
2023-08-23
発明の名称
半導体装置
出願人
ローム株式会社
代理人
個人
,
個人
主分類
H01L
25/00 20060101AFI20250228BHJP(基本的電気素子)
要約
【課題】半導体装置の絶縁耐圧の向上を図ること。
【解決手段】半導体装置10は、第1回路20を含む第1チップ50と、第1チップ50に対してX方向に離隔して配置され、第2回路30を含む第2チップ60と、第1チップ50の上に配置され、トランス40を含むトランスチップ70と、を含む。第1回路20と第2回路30とは、トランス40を介して信号を伝達するように構成されている。トランスチップ70は、第3素子絶縁層72と、トランス40として、第3素子絶縁層72内に配置された外側コイル100および内側コイル110と、を含む。平面視において、内側コイル110は、外側コイル100の内側に外側コイル100とは重ならないように配置されている。
【選択図】図11
特許請求の範囲
【請求項1】
第1回路を含む第1チップと、
前記第1チップに対して第1方向に離隔して配置され、第2回路を含む第2チップと、
前記第1チップの上に配置され、トランスを含むトランスチップと、
を含み、前記第1回路と前記第2回路とは、前記トランスを介して信号または電力を伝達するように構成され、
前記トランスチップは、
第3素子絶縁層と、
前記トランスとして、前記第3素子絶縁層内に配置された外側コイルおよび内側コイルと、
を含み、
前記第3素子絶縁層の厚さ方向から視て、前記内側コイルは、前記外側コイルの内側に前記外側コイルとは重ならないように配置されている
半導体装置。
続きを表示(約 2,100 文字)
【請求項2】
前記トランスチップは、前記第3素子絶縁層と接する第3半導体基板を含み、
前記トランスチップが前記第1チップの上に配置されたチップ配置状態において、前記第3半導体基板は、前記第3素子絶縁層と前記第1チップとの間に介在している
請求項1に記載の半導体装置。
【請求項3】
前記第3素子絶縁層は、第3素子表面と、前記第3素子表面とは反対側の第3素子裏面と、を含み、
前記外側コイルは、前記第1回路と電気的に接続されており、
前記内側コイルは、前記第3素子絶縁層のうち前記第3素子裏面よりも前記第3素子表面の近くに配置されている
請求項2に記載の半導体装置。
【請求項4】
前記第1回路は、送信回路を含み、
前記第2回路は、受信回路を含み、
前記外側コイルと前記送信回路とは、送信側ワイヤを介して電気的に接続され、
前記内側コイルと前記受信回路とは、受信側ワイヤを介して電気的に接続され、
前記送信側ワイヤの長さは、前記受信側ワイヤの長さよりも短い
請求項1に記載の半導体装置。
【請求項5】
前記内側コイルおよび前記外側コイルは、前記厚さ方向において互いに同じ位置に配置されている
請求項1に記載の半導体装置。
【請求項6】
前記第3素子絶縁層は、窒化シリコンを含む第1絶縁膜と、前記第1絶縁膜上に積層された酸化シリコンを含む第2絶縁膜とを含む絶縁体が複数積層された構造を含み、
前記内側コイルおよび前記外側コイルは、特定の1つの前記絶縁体である特定絶縁体を貫通するように設けられており、
前記第3素子絶縁層は、前記第1絶縁膜によって構成され、前記内側コイルおよび前記外側コイルを覆うように前記特定絶縁体の前記第2絶縁膜に接するカバー絶縁膜を含み、
前記特定絶縁体の前記第1絶縁膜のうち前記内側コイルと前記外側コイルとの間の部分は、前記第3素子絶縁層の厚さ方向と直交する方向に離隔して設けられた複数の分離絶縁膜を含み、
前記カバー絶縁膜のうち前記内側コイルと前記外側コイルとの間の部分は、前記厚さ方向と直交する方向に離隔して設けられた複数のカバー側分離絶縁膜を含み、
前記複数の分離絶縁膜および前記カバー側分離絶縁膜の各々は、前記第2絶縁膜によって構成されている
請求項1に記載の半導体装置。
【請求項7】
前記複数の分離絶縁膜および前記カバー側分離絶縁膜の各々は、環状に形成されている
請求項6に記載の半導体装置。
【請求項8】
前記第3素子絶縁層は、窒化シリコンを含む第1絶縁膜と、前記第1絶縁膜上に積層された酸化シリコンを含む第2絶縁膜とを含む絶縁体が複数積層された構造であり、
前記内側コイルおよび前記外側コイルは、特定の1つの前記絶縁体である特定絶縁体を貫通するように設けられており、
前記第3素子絶縁層は、前記第1絶縁膜によって構成され、前記内側コイルおよび前記外側コイルを覆うように前記特定絶縁体の前記第2絶縁膜に接するカバー絶縁膜を含み、
前記特定絶縁体の前記第1絶縁膜のうち前記内側コイルと前記外側コイルとの間の部分は、前記第3素子絶縁層の厚さ方向と直交する方向に離隔して設けられ、前記カバー絶縁膜に向けて開口する複数の凹部を含み、
前記カバー絶縁膜のうち前記内側コイルと前記外側コイルとの間の部分は、前記厚さ方向と直交する方向に離隔して設けられ、前記特定絶縁体の前記第1絶縁膜に向けて開口する複数のカバー側凹部を含み、
前記複数の凹部および前記複数のカバー側凹部の各々には、前記第2絶縁膜が埋め込まれている
請求項1に記載の半導体装置。
【請求項9】
前記複数の凹部および前記複数のカバー側凹部の各々は、環状に形成されている
請求項8に記載の半導体装置。
【請求項10】
前記外側コイルは、第1端および第2端をそれぞれ有する第1外側コイルおよび第2外側コイルを含み、
前記第1外側コイルの第2端および前記第2外側コイルの第2端は互いに接続されており、
前記第1外側コイルおよび前記第2外側コイルは、前記第1外側コイルおよび前記第2外側コイルのうち一方の外側コイルの第1端から他方の外側コイルの第1端に電流が流れた場合に互いに逆向きの磁束が生じるように構成されており、
前記内側コイルは、第1端および第2端をそれぞれ有する第1内側コイルおよび第2内側コイルを含み、
前記第3素子絶縁層の厚さ方向から視て、前記第1内側コイルは前記第1外側コイルの内側に前記第1外側コイルとは重ならいように配置され、前記第2内側コイルは前記第2外側コイルの内側に前記第2外側コイルとは重ならないように配置されている
請求項1に記載の半導体装置。
(【請求項11】以降は省略されています)
発明の詳細な説明
【技術分野】
【0001】
本開示は、半導体装置に関する。
続きを表示(約 3,000 文字)
【背景技術】
【0002】
特許文献1には、半導体基板と、この基板に形成された絶縁層積層構造と、絶縁層積層構造内に形成された上コイルおよび下コイルとを含むトランスチップが開示されている。
【先行技術文献】
【特許文献】
【0003】
特開2018-78169号公報
【0004】
[概要]
ところで、トランスチップの絶縁耐圧の向上が求められる場合がある。
【0005】
本開示の一態様の半導体装置は、第1回路を含む第1チップと、前記第1チップに対して第1方向に離隔して配置され、第2回路を含む第2チップと、前記第1チップの上に配置され、トランスを含むトランスチップと、を含み、前記第1回路と前記第2回路とは、前記トランスを介して信号または電力を伝達するように構成され、前記トランスチップは、第3素子絶縁層と、前記トランスとして、前記第3素子絶縁層内に配置された外側コイルおよび内側コイルと、を含み、前記第3素子絶縁層の厚さ方向から視て、前記内側コイルは、前記外側コイルの内側に前記外側コイルとは重ならないように配置されている。
【図面の簡単な説明】
【0006】
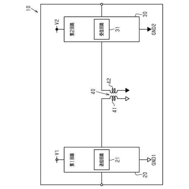
図1は、第1実施形態の半導体装置の概略回路図である。
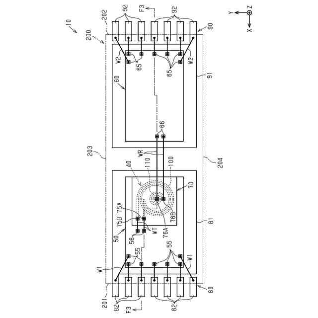
図2は、図1の半導体装置の概略平面図である。
図3は、図2のF3-F3線で半導体装置を切断した概略断面図である。
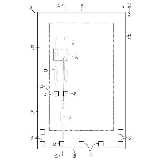
図4は、図2の半導体装置における第1チップの概略平面図である。
図5は、図4のF5-F5線で第1チップを切断した概略断面図である。
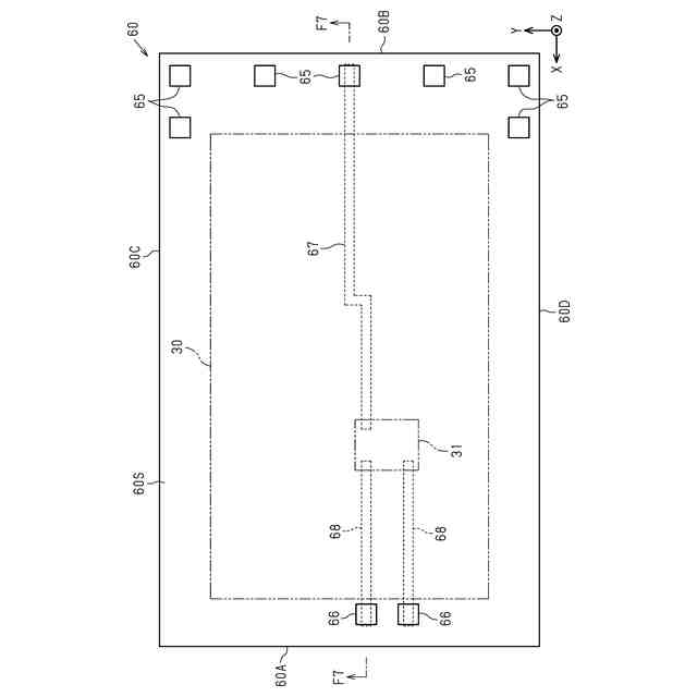
図6は、図2の半導体装置における第2チップの概略平面図である。
図7は、図6のF7-F7線で第2チップを切断した概略断面図である。
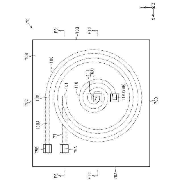
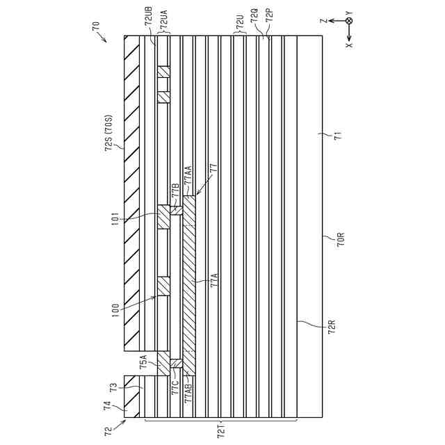
図8は、図2の半導体装置におけるトランスチップの概略平面図である。
図9は、図8のF9-F9線でトランスチップを切断した概略断面図である。
図10は、図8のF10-F10線でトランスチップを切断した概略断面図である。
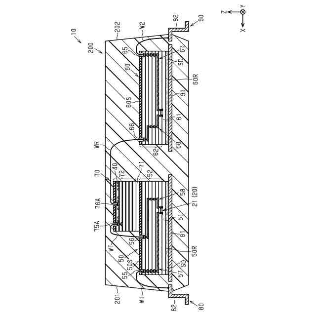
図11は、図3の半導体装置において、第1チップ、第2チップ、トランスチップ、およびその周辺を拡大した概略断面図である。
図12は、第2実施形態の半導体装置におけるトランスチップの概略断面図である。
図13は、第3実施形態の半導体装置の概略回路図である。
図14は、図13の半導体装置の概略平面図である。
図15は、図14の半導体装置におけるトランスチップの概略平面図である。
図16は、図15のF16-F16線でトランスチップおよび第1チップを切断した概略断面図である。
図17は、図15のF17-F17線でトランスチップおよび第1チップを切断した概略断面図である。
図18は、第1実施形態の半導体装置の第1変更例において、トランスチップの概略断面図である。
図19は、第1実施形態の半導体装置の第2変更例において、トランスチップの概略断面図である。
図20は、第1実施形態の半導体装置の第2変更例において、トランスチップの一部の分解斜視図である。
図21は、第1実施形態の半導体装置の第3変更例において、トランスチップの概略断面図である。
図22は、第1実施形態の半導体装置の第4変更例において、トランスチップの概略断面図である。
図23は、第2実施形態の半導体装置の変更例において、トランスチップの一部の概略断面図である。
図24は、第3実施形態の半導体装置の第1変更例において、トランスチップの概略断面図である。
図25は、第3実施形態の半導体装置の第2変更例において、トランスチップの概略断面図である。
図26は、第3実施形態の半導体装置の第2変更例において、トランスチップの一部の分解斜視図である。
図27は、第3実施形態の半導体装置の第3変更例において、トランスチップの概略断面図である。
図28は、第3実施形態の半導体装置の第4変更例において、トランスチップの概略断面図である。
図29は、第3実施形態の半導体装置の第5変更例において、トランスチップの概略平面図である。
図30は、第3実施形態の半導体装置の第5変更例において、トランスチップの概略平面図である。
図31は、第3実施形態の半導体装置の変更例において、トランスチップの一部の概略断面図である。
図32は、第3実施形態の半導体装置の変更例において、トランスチップの一部の概略断面図である。
図33は、第3実施形態の半導体装置の変更例において、トランスチップの一部の概略断面図である。
図34は、第3実施形態の半導体装置の変更例において、トランスチップの一部の概略断面図である。
図35は、変更例の半導体装置において、第1チップ、トランスチップ、およびその周辺の概略断面図である。
図36は、変更例の半導体装置において、第1チップ、第2チップ、トランスチップ、およびその周辺の概略断面図である。
図37は、変更例の半導体装置の概略平面図である。
図38は、変更例の半導体装置の概略平面図である。
図39は、変更例の半導体装置の概略回路図である。
【0007】
[詳細な説明]
以下、添付図面を参照して本開示の半導体装置のいくつかの実施形態について説明する。なお、説明を簡単かつ明確にするため、図面に示される構成要素は必ずしも一定の縮尺で描かれていない。また、理解を容易にするため、断面図では、ハッチング線が省略されている場合がある。添付の図面は、本開示の実施形態を例示するに過ぎず、本開示を制限するものとみなされるべきではない。本開示における「第1」、「第2」、「第3」等の用語は、単に対象物を区別するために用いられており、対象物の順位付けするものではない。
【0008】
以下の詳細な記載は、本開示の例示的な実施形態を具体化する装置、システム、および方法を含む。この詳細な記載は本来説明のためのものに過ぎず、本開示の実施形態またはこのような実施形態の適用および使用を限定することを意図しない。
【0009】
本明細書において使用される「少なくとも1つ」という表現は、所望の選択肢の「1つ以上」を意味する。一例として、本明細書において使用される「少なくとも1つ」という表現は、選択肢の数が2つであれば「1つの選択肢のみ」または「2つの選択肢の双方」を意味する。他の例として、本明細書において使用される「少なくとも1つ」という表現は、選択肢の数が3つ以上であれば「1つの選択肢のみ」または「2つ以上の任意の選択肢の組み合わせ」を意味する。
【0010】
本明細書において使用される「Aの長さ(寸法)がBの長さ(寸法)と等しい」または「Aの長さ(寸法)とBの長さ(寸法)とが互いに等しい」とは、Aの長さ(寸法)とBの長さ(寸法)との差が例えばAの長さ(寸法)の10%以内の関係も含む。
(【0011】以降は省略されています)
この特許をJ-PlatPat(特許庁公式サイト)で参照する
関連特許
ローム株式会社
半導体装置
1か月前
ローム株式会社
半導体装置
1か月前
ローム株式会社
半導体装置
18日前
ローム株式会社
半導体装置
18日前
ローム株式会社
半導体装置
13日前
ローム株式会社
半導体装置
13日前
ローム株式会社
半導体装置
18日前
ローム株式会社
半導体装置
1か月前
ローム株式会社
抵抗チップ
1か月前
ローム株式会社
半導体装置
5日前
ローム株式会社
半導体装置
1か月前
ローム株式会社
信号伝達装置
13日前
ローム株式会社
電源制御装置
13日前
ローム株式会社
半導体集積回路
27日前
ローム株式会社
窒化物半導体装置
1か月前
ローム株式会社
半導体モジュール
6日前
ローム株式会社
半導体パッケージ
1か月前
ローム株式会社
半導体メモリ装置
20日前
ローム株式会社
モータドライバ回路
13日前
ローム株式会社
逐次比較型AD変換回路
5日前
ローム株式会社
半導体装置およびシステム
5日前
ローム株式会社
半導体装置、電子機器、車両
27日前
ローム株式会社
半導体装置、電子機器、車両
27日前
ローム株式会社
信号受信装置、IC及び電気機器
11日前
ローム株式会社
パルス幅変調回路およびモータ駆動装置
27日前
ローム株式会社
電圧電流変換回路および半導体集積回路
27日前
ローム株式会社
半導体装置および半導体装置の製造方法
18日前
ローム株式会社
半導体装置、および半導体装置の製造方法
18日前
ローム株式会社
力率改善回路、制御装置、および電子機器
18日前
ローム株式会社
半導体装置、および半導体装置の製造方法
11日前
ローム株式会社
電源回路、電子コントロールユニット、自動車
5日前
ローム株式会社
電源制御装置、DC/DCコンバータ、および車両
28日前
ローム株式会社
三相ブラシレスモータのドライバ回路および駆動方法
20日前
ローム株式会社
信号伝達装置、電子機器、車両、絶縁ゲートドライバIC
5日前
ローム株式会社
半導体装置
1か月前
ローム株式会社
半導体装置
28日前
続きを見る
他の特許を見る