TOP
|
特許
|
意匠
|
商標
特許ウォッチ
Twitter
他の特許を見る
公開番号
2025028476
公報種別
公開特許公報(A)
公開日
2025-03-03
出願番号
2023133315
出願日
2023-08-18
発明の名称
メタノール燃料船のドレン処理システム
出願人
常石造船株式会社
,
三井E&S造船株式会社
代理人
個人
主分類
B63H
21/38 20060101AFI20250221BHJP(船舶またはその他の水上浮揚構造物;関連艤装品)
要約
【課題】漏洩メタノールの船外排出を防止し、ドレン配管鋼材等を削減することが可能な、メタノール燃料船のドレン処理システムを提供する。
【解決手段】メタノール燃料船のドレン処理システムは、上甲板2上に設置された燃料用のメタノールタンク10と、メタノールタンク10のタンク下全周に設置されたドリップトレイ20と、ドリップトレイ20から排出されたドレンを貯留する一次貯留タンク30と、一次貯留タンク30に貯留されたドレンに含まれるメタノールを検知するメタノール検知器40と、メタノールを含むドレンを貯留する船内貯留タンク50とを有し、メタノール検知器40がメタノールを検知しない場合には、一次貯留タンク30に貯留されたドレンを船外に排出し、メタノール検知器40がメタノールを検知した場合には、一次貯留タンク30に貯留されたドレンを船内貯留タンク50に貯留する。
【選択図】図1
特許請求の範囲
【請求項1】
暴露部に設置された燃料用のメタノールタンクと、該メタノールタンクの周囲や下部に設置されたドリップトレイと、該ドリップトレイから排出されたドレンを貯留する一次貯留タンクと、該一次貯留タンクに貯留されたドレンに含まれるメタノールを検知するメタノール検知器と、メタノールを含むドレンを貯留する船内貯留タンクとを有し、
前記メタノール検知器がメタノールを検知しない場合には、前記一次貯留タンクに貯留されたドレンを船外に排出し、前記メタノール検知器がメタノールを検知した場合には、前記一次貯留タンクに貯留されたドレンを前記船内貯留タンクに貯留することを特徴とするメタノール燃料船のドレン処理システム。
続きを表示(約 240 文字)
【請求項2】
前記一次貯留タンクから船外に向かうドレンラインに設けられた船外排出バルブと、前記一次貯留タンクから前記船内貯留タンクに向かうドレンラインに設けられた船内貯留バルブとを有し、
前記メタノール検知器がメタノールを検知しない場合には、前記船外排出バルブを開、前記船内貯留バルブを閉とし、前記メタノール検知器がメタノールを検知した場合には、前記船外排出バルブを閉、前記船内貯留バルブを開とすることを特徴とする請求項1に記載のメタノール燃料船のドレン処理システム。
発明の詳細な説明
【技術分野】
【0001】
本発明は、メタノールを燃料とする船舶に関するものであり、より詳しくはメタノール燃料船のドレン処理システムに関するものである。
続きを表示(約 1,300 文字)
【背景技術】
【0002】
従来、船舶の燃料としては主に重油が使用されているが、排気ガスに含まれる窒素酸化物、硫黄酸化物、二酸化炭素等の排出量について、国際条約などによる規制が強化されてきている。
【0003】
これに対して、環境に優しいクリーンな燃料として、メタノールを燃料とした船舶が提案されている。
【0004】
特許文献1には、メタノールを輸送するための船舶において、メタノール貯蔵用タンクから取り出したメタノールを、ディーゼルエンジンの燃料として使用したものや、メタノールの改質により得られる水素ガスを利用して燃料電池により発電し電気推進式とした船舶に関する発明が記載されている。
【0005】
特許文献2には、メタノール燃料タンク12を上甲板上に配置し、内燃機関11に供給するようにした船舶に関する発明が記載されている。
【先行技術文献】
【特許文献】
【0006】
特開平10-167189号公報
特開2015-221645号公報
【発明の概要】
【発明が解決しようとする課題】
【0007】
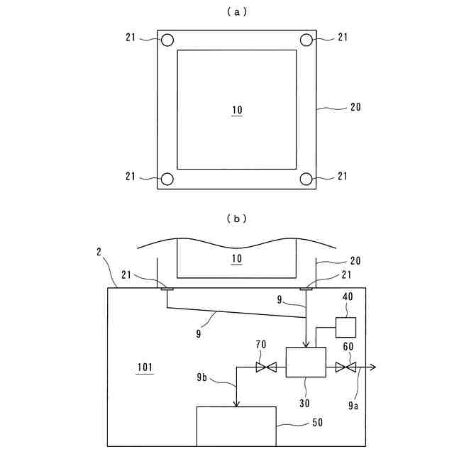
燃料用のメタノールタンクを上甲板上に設置する場合には、メタノールの漏洩を考慮してタンクの周囲や下部にドリップトレイを設置する必要がある。図2に示す船舶100は、上甲板2上にメタノールタンク10を設置して、タンク下全周にドリップトレイ20を設置したものである。
【0008】
上甲板2上のような暴露部にメタノールタンク10を設置した場合には、ドリップトレイ20には雨水等が溜まることがあるため、それらを船外に排出するドレンラインを設けることになる。一方で、メタノール漏洩時には同じドレンラインからでは船外にメタノールを排出することになるため、漏洩したメタノールを船内に貯留するための別のドレンラインを設けなければならない。
【0009】
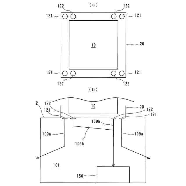
図3は、従来例に係るメタノール燃料船のドレン処理システムの構成図であり、雨水等を船外に排出するドレンラインと、漏洩したメタノールを船内に貯留するドレンラインとを独立して設けたものである。図3(a)は平面図、図3(b)は船体内部の模式図である。
【0010】
メタノールタンク10のタンク下全周には、ドリップトレイ20が設置されており、四隅の各々に排出口121(雨水等用)及び排出口122(メタノール用)が設けられている。排出口121,122の各々は、開閉バルブにより開閉されるようになっている。ドリップトレイ20に溜まった雨水等は、排出口121からドレンライン109aを経由して船外に排出される。一方、ドリップトレイ20に漏洩したメタノールは、排出口122からドレンライン109bを経由して船内貯留タンク150に貯留される。乗組員は、ドリップトレイ20に溜まったドレンが雨水等なのか漏洩メタノールなのかを判断し、いずれかのドレンラインに流れるように開閉バルブを操作する。
(【0011】以降は省略されています)
この特許をJ-PlatPat(特許庁公式サイト)で参照する
関連特許
常石造船株式会社
船舶のメタノール燃料供給システム
2か月前
個人
水上遊具
6か月前
個人
洋上研究所
4か月前
個人
船用横揺防止具
10か月前
個人
補助機構
9か月前
個人
津波防災ウエア
3か月前
個人
コンパクトシティ船
9か月前
個人
上下振動翼推進人力艇
4日前
個人
渦流動力推進構造
8か月前
石田造船株式会社
内航船
1か月前
個人
セールのバテンガイド装置
5か月前
炎重工株式会社
浮標
11か月前
炎重工株式会社
浮標
11か月前
個人
水質浄化・集熱昇温システム
5か月前
住友重機械工業株式会社
船舶
5か月前
個人
船舶
11か月前
個人
スクリュープロペラ
8か月前
株式会社フルトン
水中捕捉装置
9か月前
株式会社ラフティ
サーフボード
5か月前
ペアリ株式会社
海の環境改善装置
1か月前
個人
回転式による流体流出防止タンカー
9か月前
オーケー工業株式会社
係留フック
9か月前
朝日電装株式会社
船外機用照明装置
4か月前
ヤマハ発動機株式会社
船外機
11か月前
スズキ株式会社
船外機
7か月前
株式会社アカデミー出版
船舶
4か月前
スズキ株式会社
船外機
8か月前
スズキ株式会社
船外機
8か月前
常石造船株式会社
メタノール燃料船
12か月前
スズキ株式会社
船外機
7か月前
ナブテスコ株式会社
主機制御システム
2か月前
株式会社ユピテル
システム及びプログラム等
8か月前
藤倉コンポジット株式会社
架台
11か月前
炎重工株式会社
自律航行浮遊体
11か月前
ヤマハ発動機株式会社
船外機および船舶
10か月前
個人
発光手段を備えたライフジャケット
7か月前
続きを見る
他の特許を見る