TOP
|
特許
|
意匠
|
商標
特許ウォッチ
Twitter
他の特許を見る
公開番号
2025020754
公報種別
公開特許公報(A)
公開日
2025-02-13
出願番号
2023124329
出願日
2023-07-31
発明の名称
生体内液流促進装置
出願人
株式会社リコー
代理人
弁理士法人志賀国際特許事務所
主分類
A61H
23/02 20060101AFI20250205BHJP(医学または獣医学;衛生学)
要約
【課題】安全、且つ効果的に所望の方向に液流を促進できる生体内液流促進装置を提供する。
【解決手段】超音波を発生する超音波振動子2と、超音波振動子が発生した超音波の位相を調整して所定の位置に集束させ、集束位置の生体内液に、位相に応じて生成された圧力分布によって音響流を生成させる音響流生成部3と、を備える。
【選択図】図2
特許請求の範囲
【請求項1】
超音波を発生する超音波振動子と、
前記超音波振動子が発生した前記超音波の位相を調整して所定の位置に集束させ、集束位置の生体内液に、前記位相に応じて生成された圧力分布によって音響流を生成させる音響流生成部と、
を備える、生体内液流促進装置。
続きを表示(約 790 文字)
【請求項2】
前記音響流生成部は、音響屈折部材を有する、
請求項1に記載の生体内液流促進装置。
【請求項3】
前記音響屈折部材は、前記音響屈折部材から前記集束位置に向けて延びる軸線を中心とする径方向の外側に向かうにつれて、前記集束位置に向かう方向に湾曲する凹面を有する、
請求項2に記載の生体内液流促進装置。
【請求項4】
前記音響屈折部材は、前記集束位置と対向する面から離れるにつれて、前記音響屈折部材から前記集束位置に向けて延びる軸線を中心とする径方向の内側に向かう方向に傾斜する傾斜面を有し、
前記傾斜面は、前記軸線から前記径方向の外側に向かうにつれて、前記軸線を中心とする周方向の一方側に向かう方向に延びる渦巻き状に配置される、
請求項2に記載の生体内液流促進装置。
【請求項5】
前記音響屈折部材は、
前記集束位置側に位置し前記音響屈折部材から前記集束位置に向けて延びる軸線を含む仮想面と直交する第2軸線を中心とする内周面と外周面を有し、
前記内周面が前記集束位置と対向する円弧状に形成されている、
請求項2に記載の生体内液流促進装置。
【請求項6】
前記超音波振動子は、アレイ状に複数配置され、
前記音響流生成部は、複数の前記超音波振動子が発生する前記超音波の前記位相を個別に制御する制御部を有する、
請求項1に記載の生体内液流促進装置。
【請求項7】
前記集束位置に向けて開口し前記超音波が伝播する伝播液を収容する収容部と、前記収容部を取り囲み生体に接合したときに前記集束位置を目標位置に規定する接合部と、を有するガイド部材を備える、
請求項1から6のいずれか一項に記載の生体内液流促進装置。
発明の詳細な説明
【技術分野】
【0001】
本発明は、生体内液流促進装置に関する。
続きを表示(約 2,100 文字)
【背景技術】
【0002】
生体内における体液の液流促進が、疾患治療や健康増進に繋がることが知られている。例えば、血液であれば血行促進によって肩こりや冷え症を改善する効果が期待でき、リンパ液であれば、液流促進に伴って老廃物除去促進による疲労回復効果が期待できる。さらに、脳脊髄液についても、近年、液流促進が疾患治療に繋がる可能性が示唆されている。
【0003】
例えば、脳に関する疾患の中で、脳神経疾患(うつ病、認知症等)に悩む人々は世界中に多数いる。例として、うつ病の一般的な治療法として、抗うつ薬は、神経伝達物質の欠如を補うものだが、症状の発生原因は他にもあると考えられているため、それらに作用する新たな薬物、あるいは薬物に代わる新しい治療モダリティの確立が求められている。
【0004】
薬物を使用しない新たな治療法として、脳内の神経細胞を取り巻く液体である脳脊髄液の液流を促進する方法が考えられる。脳脊髄液は、脳内の神経細胞を取り巻く液体である。近年、脳は睡眠中に脳脊髄液を活発に流して老廃物を除去することが明らかになってきている。この流れが加齢等で衰えてくると、老廃物が神経細胞の周辺に蓄積され、細胞自体を変性させて認知症を引き起こすことが分かってきている。その他に、うつ病も、脳脊髄液の流れの劣化が関係していることが分かってきており、流れの改善が症状を改善できる可能性が示唆されている。更に、睡眠の質、脳の老化とも関係があることが分かってきている。従って、外部から脳脊髄液の流れを制御して促進できれば、脳神経疾患(うつ病、認知症)の予防や治療、更には脳老化緩和ができる可能性がある。
【0005】
特許文献1には、脳内の所定の箇所に音波を照射することによって発生させた熱エネルギーで脳脊髄液を局所的に膨張させることで、対流を誘発して液流を促進することが開示されている。ところが、特許文献1の技術は、発熱による副作用を抑制しながら実施する必要があり、安全面および効果的な液流促進ができないという問題がある。また、膨張は等方的に発生するため、液流を促進しない方向にも力を加え、脳脊髄液を逆流させる力になる可能性がある。
【発明の概要】
【発明が解決しようとする課題】
【0006】
本発明は、安全、且つ効果的に所望の方向に液流を促進できる生体内液流促進装置を提供することを目的とする。
【課題を解決するための手段】
【0007】
本発明の一態様は、超音波を発生する超音波振動子と、前記超音波振動子が発生した前記超音波の位相を調整して所定の位置に集束させ、集束位置の生体内液に、前記位相に応じて生成された圧力分布によって音響流を生成させる音響流生成部と、を備える、生体内液流促進装置である。
【発明の効果】
【0008】
本発明では、安全、且つ効果的に所望の方向に液流を促進できる生体内液流促進装置を提供できる。
【図面の簡単な説明】
【0009】
本発明に係る生体内液流促進装置の第1実施形態を示す概略構成図である。
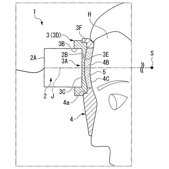
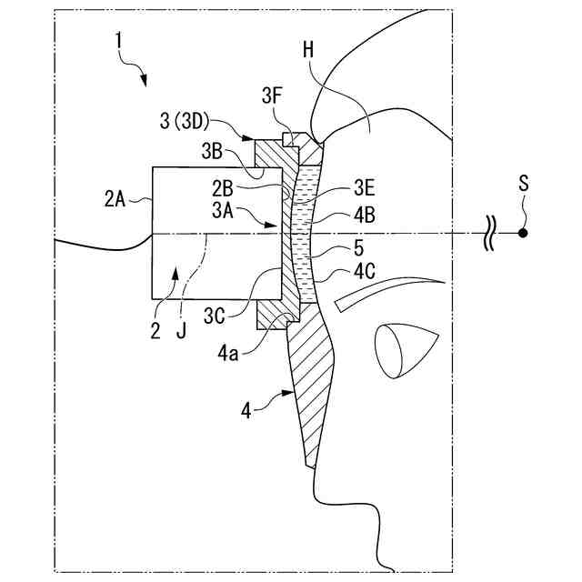
生体内液流促進装置1の部分断面図である。
脳内の脳脊髄液の流れを示す模式図である。
第2実施形態に係る音響屈折部材3Gの断面図である。
音響屈折部材3Gを集束位置S側から見た斜視図である。
集束位置Sに集束した超音波のX方向の圧力分布を示す図である。
集束位置Sに集束した超音波のY方向の圧力分布を示す図である。
集束位置Sに集束した超音波のXY平面における圧力分布を示す図である。
液体に超音波を集束させた実験例を示す図である。
第3実施形態に係る音響屈折部材3Mの斜視図である。
音響屈折部材3Mが空間内で駆動力を発生させる様子をベクトルで示した図である。
図11の一部を横から見て拡大した図である。
本発明に係る生体内液流促進装置の第4実施形態を示す概略構成図である。
生体内液流促進装置の使用例を示す図である。
生体内液流促進装置の使用例を示す図である。
生体内液流促進装置の使用例を示す図である。
生体内液流促進装置の使用例を示す図である。
生体内液流促進装置の使用例を示す図である。
生体内液流促進装置の使用例を示す図である。
生体内液流促進装置の使用例を示す図である。
【発明を実施するための形態】
【0010】
以下、本発明の生体内液流促進装置の実施の形態を、図1から図20を参照して説明する。
なお、以下の実施形態は、本発明の一態様を示すものであり、この発明を限定するものではなく、本発明の技術的思想の範囲内で任意に変更可能である。また、以下の図面においては、各構成をわかりやすくするために、実際の構造と各構造における縮尺や数等を異ならせている。
(【0011】以降は省略されています)
この特許をJ-PlatPat(特許庁公式サイト)で参照する
関連特許
株式会社リコー
移動体
1か月前
株式会社リコー
画像形成装置
15日前
株式会社リコー
画像形成装置
23日前
株式会社リコー
画像形成装置
15日前
株式会社リコー
画像形成装置
18日前
株式会社リコー
服薬支援装置
今日
株式会社リコー
画像形成装置
9日前
株式会社リコー
画像形成装置
今日
株式会社リコー
機器及び異常判定方法
23日前
株式会社リコー
画像形成装置、及び、機器
8日前
株式会社リコー
画像形成装置及びシステム
21日前
株式会社リコー
延長トレイ及び画像形成装置
18日前
株式会社リコー
光走査装置及び画像形成装置
7日前
株式会社リコー
定着装置、及び画像形成装置
23日前
株式会社リコー
シート供給装置、画像形成装置
7日前
株式会社リコー
画像読取装置及び画像読取方法
17日前
株式会社リコー
画像形成装置及び異常判定方法
今日
株式会社リコー
画像形成装置および画像形成方法
今日
株式会社リコー
表示装置、切替方法、プログラム
28日前
株式会社リコー
媒体処理装置及び画像形成システム
18日前
株式会社リコー
加熱搬送装置、及び、画像形成装置
8日前
株式会社リコー
樹脂粒子、及び樹脂粒子の製造方法
15日前
株式会社リコー
加熱装置、定着装置、画像形成装置
10日前
株式会社リコー
通信端末、通信方法、及びプログラム
21日前
株式会社リコー
通信装置、通信方法、及びプログラム
21日前
株式会社リコー
加熱装置、定着装置及び画像形成装置
22日前
株式会社リコー
シート給送装置及び画像形成システム
24日前
株式会社リコー
読取装置、読取方法およびプログラム
18日前
株式会社リコー
樹脂粒子、トナー、及び、画像形成装置
7日前
株式会社リコー
光源装置、画像投影装置および調整方法
28日前
株式会社リコー
通信装置、状態制御方法、及びプログラム
24日前
株式会社リコー
ノード、データ共有方法、及びプログラム
1か月前
株式会社リコー
画像形成装置、及び、プロセスカートリッジ
28日前
株式会社リコー
画像形成装置、情報処理方法及びプログラム
21日前
株式会社リコー
画像読取装置、画像判定方法およびプログラム
21日前
株式会社リコー
情報処理装置、情報処理方法およびプログラム
7日前
続きを見る
他の特許を見る