TOP
|
特許
|
意匠
|
商標
特許ウォッチ
Twitter
他の特許を見る
公開番号
2025006406
公報種別
公開特許公報(A)
公開日
2025-01-17
出願番号
2023107190
出願日
2023-06-29
発明の名称
無段変速機
出願人
スズキ株式会社
代理人
弁理士法人日誠国際特許事務所
主分類
F16H
15/20 20060101AFI20250109BHJP(機械要素または単位;機械または装置の効果的機能を生じ維持するための一般的手段)
要約
【課題】各部品の位置精度を容易に向上させることができ、耐久性を向上させることができる無段変速機を提供すること。
【解決手段】入力軸2は、右端側で円筒形状に形成された円筒部2Aを有している。円筒部2Aの内周面は出力軸3の左端部3Aを支持し、円筒部2Aの外周面はインナキャリア34を支持している。円筒部2Aは入力軸2における最大径の部分であり、入力軸2は右端から左端に向かうほど小径に形成されている。円筒部2Aにおける左端側の端面に段差部2Cが形成され、段差部2Cは、サンローラ7の軸方向の右端側の側面と当接してサンローラ7を軸方向に位置決めしている。サンローラ7は、段差部2Cと軸受62とにより軸方向に挟まれて位置決めされている。
【選択図】図1
特許請求の範囲
【請求項1】
駆動力源から回転動力が入力される入力軸に設けられたサンローラと、
前記入力された回転動力を出力軸に伝達するリングローラと、
前記サンローラあるいは前記リングローラに接触する円錐面を有し、円錐台形状に形成された遊星コーンと、
前記遊星コーンを回転自在に支持する支持軸と、
前記入力軸の回転動力を前記遊星コーンを介して前記出力軸に無段階で変速するように、前記遊星コーンの円錐面における前記サンローラの接触位置と前記遊星コーンの円錐面における前記リングローラの接触位置を変更する移動機構と、を備える無段変速機であって、
前記入力軸の一端側に前記出力軸が同軸で配置され、
前記支持軸の一端部を回転自在に保持するインナキャリアを備え、
前記入力軸は一端側で円筒形状に形成された円筒部を有し、
前記円筒部の内周面は前記出力軸の他端部を支持し、
前記円筒部の外周面は前記インナキャリアを支持していることを特徴とする無段変速機。
続きを表示(約 480 文字)
【請求項2】
前記円筒部は前記入力軸における最大径の部分であり、
前記入力軸は一端から他端に向かうほど小径に形成され、
前記円筒部における他端側の端面に段差部が形成され、
前記段差部は前記サンローラの軸方向の一端側の側面と当接して前記サンローラを軸方向に位置決めし、
前記サンローラの軸方向の他端側には前記入力軸を軸支する軸受が配置され、
前記サンローラは、前記段差部と前記軸受とにより軸方向に挟まれて位置決めされていることを特徴とする請求項1に記載の無段変速機。
【請求項3】
前記サンローラは、
前記入力軸に固定される内周縁部と、
前記インナキャリアの他端部および前記円筒部の他端部を外周側から囲うように、前記内周縁部よりも軸方向で一端側に偏倚して配置された外周縁部と、を有し、
前記サンローラの前記外周縁部と、前記インナキャリアの他端部とが、前記入力軸の軸方向において前記円筒部と同位置に配置されていることを特徴とする請求項1または請求項2に記載の無段変速機。
発明の詳細な説明
【技術分野】
【0001】
本発明は、無段変速機に関する。
続きを表示(約 2,000 文字)
【背景技術】
【0002】
円錐形状の遊星コーンを用いて駆動力源の動力を無段階で変速する無段変速機として、特許文献1に記載されるものが知られている。特許文献1に記載の無段変速機は、駆動源から回転動力が入力される入力軸に取付けられた入力部材と、入力部材から入力された回転動力を出力軸に伝達する出力部材と、入力部材と出力部材とが接触する円錐面を有し、円錐台形状に形成された遊星コーンと、遊星コーンを回転自在でかつ、軸線方向に移動自在に支持する支持軸と、を備えている。この無段変速機は、遊星コーンの円錐面と入力部材の接触位置、および遊星コーンの円錐面と出力部材の接触位置を変更することにより、入力軸の回転動力を、遊星コーンを介して出力軸に無段階で変速するようになっている。
【先行技術文献】
【特許文献】
【0003】
特開2022-054007号公報
【発明の概要】
【発明が解決しようとする課題】
【0004】
しかしながら、従来の無段変速機にあっては、支持軸を保持するキャリアと、入力部材としてのサンローラと、出力部材としてのリングローラとの相互間の支持位置が、入力軸の軸線上に離れているため、位置決め精度に対する部品精度の影響が大きく、応力集中等による耐久性の低下を回避するよう更に検討の余地があった。
【0005】
そこで、本発明は、各部品の位置精度を容易に向上させることができ、耐久性を向上させることができる無段変速機を提供することを目的としている。
【課題を解決するための手段】
【0006】
上記課題を解決するため本発明は、駆動力源から回転動力が入力される入力軸に設けられたサンローラと、前記入力された回転動力を出力軸に伝達するリングローラと、前記サンローラあるいは前記リングローラに接触する円錐面を有し、円錐台形状に形成された遊星コーンと、前記遊星コーンを回転自在に支持する支持軸と、前記入力軸の回転動力を前記遊星コーンを介して前記出力軸に無段階で変速するように、前記遊星コーンの円錐面における前記サンローラの接触位置と前記遊星コーンの円錐面における前記リングローラの接触位置を変更する移動機構と、を備える無段変速機であって、前記入力軸の一端側に前記出力軸が同軸で配置され、前記支持軸の一端部を回転自在に保持するインナキャリアを備え、前記入力軸は一端側で円筒形状に形成された円筒部を有し、前記円筒部の内周面は前記出力軸の他端部を支持し、前記円筒部の外周面は前記インナキャリアを支持していることを特徴とする。
【発明の効果】
【0007】
このように、本発明によれば、各部品の位置精度を容易に向上させることができ、耐久性を向上させることができる無段変速機を提供することができる。
【図面の簡単な説明】
【0008】
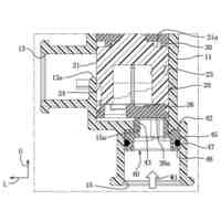
図1は、本発明の一実施例に係る無段変速機の入力軸の回転数に対して出力軸が高速回転する時の遊星コーン位置における入力軸の回転中心軸と支持軸の軸心での断面図である。
図2は、図1の遊星コーン位置における本発明の一実施例の入力軸の回転中心軸と連結部材の軸心での断面図である。
図3は、本発明の一実施例に係る無段変速機の入力軸の回転数に対して出力軸が低速回転する時の遊星コーン位置における入力軸の回転中心軸と支持軸の軸心での断面図である。
【発明を実施するための形態】
【0009】
本発明の一実施の形態に係る無段変速機は、駆動力源から回転動力が入力される入力軸に設けられたサンローラと、入力された回転動力を出力軸に伝達するリングローラと、サンローラあるいはリングローラに接触する円錐面を有し、円錐台形状に形成された遊星コーンと、遊星コーンを回転自在に支持する支持軸と、入力軸の回転動力を遊星コーンを介して出力軸に無段階で変速するように、遊星コーンの円錐面におけるサンローラの接触位置と遊星コーンの円錐面におけるリングローラの接触位置を変更する移動機構と、を備える無段変速機であって、入力軸の一端側に出力軸が同軸で配置され、支持軸の一端部を回転自在に保持するインナキャリアを備え、入力軸は一端側で円筒形状に形成された円筒部を有し、円筒部の内周面は出力軸の他端部を支持し、円筒部の外周面はインナキャリアを支持していることを特徴とする。これにより、本発明の一実施の形態に係る無段変速機は、各部品の位置精度を容易に向上させることができ、耐久性を向上させることができる。
【実施例】
【0010】
以下、本発明の一実施例に係る無段変速機について、図面を用いて説明する。
(【0011】以降は省略されています)
この特許をJ-PlatPat(特許庁公式サイト)で参照する
関連特許
スズキ株式会社
車室構造
5日前
スズキ株式会社
車室構造
5日前
スズキ株式会社
車両構造
5日前
スズキ株式会社
車両構造
5日前
スズキ株式会社
車両構造
5日前
スズキ株式会社
車室構造
5日前
スズキ株式会社
車両構造
5日前
スズキ株式会社
車両構造
5日前
スズキ株式会社
車両構造
5日前
スズキ株式会社
車両構造
5日前
スズキ株式会社
車両構造
5日前
スズキ株式会社
車両検査装置
今日
スズキ株式会社
車両用荷室構造
5日前
スズキ株式会社
車体ルーフ構造
5日前
スズキ株式会社
車両用制御装置
今日
スズキ株式会社
梱包対象物の緩衝構造
12日前
スズキ株式会社
梱包対象物の緩衝部材
12日前
スズキ株式会社
梱包対象物の緩衝部材
12日前
スズキ株式会社
車両用リアバンパ構造
1日前
スズキ株式会社
エンジンの排気ポート構造
5日前
スズキ株式会社
車両用グロメット周辺構造
6日前
スズキ株式会社
エンジンのベルト伝動装置
今日
住友電装株式会社
電気接続箱および制御ユニット
7日前
スズキ株式会社
車両構造
1日前
個人
留め具
1日前
個人
鍋虫ねじ
1か月前
個人
回転伝達機構
2か月前
個人
ホース保持具
6か月前
個人
紛体用仕切弁
1か月前
個人
トーションバー
6か月前
個人
差動歯車用歯形
3か月前
個人
給排気装置
8日前
個人
ジョイント
26日前
個人
ボルトナットセット
6か月前
株式会社不二工機
電磁弁
5か月前
個人
回転式配管用支持具
7か月前
続きを見る
他の特許を見る