TOP
|
特許
|
意匠
|
商標
特許ウォッチ
Twitter
他の特許を見る
10個以上の画像は省略されています。
公開番号
2025180772
公報種別
公開特許公報(A)
公開日
2025-12-11
出願番号
2024088322
出願日
2024-05-30
発明の名称
露光装置の製造方法及び露光装置
出願人
キヤノン株式会社
代理人
弁理士法人近島国際特許事務所
主分類
B41J
2/447 20060101AFI20251204BHJP(印刷;線画機;タイプライター;スタンプ)
要約
【課題】接着剤によりレンズアレイを筐体に固定しても、レンズアレイの清掃に使用する清掃棒と接着剤が干渉することを抑制できる製造方法及び装置を提供する。
【解決手段】露光ヘッドは、基板と、基板に設けられた複数のLEDと、複数のLEDから出射された光を被照射面に集光するレンズアレイと、基板及びレンズアレイを保持する筐体と、を有する。筐体は、第1開口と、第1開口よりも開口面積が大きい第2開口とが形成され、第1開口を貫通した状態でレンズアレイを保持すると共に、レンズアレイよりも前記第2開口側の位置で基板を保持する。露光装置の製造方法では、レンズアレイを第1開口に位置決めした状態で、レンズアレイと筐体との間に対して第2開口側から接着剤を塗布し、接着剤によりレンズアレイを筐体に固定する第1工程と、第1工程の後に基板を筐体に固定する第2工程と、を有する。
【選択図】図16
特許請求の範囲
【請求項1】
基板と、基板に設けられた複数の発光素子と、前記複数の発光素子から出射された光を被照射面に集光するレンズアレイと、第1開口と、前記第1開口よりも開口面積が大きい第2開口とが形成された保持部材であって、前記第1開口を貫通した状態で前記レンズアレイを保持すると共に、前記レンズアレイよりも前記第2開口側の位置で前記基板を保持する保持部材と、を備えた露光装置の製造方法であって、
前記レンズアレイを前記第1開口に位置決めした状態で、前記レンズアレイと前記保持部材との間に対して前記第2開口側から接着剤を塗布し、前記接着剤により前記レンズアレイを前記保持部材に固定する第1工程と、
前記第1工程の後に前記基板を前記保持部材に固定する第2工程と、を有することを特徴とする露光装置の製造方法。
続きを表示(約 1,300 文字)
【請求項2】
前記第2工程において、前記基板を前記第2開口から前記保持部材の内部に挿入し、前記基板を前記保持部材の内部に位置決めした状態で、前記基板と前記保持部材との間に対して前記第2開口側から接着剤を塗布し、前記接着剤により前記基板を前記保持部材に固定することを特徴とする請求項1に記載の露光装置の製造方法。
【請求項3】
前記接着剤は、紫外線硬化型の接着剤であり、
前記第1工程において、前記レンズアレイを前記第1開口に位置決めした状態で、前記レンズアレイと前記保持部材との間に対して前記第2開口側から前記紫外線硬化型の接着剤を塗布した後に、前記第2開口側から前記紫外線硬化型の接着剤に紫外線を照射することを特徴とする請求項1に記載の露光装置の製造方法。
【請求項4】
前記接着剤は、紫外線硬化型の接着剤であり、
前記第2工程において、前記基板を前記保持部材の内部に位置決めした状態で、前記基板と前記保持部材との間に対して前記第2開口側から前記紫外線硬化型の接着剤を塗布した後に、前記第2開口側から前記紫外線硬化型の接着剤に紫外線を照射することを特徴とする請求項2に記載の露光装置の製造方法。
【請求項5】
前記第2工程の後に、前記基板と前記保持部材との間に熱硬化型の接着剤を塗布し、前記熱硬化型の接着剤を加熱することを特徴とする請求項4に記載の露光装置の製造方法。
【請求項6】
前記保持部材は、前記第1開口が形成された第1部分と、前記レンズアレイの長手方向に直交する方向に関して前記第1部分の両端部からそれぞれ前記被照射面と反対側に延設された1対の第2部分と、を有し、
前記第2開口は、前記1対の第2部分の間の空間であり、
前記基板は、前記1対の第2部分の間に固定されることを特徴とする請求項1に記載の露光装置の製造方法。
【請求項7】
前記発光素子は、OLEDであることを特徴とする請求項1に記載の露光装置の製造方法。
【請求項8】
基板と、
基板に設けられた複数の発光素子と、
前記複数の発光素子から出射された光を被照射面に集光するレンズアレイと、
第1開口と、前記第1開口よりも開口面積が大きい第2開口とが形成された保持部材であって、前記第1開口を貫通した状態で前記レンズアレイを保持すると共に、前記レンズアレイよりも前記第2開口側の位置で前記基板を保持する保持部材と、
前記レンズアレイと前記保持部材との間で、前記第2開口側の前記保持部材の内部に塗布され、前記レンズアレイを前記保持部材に固定する接着剤と、を備えたことを特徴とする露光装置。
【請求項9】
前記接着剤は、紫外線硬化型の接着剤であることを特徴とする請求項8に記載の露光装置。
【請求項10】
前記接着剤は、第1接着剤であり、
前記基板と前記保持部材との間に塗布され、前記基板を前記保持部材に固定する第2接着剤を更に備えたことを特徴とする請求項8に記載の露光装置。
(【請求項11】以降は省略されています)
発明の詳細な説明
【技術分野】
【0001】
本発明は、感光体の表面などの被照射面を露光する露光装置の製造方法、及び、露光装置に関する。
続きを表示(約 1,900 文字)
【背景技術】
【0002】
電子写真方式の画像形成装置として、複数の発光素子としてのLEDアレイおよびレンズアレイを備えた露光装置から感光体の表面を露光することで感光体の表面に静電潜像を形成し、その静電潜像にトナーを付着させてトナー像を現像するものが普及している(例えば、特許文献1)。
【0003】
このような露光装置においては、LEDアレイが搭載された基板、およびレンズアレイは、接着剤などを介して保持部材に接着されている。露光装置の組み立ては、例えば、工具を用いてLEDアレイが搭載された基板やレンズアレイの位置を光学特性が所定の規格を満たすように調整しながら、基板及びレンズアレイを保持部材に固定することで行う。
【0004】
例えば、特許文献2には、保持部材にレンズアレイを固定した後に基板を固定する製造方法が開示されている。特許文献2では、基板にLEDアレイに通電可能な電極パッドが形成されており、レンズアレイを保持部材に対して固定した後に、基板を工具により保持しつつ、電極パッドを介してLEDアレイに通電しながら基板を保持部材に対して位置決めする。この際、LEDアレイからレンズアレイに向けて出射した光をカメラにより受光し、基板の位置決めを行う。その後、接着剤により基板と保持部材とを固定する。
【先行技術文献】
【特許文献】
【0005】
特開2020-62853号公報
特開2016-49713号公報
【発明の概要】
【発明が解決しようとする課題】
【0006】
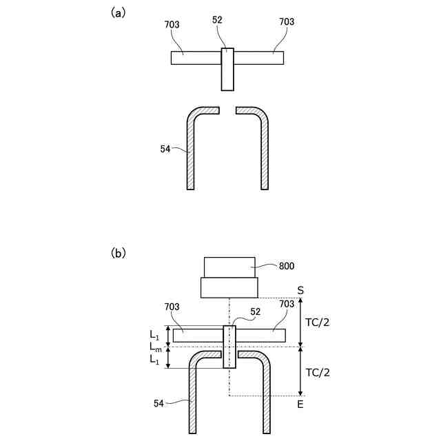
特許文献2に記載の製造方法の場合、レンズアレイを保持部材に接着剤で固定するが、接着剤を保持部材の外側から塗布してレンズアレイを保持部材に固定すると、レンズアレイの周囲で、且つ、保持部材の外側において接着剤が固まる。ここで、レンズアレイは、光出射面から感光体の表面などの被照射面に向けて光を出射するが、この光出射面は、トナーなどが付着して汚れる場合がある。このため、清掃部材により光出射面を清掃する場合がある。清掃部材は、例えば、清掃具としての清掃棒に保持されており、上述のように、接着剤がレンズアレイの周囲で、且つ、保持部材の外側において接着剤が固まると、清掃時に清掃棒の一部と接着剤が干渉してしまう虞がある。この結果、光出射面の清掃不良が発生したり、清掃時に接着剤が削れてしまう虞がある。
【0007】
本発明は、接着剤によりレンズアレイを保持部材に固定しても、レンズアレイの清掃に使用する清掃具と接着剤が干渉することを抑制できる製造方法及び装置を提供することを目的とする。
【課題を解決するための手段】
【0008】
本発明の一態様は、基板と、基板に設けられた複数の発光素子と、前記複数の発光素子から出射された光を被照射面に集光するレンズアレイと、第1開口と、前記第1開口よりも開口面積が大きい第2開口とが形成された保持部材であって、前記第1開口を貫通した状態で前記レンズアレイを保持すると共に、前記レンズアレイよりも前記第2開口側の位置で前記基板を保持する保持部材と、を備えた露光装置の製造方法であって、前記レンズアレイを前記第1開口に位置決めした状態で、前記レンズアレイと前記保持部材との間に対して前記第2開口側から接着剤を塗布し、前記接着剤により前記レンズアレイを前記保持部材に固定する第1工程と、前記第1工程の後に前記基板を前記保持部材に固定する第2工程と、を有することを特徴とする露光装置の製造方法である。
【0009】
本発明の一態様は、基板と、基板に設けられた複数の発光素子と、前記複数の発光素子から出射された光を被照射面に集光するレンズアレイと、第1開口と、前記第1開口よりも開口面積が大きい第2開口とが形成された保持部材であって、前記第1開口を貫通した状態で前記レンズアレイを保持すると共に、前記レンズアレイよりも前記第2開口側の位置で前記基板を保持する保持部材と、前記レンズアレイと前記保持部材との間で、前記第2開口側の前記保持部材の内部に塗布され、前記レンズアレイを前記保持部材に固定する接着剤と、を備えたことを特徴とする露光装置である。
【発明の効果】
【0010】
本発明によれば、接着剤によりレンズアレイを保持部材に固定しても、レンズアレイの清掃に使用する清掃具と接着剤が干渉することを抑制できる。
【図面の簡単な説明】
(【0011】以降は省略されています)
この特許をJ-PlatPat(特許庁公式サイト)で参照する
関連特許
キヤノン株式会社
顕微鏡
今日
キヤノン株式会社
表示装置
13日前
キヤノン株式会社
記録装置
1日前
キヤノン株式会社
撮像装置
13日前
キヤノン株式会社
定着装置
今日
キヤノン株式会社
表示装置
13日前
キヤノン株式会社
表示装置
6日前
キヤノン株式会社
撮像装置
今日
キヤノン株式会社
二次電池
8日前
キヤノン株式会社
記録装置
今日
キヤノン株式会社
記録装置
今日
キヤノン株式会社
発光装置
13日前
キヤノン株式会社
撮像装置
今日
キヤノン株式会社
撮像装置
6日前
キヤノン株式会社
撮像装置
6日前
キヤノン株式会社
電子機器
6日前
キヤノン株式会社
記録装置
今日
キヤノン株式会社
撮像装置
15日前
キヤノン株式会社
電気機器
1日前
キヤノン株式会社
記録装置
7日前
キヤノン株式会社
記録装置
7日前
キヤノン株式会社
撮像装置
今日
キヤノン株式会社
撮像装置
6日前
キヤノン株式会社
撮像装置
6日前
キヤノン株式会社
撮像装置
6日前
キヤノン株式会社
記録装置
今日
キヤノン株式会社
記録装置
今日
キヤノン株式会社
電子機器
2日前
キヤノン株式会社
撮像装置
13日前
キヤノン株式会社
表示装置
13日前
キヤノン株式会社
インク容器
今日
キヤノン株式会社
インク容器
7日前
キヤノン株式会社
画像形成装置
今日
キヤノン株式会社
画像形成装置
今日
キヤノン株式会社
映像表示装置
7日前
キヤノン株式会社
画像形成装置
今日
続きを見る
他の特許を見る