TOP
|
特許
|
意匠
|
商標
特許ウォッチ
Twitter
他の特許を見る
公開番号
2025180221
公報種別
公開特許公報(A)
公開日
2025-12-11
出願番号
2024087397
出願日
2024-05-29
発明の名称
蛍光浸透探傷装置
出願人
トヨタ自動車株式会社
代理人
弁理士法人YKI国際特許事務所
主分類
G01N
21/91 20060101AFI20251204BHJP(測定;試験)
要約
【課題】リブの長身化に伴う撮像漏れを抑制可能にする。
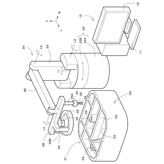
【解決手段】蛍光浸透探傷装置は、広域カメラ40及び局所カメラ30を備える。広域カメラ40は、被検査体50を撮像する。局所カメラ30は、広域カメラ40による撮像領域の一部を撮像する。広域カメラ40は、第一レンズ鏡筒42を備える。局所カメラ30は、第二レンズ鏡筒32及びスモールリングライト34(紫外線探傷灯)を備える。スモールリングライト34は、第二レンズ鏡筒32の周囲に配置される。スモールリングライト34の直径R2は、第一レンズ鏡筒42の直径R1未満である。さらに第二レンズ鏡筒32は、第一レンズ鏡筒42よりも筒長が長い。
【選択図】図1
特許請求の範囲
【請求項1】
被検査体を撮像する広域カメラと、
前記広域カメラによる撮像領域の一部を撮像する、局所カメラと、
を備え、
前記広域カメラは、対物レンズを支持する第一レンズ鏡筒を備え、
前記局所カメラは、
対物レンズを支持する第二レンズ鏡筒と、
前記第二レンズ鏡筒の周囲に配置された、リング型の紫外線探傷灯と、
を備え、
前記紫外線探傷灯の直径は、前記第一レンズ鏡筒の直径未満であって、
前記第二レンズ鏡筒は、前記第一レンズ鏡筒よりも筒長が長い、
蛍光浸透探傷装置。
続きを表示(約 700 文字)
【請求項2】
請求項1に記載の、蛍光浸透探傷装置であって、
前記局所カメラを前記被検査体に対して移動させる、ロボットアームと、
前記ロボットアームを制御する、プロセッサと、
を備え、
前記プロセッサは、
前記被検査体の設計図データに基づいて、前記広域カメラによる撮像時の影領域を抽出し、
前記影領域を前記局所カメラの撮像領域に含める、
蛍光浸透探傷装置。
【請求項3】
請求項1に記載の、蛍光浸透探傷装置であって、
前記局所カメラを前記被検査体に対して移動させる、ロボットアームと、
前記ロボットアームを制御する、プロセッサと、
を備え、
前記プロセッサは、
前記広域カメラによる撮像画像から、影領域を抽出し、
前記影領域を前記局所カメラの撮像領域に含める、
蛍光浸透探傷装置。
【請求項4】
請求項2又は3に記載の、蛍光浸透探傷装置であって、
前記プロセッサは、前記影領域の面積が、前記紫外線探傷灯の断面積を超過する場合に、前記ロボットアームを介して、前記第二レンズ鏡筒の先端を前記影領域の内部に挿入させる、
蛍光浸透探傷装置。
【請求項5】
請求項4に記載の、蛍光浸透探傷装置であって、
前記第二レンズ鏡筒の先端を前記影領域の内部に挿入させた状態で、前記局所カメラは、前記影領域の内部を複数回撮像し、
前記紫外線探傷灯は、それぞれの撮像回で、紫外線光の強度を異ならせる、
蛍光浸透探傷装置。
発明の詳細な説明
【技術分野】
【0001】
本明細書では、蛍光浸透探傷装置が開示される。
続きを表示(約 1,200 文字)
【0002】
特許文献1では、外観検査装置が開示される。被検査体の表面に蛍光剤が浸透される。そして被検査体に紫外線が照射される。このとき、被検査体の蛍光発光画像が撮像される。蛍光発光画像に基づき、被検査体の欠陥部が特定される。
【0003】
特許文献2では、筒体の内周面を検査する装置が開示される。この検査装置は、撮像カメラを備える。撮像カメラは対物レンズを備える。対物レンズの周囲には、射光リングが配置される。射光リングには、光ファイバの端部が配置される。対物レンズと射光リングは、筒内に挿入される。
【先行技術文献】
【特許文献】
【0004】
特開2012-83285号公報
特開平7-113625号公報
【発明の概要】
【発明が解決しようとする課題】
【0005】
例えば被検査体が鋳造品である場合に、補強のためにリブが形成される。例えば金型の進退方向に沿ってリブが立設される。鋳造品の大型化に伴い、リブが高くなる。その結果、鋳造品の表面を撮像する際に、リブが光を遮って、影の部分が生じるおそれがある。
【0006】
そこで本明細書では、リブの長身化に伴う撮像漏れを抑制可能な、蛍光浸透探傷装置が開示される。
【課題を解決するための手段】
【0007】
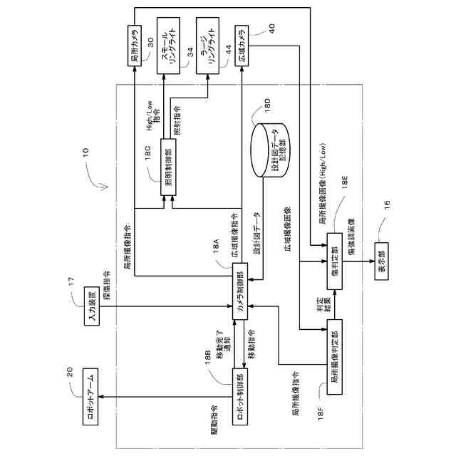
本明細書では、蛍光浸透探傷装置が開示される。当該装置は、広域カメラ及び局所カメラを備える。広域カメラは、被検査体を撮像する。局所カメラは、広域カメラによる撮像領域の一部を撮像する。広域カメラは、第一レンズ鏡筒を備える。第一レンズ鏡筒は、対物レンズを支持する。局所カメラは、第二レンズ鏡筒及び紫外線探傷灯を備える。第二レンズ鏡筒は、対物レンズを支持する。紫外線探傷灯は、第二レンズ鏡筒の周囲に配置される。紫外線探傷灯は、リング型である。紫外線探傷灯の直径は、第一レンズ鏡筒の直径未満である。さらに第二レンズ鏡筒は、第一レンズ鏡筒よりも筒長が長い。
【0008】
上記構成によれば、広域カメラによる撮像画像に影領域が生じても、広域カメラと比較して細長い局所カメラを用いることで、影領域が撮像できる。
【0009】
また上記構成において、蛍光浸透探傷装置は、ロボットアーム及びプロセッサを備えてよい。ロボットアームは、局所カメラを被検査体に対して移動させる。プロセッサは、ロボットアームを制御する。またプロセッサは、被検査体の設計図データに基づいて、広域カメラによる撮像時の影領域を抽出する。さらにプロセッサは、影領域を局所カメラの撮像領域に含める。
【0010】
上記構成によれば、被検査体の設計図データに基づいて、予め局所カメラによる撮像領域が設定される。局所カメラによる撮像領域を、広域カメラの撮像画像に基づいて設定する場合と比較して、時間の短縮が図られる。
(【0011】以降は省略されています)
この特許をJ-PlatPat(特許庁公式サイト)で参照する
関連特許
株式会社イシダ
表示装置
2日前
個人
視触覚センサ
7日前
愛知電機株式会社
外観検査装置
3日前
株式会社イシダ
組合せ計量装置
1日前
愛知電機株式会社
外観検査方法
3日前
日本精機株式会社
液面検出装置
2日前
ユニパルス株式会社
トルク変換器
7日前
ユニパルス株式会社
トルク変換器
7日前
ユニパルス株式会社
トルク変換器
7日前
IMV株式会社
振動試験装置
1日前
大同特殊鋼株式会社
形状測定方法
1日前
日本特殊陶業株式会社
ガスセンサ
7日前
日本特殊陶業株式会社
ガスセンサ
8日前
日置電機株式会社
絶縁抵抗測定装置
7日前
ユニパルス株式会社
トルク変換器、調整部材
7日前
スズキ株式会社
タイヤ径算出システム
8日前
東レ株式会社
異物検査装置および異物検査方法
7日前
東フロコーポレーション株式会社
流量計
1日前
シブヤ精機株式会社
食品検査装置
7日前
アズビル株式会社
電磁流量計の励磁回路
2日前
CKD株式会社
シート情報確認システム
8日前
株式会社不二越
X線測定システム
7日前
富士電機株式会社
レーザ式ガス分析装置
1日前
国立研究開発法人物質・材料研究機構
校正方法
7日前
マツダ株式会社
車室内音響分析方法
1日前
矢崎総業株式会社
電流センサ
8日前
日本特殊陶業株式会社
FETセンサ
7日前
ホシデン株式会社
振動検知装置
1日前
株式会社東芝
センサ及び電子装置
9日前
個人
アンカー用着脱式ターゲット治具
1日前
矢崎総業株式会社
センサ搭載構造
7日前
浜松ホトニクス株式会社
光学装置
1日前
矢崎総業株式会社
センサ搭載構造
7日前
株式会社Profid
接触冷感測定装置
8日前
CKD株式会社
噴出ヘッドの流速検査装置
7日前
矢崎エナジーシステム株式会社
ガスメータ
3日前
続きを見る
他の特許を見る