TOP
|
特許
|
意匠
|
商標
特許ウォッチ
Twitter
他の特許を見る
10個以上の画像は省略されています。
公開番号
2025178754
公報種別
公開特許公報(A)
公開日
2025-12-09
出願番号
2024085552
出願日
2024-05-27
発明の名称
ガスメータ
出願人
矢崎エナジーシステム株式会社
代理人
個人
,
個人
主分類
G01F
3/22 20060101AFI20251202BHJP(測定;試験)
要約
【課題】工具を使わずに端子台カバーの取り付け/取り外しが容易に行えるガスメータを提供する。
【解決手段】ガスメータは、端子台を備えた本体と、端子台が露出するように本体を覆うフロントカバー5と、端子台を覆うようにフロントカバー5に設けられる端子台カバー7とを備え、端子台カバー7は、カバー本体31と、カバー本体31の背面に設けられたU字状のフック部33とを有し、フック部33は、固定端51と、カバー本体31から離間した自由端53と、中央部41よりも自由端53側の部分であり固定端51側に弾性変形可能な可動部55と、可動部55のU字外周に設けられた係合部57と、を備え、カバー本体31は、自由端53を正面側に露出させる孔部64を有し、フロントカバー5は、フック部33が挿入される開口部65と、開口部65の内壁に設けられ、係合部57と係合する被係合部67とを備える。
【選択図】図8
特許請求の範囲
【請求項1】
外部機器と接続される端子台を備え正面が開放された箱型の本体と、前記端子台が露出するように前記本体の正面を覆うフロントカバーと、前記端子台を覆うように前記フロントカバーに設けられる端子台カバーとを備えるガスメータであって、
前記端子台カバーは、
前記端子台を覆うカバー本体と、前記カバー本体の背面に設けられ前記フロントカバーと係合するU字状部材で、U字の中央部が端部より後方に位置するフック部とを有し、
前記フック部は、
前記カバー本体に固定されたU字の一端である固定端と、前記カバー本体から離間した他端である自由端と、前記中央部よりも前記自由端側の部分であり前記固定端側に弾性変形可能な可動部と、前記可動部のU字外周に設けられ前記フロントカバーと係合する係合部とを備え、
前記カバー本体は、前記自由端を正面側に露出させる孔部を有し、
前記フロントカバーは、前記フック部が挿入される開口部と、前記開口部の内壁において前記係合部と対向する位置に設けられ、前記係合部と係合する被係合部とを備える
ことを特徴とする、ガスメータ。
続きを表示(約 680 文字)
【請求項2】
前記端子台カバーの正面には、前記可動部のU字外周に沿うように第1凹部が設けられ、前記端子台カバーの裏面には、前記第1凹部に対応した位置に第1凸部が設けられ、
前記フロントカバーの、前記第1凸部と対向する位置には、前記第1凸部が挿入される第2凹部が設けられる
ことを特徴とする、請求項1に記載のガスメータ。
【請求項3】
前記第1凹部は、
前記端子台カバーの外周に向けて前記可動部の幅方向に延在する
ことを特徴とする、請求項2に記載のガスメータ。
【請求項4】
前記端子台カバーは、
前記端子台と対向する正面板と、前記正面板の左右両端から後方に突出する側板と、前記正面板の下端から後方に突出する底板と、前記側板の裏面に設けられ水平方向かつ前後方向に延びる板状のリブとを備え、
前記フロントカバーは、前記リブと前記底板とに挟まれる突出部を備える
ことを特徴とする、請求項1~3のいずれか一項に記載のガスメータ。
【請求項5】
前記端子台カバーにおいて、前記自由端側から前記固定端側に向かう向きにおける終端となる縁部の外側の面に設けられ、表面に凹凸が形成された滑り止め面を備える
ことを特徴とする、請求項1~3のいずれか一項に記載のガスメータ。
【請求項6】
前記係合部は突起であり、
前記被係合部は前記突起が挿入される溝部である
ことを特徴とする、請求項1~3のいずれか一項に記載のガスメータ。
発明の詳細な説明
【技術分野】
【0001】
本発明は、ガスメータに関する。
続きを表示(約 2,700 文字)
【背景技術】
【0002】
ガスメータは、ガスの流量を計測する計測部や計測部を制御する制御部等が収納された筐体である本体と、本体の正面を覆う外装部材であるガスメータ用カバーとを備える。一方でガスメータは外部機器と接続するための端子が設けられた端子台も備える。端子台は通常はガスメータ用カバーで覆われているが、外部機器とガスメータとを接続する際は外部機器の配線とガスメータの端子とを接続するために端子台を露出させる必要がある。そこで、ガスメータ用カバーとして、端子台が露出するように本体に設けられるフロントカバーと、フロントカバーに設けられ、端子台を覆う端子台カバーとを有する構造が知られている。この構造で外部機器とガスメータとを接続する際は、端子台カバーをフロントカバーから取り外して端子台を露出させ、端子台に設けられた端子と外部機器の配線とを接続する。接続が終了すると、端子台カバーをフロントカバーに取り付ける。端子台カバーをフロントカバーに取り付けるための構造としては、ネジを用いた構造がある(特許文献1、2)。一方でネジを用いた構造では、端子台カバーやフロントカバーとは別にネジが必要になり、さらにネジを螺合させる雌ネジ側部材も必要になるため、部品点数が増えてコストが上昇する。さらに、ネジを用いた構造では、端子台カバーの取り付け/取り外しの際に工具等でネジを回す作業が必要になり、作業性が悪くなる問題がある。そこで、端子台カバーの一端に軸部を設け、軸部を支持する係止突部をフロントカバーの一端に設けた構造が提案されている(特許文献3)。この構造では、係止突部に軸部を挿入することでネジを用いずに端子台カバーをフロントカバーに取り付けることができ、かつ軸部を中心に端子台カバーを回動させることで、工具を使わずに端子台を露出させられる。
【先行技術文献】
【特許文献】
【0003】
特開2020-79754号公報
特開2007-315950号公報
特開2014-37968号公報
【発明の概要】
【発明が解決しようとする課題】
【0004】
特許文献3に記載の構造は、工具を使わずに端子台カバーをフロントカバーに取り付けることができ、かつ工具を使わずに端子台を露出させられる点で有用である。一方で、特許文献3に記載の構造で端子台カバーを回動させて端子台を露出させると、回動した端子台カバーが端子台の側方を塞ぐ。この状態で外部機器の配線を端子に接続する作業を端子台カバーに塞がれた側から行う必要がある場合、端子台カバーを取り外す方が好ましい。しかしながら特許文献3は軸部が係止突部よりも折れやすい構造であるため、係止突部から軸部を引き抜こうとすると、軸部が折れる可能性がある。そのため、端子台カバーを破損させずにフロントカバーから取り外すのが困難であった。
【0005】
本発明は、このような問題を解決するためになされたものであり、その目的とするところは、工具を使わずに端子台カバーの取り付け/取り外しが容易に行えるガスメータを提供することにある。
【課題を解決するための手段】
【0006】
本発明のガスメータは、外部機器と接続される端子台を備え正面が開放された箱型の本体と、前記端子台が露出するように前記本体の正面を覆うフロントカバーと、前記端子台を覆うように前記フロントカバーに設けられる端子台カバーとを備えるガスメータであって、前記端子台カバーは、前記端子台を覆うカバー本体と、前記カバー本体の背面に設けられ前記フロントカバーと係合するU字状部材で、U字の中央部が端部より後方に位置するフック部とを有し、前記フック部は、前記カバー本体に固定されたU字の一端である固定端と、前記カバー本体から離間した他端である自由端と、前記中央部よりも前記自由端側の部分であり前記固定端側に弾性変形可能な可動部と、前記可動部のU字外周に設けられ前記フロントカバーと係合する係合部とを備え、前記カバー本体は、前記自由端を正面側に露出させる孔部を有し、前記フロントカバーは、前記フック部が挿入される開口部と、前記開口部の内壁において前記係合部と対向する位置に設けられ、前記係合部と係合する被係合部とを備える。
【発明の効果】
【0007】
本発明によれば、工具を使わずに端子台カバーの取り付け/取り外しが容易に行えるガスメータを提供できる。
【図面の簡単な説明】
【0008】
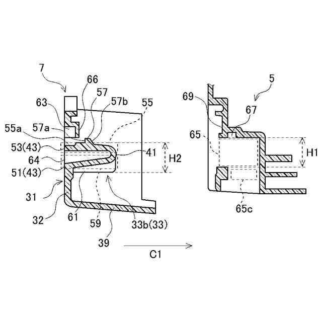
第1の実施形態に係るガスメータを示す斜視図である。
図1の分解斜視図である。
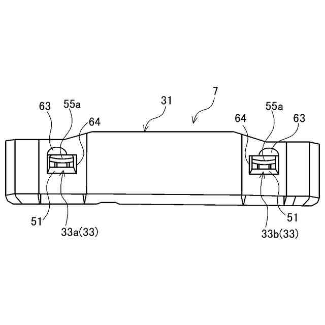
図1のフロントカバー本体の正面図である。
図1の端子台カバーの正面図である。
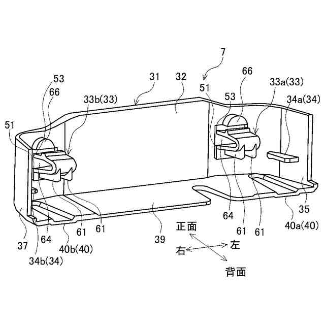
図1の端子台カバーを後方から見た斜視図である。
図1の端子台カバーを下方から見た斜視図である。
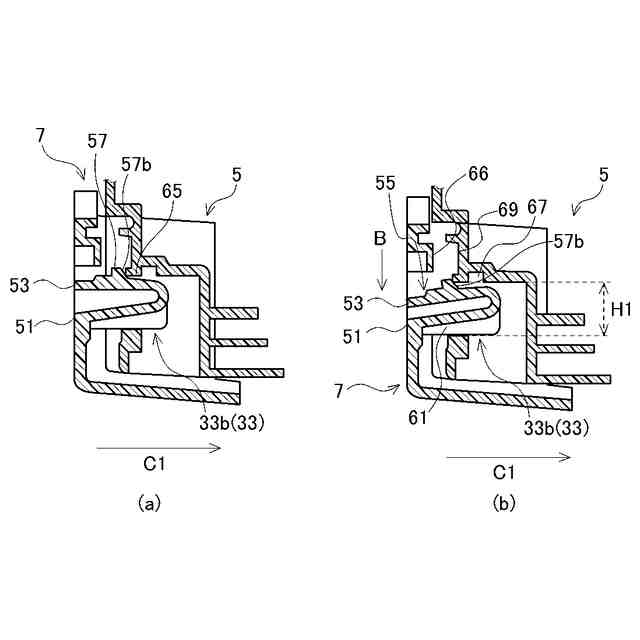
図1のA-A断面図である。
図7の分解図であって、フック部の周囲を示す。
フロントカバーに端子台カバーを取り付ける手順を示す図であって、図8に対応する図である。
第2の実施形態に係るガスメータの端子台カバーを示す正面図である。
第2の実施形態に係るガスメータのフロントカバーを示す正面図である。
【発明を実施するための形態】
【0009】
以下、本発明を好適な実施形態に沿って説明する。なお、本発明は以下に示す実施形態に限られるものではなく、本発明の趣旨を逸脱しない範囲において適宜変更可能である。また、以下に示す実施形態においては、一部構成の図示や説明を省略している箇所があるが、省略された技術の詳細については、以下に説明する内容と矛盾点が発生しない範囲内において、適宜公知又は周知の技術が適用されていることはいうまでもない。
【0010】
まず、第1の実施形態に係るガスメータの概略構成について、図1~図6を参照して説明する。図1は、第1の実施形態に係るガスメータを示す斜視図である。図2は、図1の分解斜視図である。図3は、図1のフロントカバー本体の正面図である。図4は、図1の端子台カバーの正面図である。図5は、図1の端子台カバーを後方から見た斜視図である。図6は、図1の端子台カバーを下方から見た斜視図である。図1及び図2に示すようにガスメータ1は、本体3、フロントカバー5、及び端子台カバー7を備える。
(【0011】以降は省略されています)
この特許をJ-PlatPat(特許庁公式サイト)で参照する
関連特許
個人
視触覚センサ
5日前
日本精機株式会社
検出装置
1か月前
個人
採尿及び採便具
1か月前
個人
計量機能付き容器
1か月前
愛知電機株式会社
外観検査装置
1日前
愛知電機株式会社
外観検査方法
1日前
甲神電機株式会社
電流検出装置
1か月前
株式会社カクマル
境界杭
20日前
株式会社ミツトヨ
測定器
1か月前
日本精機株式会社
発光表示装置
13日前
ユニパルス株式会社
トルク変換器
5日前
ユニパルス株式会社
トルク変換器
5日前
ユニパルス株式会社
トルク変換器
5日前
株式会社トプコン
測量装置
12日前
アズビル株式会社
電磁流量計
1か月前
大成建設株式会社
風洞実験装置
1か月前
愛知電機株式会社
軸部材の外観検査装置
1か月前
愛知時計電機株式会社
ガスメータ
1か月前
日本特殊陶業株式会社
ガスセンサ
28日前
大和製衡株式会社
組合せ計量装置
1か月前
大和製衡株式会社
組合せ計量装置
1か月前
双庸電子株式会社
誤配線検査装置
1か月前
日本特殊陶業株式会社
ガスセンサ
12日前
個人
計量具及び計量機能付き容器
1か月前
日本信号株式会社
距離画像センサ
1か月前
個人
非接触による電磁パルスの測定方法
1か月前
ローム株式会社
半導体装置
1か月前
ローム株式会社
半導体装置
1か月前
個人
システム、装置及び実験方法
1か月前
日本特殊陶業株式会社
ガスセンサ
6日前
日本特殊陶業株式会社
ガスセンサ
5日前
本陣水越株式会社
車載式計測標的物
7日前
キーコム株式会社
画像作成システム
20日前
日本特殊陶業株式会社
センサ
1か月前
日本特殊陶業株式会社
センサ
14日前
株式会社不二越
X線測定装置
1か月前
続きを見る
他の特許を見る