TOP
|
特許
|
意匠
|
商標
特許ウォッチ
Twitter
他の特許を見る
公開番号
2025179919
公報種別
公開特許公報(A)
公開日
2025-12-11
出願番号
2024086858
出願日
2024-05-29
発明の名称
リアルタイムクロック装置
出願人
セイコーエプソン株式会社
代理人
個人
,
個人
,
個人
,
個人
主分類
G04G
3/00 20060101AFI20251204BHJP(時計)
要約
【課題】高精度の時刻を提供できるリアルタイムクロック装置等の実現。
【解決手段】リアルタイムクロック装置20は、時刻の基準パルス信号PRFが入力される入力端子TPRFと、発振クロック信号CKを出力する発振回路60と、発振クロック信号CKに基づいて内部時刻の情報を生成する計時カウント回路70と、基準パルス信号PRFが入力されたときの内部時刻に時刻ズレが発生したと判定した場合に、時刻ズレ量と時刻ズレの時間間隔とに基づく発振クロック信号CKの周波数補正と、内部時刻の時刻補正を行う処理回路40を含む。
【選択図】図1
特許請求の範囲
【請求項1】
時刻の基準パルス信号が入力される入力端子と、
発振クロック信号を出力する発振回路と、
前記発振クロック信号に基づいて内部時刻の情報を生成する計時カウント回路と、
前記基準パルス信号が入力されたときの前記内部時刻に時刻ズレが発生したと判定した場合に、時刻ズレ量と前記時刻ズレの時間間隔とに基づく前記発振クロック信号の周波数補正と、前記内部時刻の時刻補正と、を行う処理回路と、
を含むことを特徴とするリアルタイムクロック装置。
続きを表示(約 1,200 文字)
【請求項2】
請求項1に記載されたリアルタイムクロック装置において、
前記処理回路は、
前記基準パルス信号の第1入力タイミングでの前記内部時刻と、前記第1入力タイミングの後の前記基準パルス信号の第2入力タイミングでの前記内部時刻とを比較することで、前記時刻ズレが発生したか否かを判定することを特徴とするリアルタイムクロック装置。
【請求項3】
請求項1に記載されたリアルタイムクロック装置において、
前記処理回路は、
前記周波数補正が行われてから、次に前記基準パルス信号が入力されたタイミングにおいて前記内部時刻の前記時刻補正を行うことを特徴とするリアルタイムクロック装置。
【請求項4】
請求項1に記載されたリアルタイムクロック装置において、
前記処理回路は、
初回である1回目に前記時刻ズレが発生したと判定したときには、前記周波数補正を行わず、2回目に前記時刻ズレが発生したと判定したときに、前記周波数補正を行うことを特徴とするリアルタイムクロック装置。
【請求項5】
請求項1に記載されたリアルタイムクロック装置において、
前記時刻ズレの前記時間間隔は、前記時刻補正が行われてから、次に前記時刻ズレが検知されるまでの時間間隔であることを特徴とするリアルタイムクロック装置。
【請求項6】
請求項1に記載されたリアルタイムクロック装置において、
前記計時カウント回路は、
時分秒をカウントする第1カウンターと、
秒未満をカウントする第2カウンターと、
を含み、
前記処理回路は、
前記内部時刻が、前記基準パルス信号に対応する時刻よりも進んでいる場合、前記時刻補正において、前記第2カウンターのカウント値をリセットし、
前記内部時刻が、前記基準パルス信号に対応する時刻よりも遅れている場合、前記時刻補正において、前記第1カウンターのカウント値に対して1秒に対応する値を加算して、前記第2カウンターのカウント値をリセットすることを特徴とするリアルタイムクロック装置。
【請求項7】
請求項1に記載されたリアルタイムクロック装置において、
タイムスタンプ情報が入力されるインターフェース回路を含み、
前記処理回路は、
前記タイムスタンプ情報に基づいて前記内部時刻の情報を設定することを特徴とするリアルタイムクロック装置。
【請求項8】
請求項7に記載されたリアルタイムクロック装置において、
前記処理回路は、
前記タイムスタンプ情報に基づいて前記内部時刻の情報が設定された後、前記時刻ズレが発生したと判定した場合に、前記周波数補正及び前記時刻補正を行うことを特徴とするリアルタイムクロック装置。
発明の詳細な説明
【技術分野】
【0001】
本発明は、リアルタイムクロック装置等に関する。
続きを表示(約 2,500 文字)
【背景技術】
【0002】
発振クロック信号に基づいて計時を行うことで時刻情報を生成するリアルタイムクロック装置が知られている。例えば特許文献1には、基準パルス信号に応じたタイミングでサブセカンドの下位のカウンターのデータを読み出して計時データの誤差を計測し、サブセカンドの上位のカウンターで分散型の論理緩急を行うことにより、サブセカンドの補正を行う手法が開示されている。
【先行技術文献】
【特許文献】
【0003】
特開2021-189037号公報
【発明の概要】
【発明が解決しようとする課題】
【0004】
特許文献1の従来技術によれば、論理緩急により高い分解能で時刻を定期的に補正することが可能となる。しかしながら、時間の経過と共に、エージングによって計時データのもととなるクロック信号の周波数精度が低下してしまうため、時刻情報の更新を頻繁に行わなければ高精度な時刻を提供するのが難しくなるという課題があった。
【課題を解決するための手段】
【0005】
本開示の一態様は、時刻の基準パルス信号が入力される入力端子と、発振クロック信号を出力する発振回路と、前記発振クロック信号に基づいて内部時刻の情報を生成する計時カウント回路と、前記基準パルス信号が入力されたときの前記内部時刻に時刻ズレが発生したと判定した場合に、時刻ズレ量と前記時刻ズレの時間間隔とに基づく前記発振クロック信号の周波数補正と、前記内部時刻の時刻補正と、を行う処理回路と、を含むリアルタイムクロック装置に関係する。
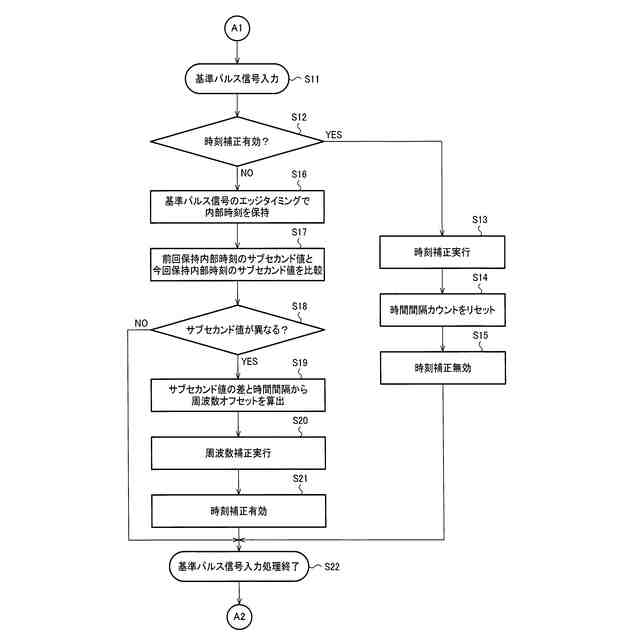
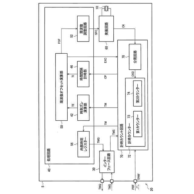
【図面の簡単な説明】
【0006】
本実施形態のリアルタイムクロック装置の構成例。
比較例の手法の問題点の説明図。
本実施形態の手法の説明図。
本実施形態の入出力信号の説明図。
本実施形態のリアルタイムクロック装置の詳細な構成例。
本実施形態の動作を説明する信号波形図。
本実施形態の動作を説明するフローチャート。
本実施形態の動作を説明するフローチャート。
本実施形態の時刻補正制御の説明図。
本実施形態の時刻補正制御の説明図。
本実施形態のリアルタイムクロック装置の詳細な構成例。
本実施形態の動作を説明する信号波形図。
本実施形態の動作を説明するフローチャート。
本実施形態の動作を説明するフローチャート。
【発明を実施するための形態】
【0007】
以下、本実施形態について説明する。なお、以下に説明する本実施形態は、特許請求の範囲の記載内容を不当に限定するものではない。また本実施形態で説明される構成の全てが必須構成要件であるとは限らない。
【0008】
1.リアルタイムクロック装置
図1に本実施形態のリアルタイムクロック装置20の構成例を示す。リアルタイムクロック装置20は、例えば発振クロック信号CKに基づいて計時を行うことで時刻情報を生成する装置であり、例えばリアルタイムクロックモジュールである。図1のリアルタイムクロック装置20は、処理回路40と、発振回路60と、計時カウント回路70と、基準パルス信号PRFの入力端子TPRFを含む。なおリアルタイムクロック装置20は図1の構成には限定されず、これらの一部の構成要素を省略したり、他の構成要素を追加したり、一部の構成要素を他の構成要素に置き換えるなどの種々の変形実施が可能である。
【0009】
入力端子TPRFは、時刻の基準パルス信号PRFが入力される端子である。入力端子TPRFは、例えばリアルタイムクロック装置20のパッケージに設けられる外部接続用の入力端子である。基準パルス信号PRFは時刻の基準信号である。例えば基準パルス信号PRFのエッジタイミングが、時刻の基準タイミングとなり、例えば正時を示すタイミングになる。基準パルス信号PRFとしては、一例としてはGPS(GNSS)などにおけるタイミング用標準信号である1PPS(Pulse Per Second)信号などを用いることができる。本実施形態では例えば外部のGPSモジュールが出力する1PPS等の基準信号を基準パルス信号PRFとして用いることができるが、これに限定されるものではない。例えば1PPSのような1秒毎の信号ではなく、1秒よりも大きい10秒毎の信号などであってもよい。またネットワークを介して通信接続された複数の通信機器を時刻同期させるために時間情報が伝達される場合に、当該時間情報の同期信号などを基準パルス信号PRFとして用いてもよい。例えばNTP(Network Time Protocol)やPTP(Precision Time Protocol)などによる時刻同期による信号を基準パルス信号PRFとして用いてもよい。
【0010】
発振回路60は、発振クロック信号CKを出力する回路である。例えば発振回路60は、発振動作により発振信号を生成し、発振信号に基づく発振クロック信号CKを出力する。例えば発振回路60は、処理回路40からの周波数制御信号SFCにより制御される周波数の発振信号を生成し、この発振信号に基づく発振クロック信号CKを出力する。一例としては、発振回路60は、水晶振動子などの振動子を、駆動回路により駆動して発振させることで正弦波の発振信号を生成し、生成された発振信号を波形整形回路により波形整形することで、矩形波の発振クロック信号CKを出力する。発振クロック信号CKは例えば32.768KHzの周波数のクロック信号である。なお発振クロック信号CKの周波数はこれには限定されず、32KHzなどの周波数であってもよい。またリアルタイムクロック装置20は、この発振クロック信号CKを出力するクロック出力端子を有していてもよい。なお発振回路60の発振動作はこのような振動子を用いたものには限定されず、種々の変形実施が可能である。
(【0011】以降は省略されています)
この特許をJ-PlatPat(特許庁公式サイト)で参照する
関連特許
個人
砂時計
2か月前
個人
時刻同期システム
2か月前
株式会社ジークエスト
経過年数表示ラベル
7日前
セイコーウオッチ株式会社
時計
1日前
セイコーウオッチ株式会社
時計
2か月前
セイコーエプソン株式会社
電子時計
21日前
個人
ワイヤレス給電を使用した針が光るアナログ式時計
1か月前
セイコーエプソン株式会社
電子時計
1か月前
セイコーエプソン株式会社
電子時計
2か月前
ローム株式会社
時間測定回路
2か月前
オメガ・エス アー
交換可能なベゼルを備える計時器
29日前
セイコーエプソン株式会社
文字板及び時計
21日前
シチズン時計株式会社
時計
6日前
日本電波株式会社
電波時計レピータ
1か月前
日本電気株式会社
時刻維持装置および時刻維持方法
1か月前
株式会社村田製作所
光学的パターン表示物品
2か月前
シチズン時計株式会社
腕時計
2か月前
セイコーエプソン株式会社
時計用部品及び時計
6日前
セイコーエプソン株式会社
電子制御式機械時計
2か月前
カシオ計算機株式会社
装飾板及び時計
2か月前
セイコータイムクリエーション株式会社
からくり時計
2か月前
セイコーエプソン株式会社
機械式時計
2か月前
カシオ計算機株式会社
制御装置、制御方法、及びプログラム
2か月前
カシオ計算機株式会社
機器ケース及び時計
3か月前
セイコーエプソン株式会社
時計および風防部材の製造方法
2か月前
セイコーエプソン株式会社
リアルタイムクロック装置
今日
セイコーエプソン株式会社
リアルタイムクロック装置
今日
カシオ計算機株式会社
電子時計及び電子時計本体
2か月前
カシオ計算機株式会社
外装部品ユニット及び時計
2か月前
カシオ計算機株式会社
電子時計、外装部材及びバンド
2か月前
コマデュール ソシエテ アノニム
エナメル彫刻及び模様付け方法
1か月前
カシオ計算機株式会社
時計、表示制御方法及びプログラム
2か月前
セイコーウオッチ株式会社
スイッチ機構、時計用ムーブメントおよび時計
2か月前
カシオ計算機株式会社
外装部品、外装部品ユニット及び時計
2か月前
カシオ計算機株式会社
電子時計、針位置検出方法及びプログラム
3か月前
シチズン時計株式会社
表示車、時計用ムーブメント及び時計
2か月前
続きを見る
他の特許を見る