TOP
|
特許
|
意匠
|
商標
特許ウォッチ
Twitter
他の特許を見る
公開番号
2025179920
公報種別
公開特許公報(A)
公開日
2025-12-11
出願番号
2024086859
出願日
2024-05-29
発明の名称
リアルタイムクロック装置
出願人
セイコーエプソン株式会社
代理人
個人
,
個人
,
個人
,
個人
主分類
G04G
3/00 20060101AFI20251204BHJP(時計)
要約
【課題】簡素なシステム構成での時刻同期の実現。
【解決手段】第1モード及び第2モードを有するリアルタイムクロック装置20は、時刻の基準パルス信号PRFが入力される入力端子TPRFと、時刻の同期パルス信号PSYを出力する出力端子TPSYと、発振クロック信号CKを出力する発振回路60と、発振クロック信号CKに基づいて内部時刻の情報を生成する計時カウント回路70と、第1モードでは、入力端子TPRFから入力された基準パルス信号PRFに基づいて内部時刻の時刻補正を行うと共に内部時刻の情報に基づき生成した同期パルス信号PSYを出力端子TPSYから出力させ、第2モードでは、入力端子TPRFから入力された基準パルス信号PRFに基づいて内部時刻の時刻補正を行う処理回路40を含む。
【選択図】図1
特許請求の範囲
【請求項1】
第1モード及び第2モードを有するリアルタイムクロック装置であって、
時刻の基準パルス信号が入力される入力端子と、
時刻の同期パルス信号を出力する出力端子と、
発振クロック信号を出力する発振回路と、
前記発振クロック信号に基づいて内部時刻の情報を生成する計時カウント回路と、
前記第1モードでは、前記入力端子から入力された前記基準パルス信号に基づいて前記内部時刻の時刻補正を行うと共に前記内部時刻の情報に基づき生成した前記同期パルス信号を前記出力端子から出力させ、前記第2モードでは、前記入力端子から入力された前記基準パルス信号に基づいて前記内部時刻の時刻補正を行う処理回路と、
を含むことを特徴とするリアルタイムクロック装置。
続きを表示(約 1,200 文字)
【請求項2】
請求項1に記載されたリアルタイムクロック装置において、
前記処理回路は、
前記第1モードにおいて、前記同期パルス信号の出力間隔を設定することを特徴とするリアルタイムクロック装置。
【請求項3】
請求項2に記載されたリアルタイムクロック装置において、
出力間隔設定情報が入力されるインターフェース回路を含み、
前記処理回路は、前記出力間隔設定情報に基づいて、前記出力間隔を設定することを特徴とするリアルタイムクロック装置。
【請求項4】
請求項1に記載されたリアルタイムクロック装置において、
モード設定情報が入力されるインターフェース回路を含み、
前記処理回路は、
前記モード設定情報に基づいて、リアルタイムクロック装置の制御モードを前記第1モード又は前記第2モードに設定することを特徴とするリアルタイムクロック装置。
【請求項5】
請求項1に記載されたリアルタイムクロック装置において、
タイムスタンプ情報が入力されるインターフェース回路を含み、
前記処理回路は、
前記タイムスタンプ情報による前記内部時刻の情報の設定の後に、前記同期パルス信号を前記出力端子から出力させることを特徴とするリアルタイムクロック装置。
【請求項6】
請求項1に記載されたリアルタイムクロック装置において、
前記計時カウント回路は、
前記内部時刻の情報として秒、分、時、日、週、月及び年の少なくともいずれかの情報である時間情報を生成し、
前記処理回路は、
前記時間情報に基づいて前記同期パルス信号を生成することを特徴とするリアルタイムクロック装置。
【請求項7】
請求項1に記載されたリアルタイムクロック装置において、
前記計時カウント回路は、
時分秒をカウントする第1カウンターと、
秒未満をカウントする第2カウンターと、
を含み、
前記処理回路は、
前記内部時刻が、前記基準パルス信号に対応する時刻よりも進んでいる場合、前記時刻補正において、前記第2カウンターのカウント値をリセットし、
前記内部時刻が、前記基準パルス信号に対応する時刻よりも遅れている場合、前記時刻補正において、前記第1カウンターのカウント値に対して1秒に対応する値を加算して、前記第2カウンターのカウント値をリセットすることを特徴とするリアルタイムクロック装置。
【請求項8】
請求項1に記載されたリアルタイムクロック装置において、
前記処理回路は、
前記基準パルス信号が入力されたときの前記内部時刻に時刻ズレが発生したと判定した場合に、時刻ズレ量と前記時刻ズレの時間間隔とに基づく前記発振クロック信号の周波数補正と、前記内部時刻の前記時刻補正と、を行うことを特徴とするリアルタイムクロック装置。
発明の詳細な説明
【技術分野】
【0001】
本発明は、リアルタイムクロック装置等に関する。
続きを表示(約 2,700 文字)
【背景技術】
【0002】
発振クロック信号に基づいて計時を行うことで時刻情報を生成するリアルタイムクロック装置が知られている。例えば特許文献1には、基準パルス信号に応じたタイミングでサブセカンドの下位のカウンターのデータを読み出して計時データの誤差を計測し、サブセカンドの上位のカウンターで分散型の論理緩急を行うことにより、サブセカンドの補正を行う手法が開示されている。
【先行技術文献】
【特許文献】
【0003】
特開2021-189037号公報
【発明の概要】
【発明が解決しようとする課題】
【0004】
複数のリアルタイムクロック装置を用いてシステムを構築する場合、それぞれのリアルタイムクロック装置に対してシステム側である外部から時刻情報を入力して時刻同期させようとすると、システムが複雑化してしまうという課題があった。
【課題を解決するための手段】
【0005】
本開示の一態様は、第1モード及び第2モードを有するリアルタイムクロック装置であって、時刻の基準パルス信号が入力される入力端子と、時刻の同期パルス信号を出力する出力端子と、発振クロック信号を出力する発振回路と、前記発振クロック信号に基づいて内部時刻の情報を生成する計時カウント回路と、前記第1モードでは、前記入力端子から入力された前記基準パルス信号に基づいて前記内部時刻の時刻補正を行うと共に前記内部時刻の情報に基づき生成した前記同期パルス信号を前記出力端子から出力させ、前記第2モードでは、前記入力端子から入力された前記基準パルス信号に基づいて前記内部時刻の時刻補正を行う処理回路と、を含むリアルタイムクロック装置に関係する。
【図面の簡単な説明】
【0006】
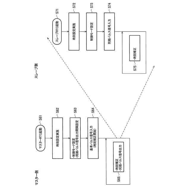
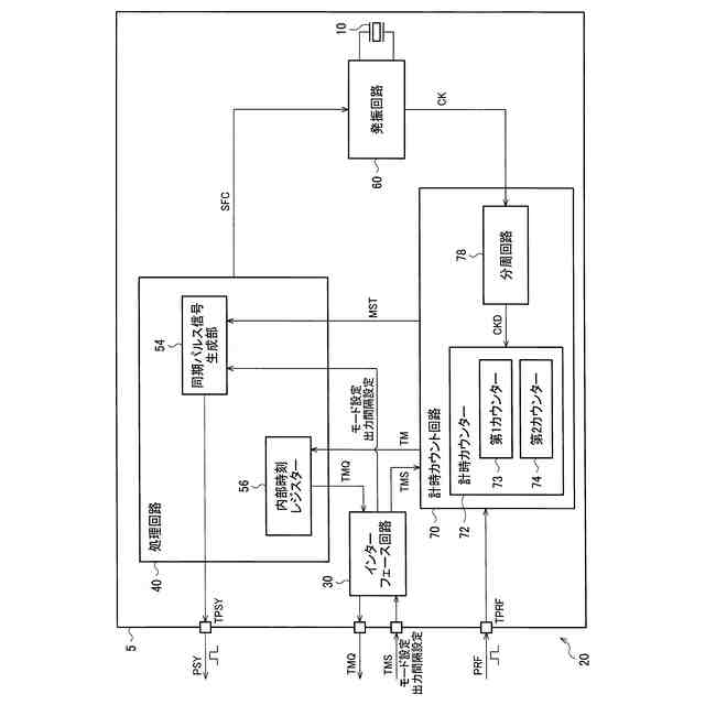
本実施形態のリアルタイムクロック装置の構成例。
本実施形態のシステム構成例。
本実施形態のリアルタイムクロック装置の詳細な構成例。
本実施形態の動作を説明する信号波形図。
本実施形態の動作を説明するフローチャート。
本実施形態の時刻補正制御の説明図。
本実施形態の時刻補正制御の説明図。
比較例の手法の問題点の説明図。
本実施形態の周波数補正及び時刻補正の手法の説明図。
本実施形態の入出力信号の説明図。
周波数補正を実現するリアルタイムクロック装置の詳細な構成例。
本実施形態の動作を説明する信号波形図。
本実施形態の動作を説明するフローチャート。
本実施形態の動作を説明するフローチャート。
【発明を実施するための形態】
【0007】
以下、本実施形態について説明する。なお、以下に説明する本実施形態は、特許請求の範囲の記載内容を不当に限定するものではない。また本実施形態で説明される構成の全てが必須構成要件であるとは限らない。
【0008】
1.リアルタイムクロック装置
図1に本実施形態のリアルタイムクロック装置20の構成例を示す。リアルタイムクロック装置20は、例えば発振クロック信号CKに基づいて計時を行うことで時刻情報を生成する装置であり、例えばリアルタイムクロックモジュールである。図1のリアルタイムクロック装置20は、処理回路40と、発振回路60と、計時カウント回路70と、基準パルス信号PRFの入力端子TPRFと、同期パルス信号PSYの出力端子TPSYを含む。なおリアルタイムクロック装置20は図1の構成には限定されず、これらの一部の構成要素を省略したり、他の構成要素を追加したり、一部の構成要素を他の構成要素に置き換えるなどの種々の変形実施が可能である。
【0009】
入力端子TPRFは、時刻の基準パルス信号PRFが入力される端子である。入力端子TPRFは、例えばリアルタイムクロック装置20のパッケージに設けられる外部接続用の入力端子である。基準パルス信号PRFは時刻の基準信号である。例えば基準パルス信号PRFのエッジタイミングが、時刻の基準タイミングとなり、例えば正時を示すタイミングになる。基準パルス信号PRFとしては、一例としてはGPS(GNSS)などにおけるタイミング用標準信号である1PPS(Pulse Per Second)信号などを用いることができる。本実施形態では例えば外部のGPSモジュールが出力する1PPS等の基準信号を基準パルス信号PRFとして用いることができるが、これに限定されるものではない。例えば1PPSのような1秒毎の信号ではなく、1秒よりも大きい10秒毎の信号などであってもよい。またネットワークを介して通信接続された複数の通信機器を時刻同期させるために時間情報が伝達される場合に、当該時間情報の同期信号などを基準パルス信号PRFとして用いてもよい。例えばNTP(Network Time Protocol)やPTP(Precision Time Protocol)などによる時刻同期による信号を基準パルス信号PRFとして用いてもよい。
【0010】
出力端子TPSYは、時刻の同期パルス信号PSYが出力される端子である。出力端子TPSYは、例えばリアルタイムクロック装置20のパッケージに設けられる外部接続用の出力端子である。同期パルス信号PSYは、リアルタイムクロック装置20の外部の他のリアルタイムクロック装置の基準パルス信号となる信号である。例えば同期パルス信号PSYは、リアルタイムクロック装置20と他のリアルタイムクロック装置を時刻同期させるための信号である。例えば同期パルス信号PSYのエッジタイミングは、基準パルス信号PRFのエッジタイミングに対応するタイミングになる。例えば基準パルス信号PRFがそのエッジタイミングにおいて電圧レベルが変化したときに、同期パルス信号PSYの電圧レベルも変化する。但し基準パルス信号PRFのエッジタイミングにおいて同期パルス信号PSYの電圧レベルが常に変化する必要はなく、例えば基準パルス信号PRFのn回(nは2以上の整数)のエッジタイミングごとに、同期パルス信号PSYの電圧レベルが変化してもよい。例えば基準パルス信号PRFが例えば1秒毎に電圧レベルが変化するパルス信号である場合に、同期パルス信号PSYは例えば10秒ごと、1分ごと又は1時間ごとなどで電圧レベルが変化するパルス信号であってもよい。
(【0011】以降は省略されています)
この特許をJ-PlatPat(特許庁公式サイト)で参照する
関連特許
セイコーエプソン株式会社
印刷装置
今日
セイコーエプソン株式会社
電子機器
1日前
セイコーエプソン株式会社
補正方法
今日
セイコーエプソン株式会社
微細化装置
8日前
セイコーエプソン株式会社
微細化装置
8日前
セイコーエプソン株式会社
流体デバイス
今日
セイコーエプソン株式会社
光学表示装置
今日
セイコーエプソン株式会社
液体吐出装置
2日前
セイコーエプソン株式会社
流体デバイス
13日前
セイコーエプソン株式会社
振動デバイス
今日
セイコーエプソン株式会社
投射システム
今日
セイコーエプソン株式会社
フィルター装置
13日前
セイコーエプソン株式会社
三次元造形装置
今日
セイコーエプソン株式会社
シート製造装置
6日前
セイコーエプソン株式会社
時計用部品及び時計
6日前
セイコーエプソン株式会社
通知装置及び通知方法
今日
セイコーエプソン株式会社
成形方法及び成形装置
6日前
セイコーエプソン株式会社
検出装置及び検出方法
今日
セイコーエプソン株式会社
表示装置及び表示方法
今日
セイコーエプソン株式会社
印刷装置、及び制御方法
6日前
セイコーエプソン株式会社
三次元造形物の製造方法
6日前
セイコーエプソン株式会社
リアルタイムクロック装置
今日
セイコーエプソン株式会社
リアルタイムクロック装置
今日
セイコーエプソン株式会社
表示方法及び表示システム
今日
セイコーエプソン株式会社
表示方法及び表示システム
今日
セイコーエプソン株式会社
表示方法及び表示システム
今日
セイコーエプソン株式会社
方法、および、制御システム
今日
セイコーエプソン株式会社
電気光学装置および電子機器
6日前
セイコーエプソン株式会社
補正方法及びプロジェクター
今日
セイコーエプソン株式会社
媒体搬送装置及び画像読取装置
7日前
セイコーエプソン株式会社
光源装置およびプロジェクター
13日前
セイコーエプソン株式会社
光源装置およびプロジェクター
13日前
セイコーエプソン株式会社
振動素子、振動子、及び発振器
7日前
セイコーエプソン株式会社
シート製造装置、および加湿装置
今日
セイコーエプソン株式会社
印刷装置及び印刷装置の制御方法
6日前
セイコーエプソン株式会社
記録装置、及びクリーニング装置
今日
続きを見る
他の特許を見る