TOP
|
特許
|
意匠
|
商標
特許ウォッチ
Twitter
他の特許を見る
公開番号
2025181633
公報種別
公開特許公報(A)
公開日
2025-12-11
出願番号
2025015926
出願日
2025-02-03
発明の名称
シート製造装置、および加湿装置
出願人
セイコーエプソン株式会社
代理人
個人
,
個人
,
個人
主分類
D04H
1/736 20120101AFI20251204BHJP(組みひも;レース編み;メリヤス編成;縁とり;不織布)
要約
【課題】使用者の利便性を向上させるシート製造装置、および加湿装置を提供すること。
【解決手段】シート製造装置は、加湿筐体と、前記加湿筐体に着脱可能な加湿空気発生部と、を備え、前記加湿筐体は、第1センサーを有し、前記加湿空気発生部は、水を貯留する貯水部と、前記貯水部の水位に応じて変位するフロート部と、を含み、前記第1センサーは、前記加湿筐体に前記加湿空気発生部がセットされかつ前記貯水部の排水が完了した状態における、前記フロート部の位置である第1位置に、前記フロート部があることを検出する。
【選択図】図3
特許請求の範囲
【請求項1】
材料を解繊し、得られる繊維からシートを製造する処理部と、
加湿筐体と、
前記加湿筐体に着脱可能で空気を加湿する加湿空気発生部と、
を備え、
前記加湿筐体は、第1センサーを有し、
前記加湿空気発生部は、水を貯留する貯水部と、前記貯水部の水位に応じて変位するフロート部と、を含み、
前記第1センサーは、前記加湿筐体に前記加湿空気発生部がセットされかつ前記貯水部の排水が完了した状態における、前記フロート部の位置である第1位置に、前記フロート部があることを検出するシート製造装置。
続きを表示(約 1,300 文字)
【請求項2】
前記加湿筐体は、前記貯水部への前記水の供給を行う給水部を有し、
前記第1センサーの検出結果に基づいて、前記給水部を制御する制御部を備える、請求項1に記載のシート製造装置。
【請求項3】
前記加湿筐体は、第2センサーを有し、
前記第2センサーは、前記加湿筐体に前記加湿空気発生部がセットされかつ前記貯水部が満水の状態における、前記フロート部の位置である第2位置に、前記フロート部があることを検出する、請求項2に記載のシート製造装置。
【請求項4】
前記制御部は、前記加湿空気発生部が加湿中に前記第2センサーの検出結果が前記第2位置に前記フロート部がないことを示したことに応じて、前記給水部に給水を開始させ、前記第2センサーの検出結果が、前記第2位置に前記フロート部があることを示していることを条件に、前記給水部に給水を終了させる、請求項3に記載のシート製造装置。
【請求項5】
開いた状態で前記加湿空気発生部の着脱を可能にし、閉じた状態で前記加湿空気発生部の着脱を不可能にする扉を備え、
前記制御部は、前記扉が開いた状態から閉じた状態に変化したのち、前記第1センサーの検出結果が前記第1位置に前記フロート部があることを示している場合に、前記給水部に給水を開始させ、前記第2センサーの検出結果が、前記第2位置に前記フロート部があることを示していることを条件に、前記給水部に給水を終了させる、請求項3に記載のシート製造装置。
【請求項6】
開いた状態で前記加湿空気発生部の着脱を可能にし、閉じた状態で前記加湿空気発生部の着脱を不可能にする扉と、
前記扉に対する施錠および開錠を行う錠を備え、
前記錠は、前記フロート部が前記第1位置にあることを前記第1センサーが検出している状態で、前記扉を開錠させる、請求項1に記載のシート製造装置。
【請求項7】
前記加湿空気発生部は、斜面部を含み、
前記フロート部は、浮揚部、磁石、およびアーム部を含み、
前記アーム部の一端は、軸に対して回動可能に支持され、
前記アーム部の他端には、前記浮揚部および前記磁石が配置され、
前記浮揚部は、前記貯水部の前記水位に応じて、前記フロート部を前記軸に対して回動させる浮力を生じさせ、
前記フロート部が前記第1位置にあるとき、
前記斜面部は、前記フロート部と当接して前記フロート部の回動を規制し、
前記アーム部の前記一端から前記他端へ向かう延在方向は、鉛直下方よりも前記貯水部の満水時において前記フロート部が位置する側に向き、
前記第1センサーは、磁気センサーであって、前記磁石が生じさせる磁場により前記フロート部が前記第1位置にあることを検出する、請求項1に記載のシート製造装置。
【請求項8】
駆動部、第1センサー、および前記第1センサーに対して着脱可能な加湿空気発生部を有し、
前記加湿空気発生部は、水を貯留する貯水部を含み、
前記第1センサーは、前記加湿空気発生部がセットされ、かつ前記貯水部の排水が完了した状態を検出する加湿装置。
発明の詳細な説明
【技術分野】
【0001】
本発明は、シート製造装置、および加湿装置に関する。
続きを表示(約 1,400 文字)
【背景技術】
【0002】
従来、古紙などに由来する繊維から乾式にてシートを製造する装置が知られていた。このような装置には、繊維や結着材などを加湿する加湿装置を備えるものがある。例えば、特許文献1には、ディスクで掻き上げた水を気化させて加湿を行う加湿器が開示されている。
【先行技術文献】
【特許文献】
【0003】
特開2011-27377号公報
【発明の概要】
【発明が解決しようとする課題】
【0004】
しかしながら、貯水槽の状態を装置側が確認する方法が求められていた。
【課題を解決するための手段】
【0005】
シート製造装置は、材料を解繊し、得られる繊維からシートを製造する処理部と、加湿筐体と、前記加湿筐体に着脱可能で空気を加湿する加湿空気発生部と、を備え、前記加湿筐体は、第1センサーを有し、前記加湿空気発生部は、水を貯留する貯水部と、前記貯水部の水位に応じて変位するフロート部と、を含み、前記第1センサーは、前記加湿筐体に前記加湿空気発生部がセットされかつ前記貯水部の排水が完了した状態における、前記フロート部の位置である第1位置に、前記フロート部があることを検出する。
【0006】
加湿装置は、駆動部、第1センサー、および前記第1センサーに対して着脱可能な加湿空気発生部を有し、前記加湿空気発生部は、水を貯留する貯水部を含み、前記第1センサーは、前記加湿空気発生部がセットされ、かつ前記貯水部の排水が完了した状態を検出する。
【図面の簡単な説明】
【0007】
実施形態に係るシート製造装置の構成を示す模式図。
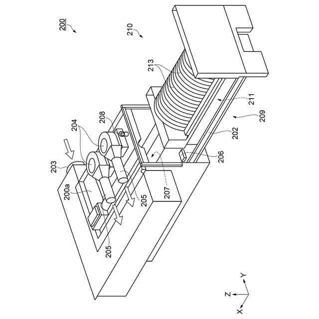
加湿装置の構成を示す斜視図。
加湿装置の構成を示す断面図。
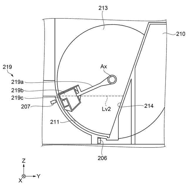
フロート部、第1センサー、第2センサーなどの配置および作用を示す透視図。
フロート部、第1センサー、第2センサーなどの作用を示す透視図。
加湿装置のメンテナンス作業の手順を示すフロー図。
【発明を実施するための形態】
【0008】
以下の実施形態では、繊維を含む古紙などの材料からシートを製造するシート製造装置1、およびシート製造装置1に備わる加湿装置200を例示して、図面を参照して説明する。
【0009】
以下の各図においては、相互に直交する座標軸としてXYZ軸を付し、各矢印が指す方向を+方向とし、+方向と反対の方向を-方向とする。Z軸は鉛直方向に沿う仮想軸であって+Z方向を上方とし、-Z方向を下方とする。-Z方向は鉛直方向である。また、シート製造装置1において、材料、ウェブ、およびシートなどの搬送方向の先を下流とし、搬送方向を遡る側を上流とする。図示の便宜上、各部材の大きさを実際とは異ならせている。
【0010】
図1に示すように、本実施形態に係るシート製造装置1は、第1ユニット群101、第2ユニット群102、および第3ユニット群103を備える。第1ユニット群101、第2ユニット群102、および第3ユニット群103は、図示しないフレームに支持される。図1においては、紙片C、シートP3、スリット片S、および不要な端材などが移動する方向を白抜きの矢印で示している。以下の説明では、複数の紙片Cから成る紙片Cの集合体も単に紙片Cという。
(【0011】以降は省略されています)
この特許をJ-PlatPat(特許庁公式サイト)で参照する
関連特許
東レ株式会社
不織布の製造装置
2か月前
日本エステル株式会社
クッション体
3か月前
ユニチカ株式会社
化粧料含浸用基布の製造方法
3か月前
グンゼ株式会社
編地及び繊維製品
2か月前
大日本印刷株式会社
インテリア用品
1か月前
モリト株式会社
紐体を用いた連結体
3か月前
ユニチカ株式会社
機能性不織布の製造方法
1か月前
ユニチカトレーディング株式会社
油吸着材用不織布
2か月前
帝人フロンティア株式会社
布帛および繊維製品
1日前
東洋紡エムシー株式会社
農作物保護用生分解性不織布。
2か月前
東レ株式会社
不織布の製造装置および不織布の製造方法
2か月前
株式会社島精機製作所
編地の編成方法、および編地
4か月前
株式会社島精機製作所
編地の編成方法、および編地
3か月前
日本製紙クレシア株式会社
ローション不織布
3か月前
セイコーエプソン株式会社
シート製造装置
7日前
セイコーエプソン株式会社
シート製造装置
1か月前
セイコーエプソン株式会社
シート製造装置
1か月前
セイコーエプソン株式会社
シート製造装置
1か月前
セイコーエプソン株式会社
シート製造装置
1か月前
セイコーエプソン株式会社
シート製造装置
1か月前
タイガースポリマー株式会社
耐火性不織布およびその製造方法
23日前
セイコーエプソン株式会社
シート製造装置
28日前
セイコーエプソン株式会社
シート製造装置
1か月前
株式会社ヴィオレッタ
メッシュ経編地及び繊維製品
4か月前
日本製紙クレシア株式会社
複合型不織布
3日前
日本製紙クレシア株式会社
複合型不織布
3か月前
花王株式会社
吸収性物品用不織布
2か月前
個人
タティングレース形成方法及びタティングレース装飾物
9日前
大和紡績株式会社
積層不織布、および液体含浸シート
2か月前
東レ株式会社
不織布およびその製造方法、ならびに調湿材、積層体
7日前
ウラベ株式会社
伸縮性経編地の製造方法
14日前
東洋紡エムシー株式会社
肌への密着性に優れるフェイスマスク用基材
2か月前
東レ株式会社
エレクトレットメルトブロー不織布およびその製造方法
3か月前
日本毛織株式会社
編地及び衣類
2か月前
東レ株式会社
不織布およびその製造方法ならびに積層体、衣料、雑貨
2か月前
東洋紡エムシー株式会社
生分解性不織布、その用途及びその製造方法。
2か月前
続きを見る
他の特許を見る