TOP
|
特許
|
意匠
|
商標
特許ウォッチ
Twitter
他の特許を見る
10個以上の画像は省略されています。
公開番号
2025159442
公報種別
公開特許公報(A)
公開日
2025-10-21
出願番号
2024061990
出願日
2024-04-08
発明の名称
シート製造装置
出願人
セイコーエプソン株式会社
代理人
個人
,
個人
,
個人
主分類
D04H
1/732 20120101AFI20251014BHJP(組みひも;レース編み;メリヤス編成;縁とり;不織布)
要約
【課題】高い品質で成形することが可能なシート製造装置を提供する。
【解決手段】堆積ベルト61a及び第1吸引部が設置された第1フレーム400と、搬送ベルト62a及び第2吸引部が設置された第2フレーム500と、を備え、第1フレーム400と第2フレーム500との間に偏心カム330が設けられ、偏心カム330が回転することに応じて、第1フレーム400に対する第2フレーム500の位置が変更される。
【選択図】図7
特許請求の範囲
【請求項1】
繊維を含む材料からシートを製造するシート製造装置であって、
前記材料を気流によって堆積させてウエブを形成する堆積部と、
前記ウエブを搬送する搬送部と、
前記ウエブを加圧することで前記シートを成形する加圧部と、
を備え、
前記堆積部は、
前記材料を攪拌するドラム部材と、
前記ドラム部材から放出された前記材料が堆積される堆積ベルトと、
前記堆積ベルトを挟んで前記ドラム部材と反対側に設けられ、前記材料が前記堆積ベルトの上に堆積するように吸引を行う第1吸引部と、
前記堆積ベルト及び前記第1吸引部が設置された第1フレームと、
を備え、
前記搬送部は、
前記ウエブの一方面と接触して前記ウエブを保持する搬送ベルトと、
前記搬送ベルトの上方に設けられ、前記ウエブを吸着させるために吸引を行う第2吸引部と、
前記搬送ベルト及び前記第2吸引部が設置された第2フレームと、
を備え、
前記第1フレームと前記第2フレームとの間に偏心カムが設けられ、
前記偏心カムが回転することに応じて、前記第1フレームに対する前記第2フレームの位置が変更される、シート製造装置。
続きを表示(約 1,000 文字)
【請求項2】
請求項1に記載のシート製造装置であって、
前記偏心カムを回転させる駆動モーターを備える、シート製造装置。
【請求項3】
請求項1に記載のシート製造装置であって、
前記第2フレームが前記第1フレームに対して第1位置にある状態から、前記偏心カムが回転することで、前記第2フレームが前記第1位置よりも上方の第2位置に上昇する、シート製造装置。
【請求項4】
請求項3に記載のシート製造装置であって、
前記第2フレームが前記第2位置にある状態から前記偏心カムが回転することで、前記第2フレームが前記第1位置に下降する、シート製造装置。
【請求項5】
請求項3に記載のシート製造装置であって、
前記第1位置のときの前記堆積ベルトと前記搬送ベルトとの間の隙間をL1とし、前記第2位置のときの前記堆積ベルトと前記搬送ベルトとの隙間をL2としたとき、L2>L1の関係となる、シート製造装置。
【請求項6】
請求項1に記載のシート製造装置であって、
前記偏心カムには、突起部が設けられており、
前記突起部の近傍には、前記突起部の有無を判別して前記偏心カムのホームポジションを検出する検出部が配置されている、シート製造装置。
【請求項7】
請求項1に記載のシート製造装置であって、
前記搬送ベルトと対向するように設けられ、前記ウエブの他方面から水分を付与する加湿部を備えている、シート製造装置。
【請求項8】
請求項3に記載のシート製造装置であって、
前記ウエブの先端が前記搬送ベルトに吸着されるとき、前記第2フレームは、前記第1位置にある、シート製造装置。
【請求項9】
請求項7に記載のシート製造装置であって、
前記搬送ベルトに前記ウエブが吸着した後、前記ウエブの先端が前記加湿部の上方を通過する前に、前記偏心カムを回転させて、前記第2フレームを第1位置から第2位置に上昇させる、シート製造装置。
【請求項10】
請求項7に記載のシート製造装置であって、
前記ウエブの先端が前記加湿部の上方を通過した後、前記偏心カムを回転させて、前記第2フレームを第2位置から第1位置に下降させる、シート製造装置。
(【請求項11】以降は省略されています)
発明の詳細な説明
【技術分野】
【0001】
本発明は、シート製造装置に関する。
続きを表示(約 2,100 文字)
【背景技術】
【0002】
特許文献1には、鉛直上方にウエブを吸引しながらウエブを下流側に搬送する、即ち、背面搬送ベルトとして機能する中間搬送部を備えたシート製造装置の構成が開示されている。中間搬送部の上流側において、中間搬送部の下側には、メッシュベルトが配置されている。即ち、ウエブは、中間搬送部とメッシュベルトとの間の隙間を通過する。
【先行技術文献】
【特許文献】
【0003】
特開2016-185622号公報
【発明の概要】
【発明が解決しようとする課題】
【0004】
しかしながら、特許文献1に記載の方法では、中間搬送部にウエブが吸引される際の隙間は狭い方が好ましく、ウエブを引き千切る際の隙間は広い方が好ましいなど、両方の機能を兼ね備えていない。つまり、ウエブを搬送する過程において、適正な隙間でウエブを搬送したいという要望がある。
【課題を解決するための手段】
【0005】
シート製造装置は、繊維を含む材料からシートを製造するシート製造装置であって、前記材料を気流によって堆積させてウエブを形成する堆積部と、前記ウエブを搬送する搬送部と、前記ウエブを加圧することで前記シートを成形する加圧部と、を備え、前記堆積部は、前記材料を攪拌するドラム部材と、前記ドラム部材から放出された前記材料が堆積される堆積ベルトと、前記堆積ベルトを挟んで前記ドラム部材と反対側に設けられ、前記材料が前記堆積ベルトの上に堆積するように吸引を行う第1吸引部と、前記堆積ベルト及び前記第1吸引部が設置された第1フレームと、を備え、前記搬送部は、前記ウエブの一方面と接触して前記ウエブを保持する搬送ベルトと、前記搬送ベルトの上方に設けられ、前記ウエブを吸着させるために吸引を行う第2吸引部と、前記搬送ベルト及び前記第2吸引部が設置された第2フレームと、を備え、前記第1フレームと前記第2フレームとの間に偏心カムが設けられ、前記偏心カムが回転することに応じて、前記第1フレームに対する前記第2フレームの位置が変更される。
【図面の簡単な説明】
【0006】
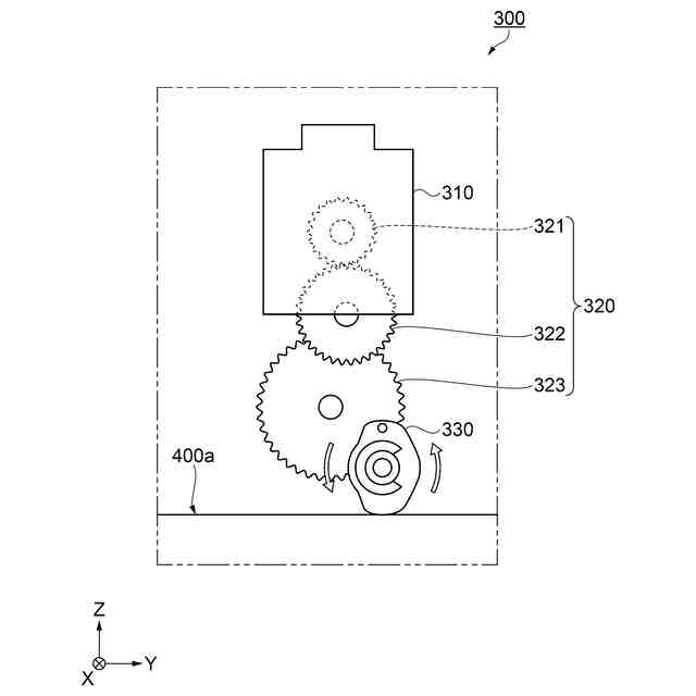
シート製造装置の構成を示す概略図。
第2搬送部の周辺の構成を示す概略図。
図2に示す第2搬送部のA部を拡大して示す概略図。
偏心カムの構成を示す側面図。
偏心カムの回転動作を示す側面図。
偏心カムの回転動作を示す側面図。
偏心カムの回転動作を示す側面図。
偏心カムの回転動作を示す側面図。
偏心カムの回転動作を示す側面図。
動力伝達部の構成を示す斜視図。
第1フレームと第2フレームとの位置関係を示す断面図。
第1フレームと第2フレームとの位置関係を示す断面図。
カム回転機構の検出部の構成を示す斜視図。
カム回転機構の駆動方法を示す断面図。
図10Aに示すカム回転機構の10Bを拡大して示す断面図。
カム回転機構の駆動方法を示す断面図。
図11Aに示すカム回転機構の11Bを拡大して示す断面図。
カム回転機構の駆動方法を示す断面図。
図12Aに示すカム回転機構の12Bを拡大して示す断面図。
カム回転機構の駆動方法を示す断面図。
図13Aに示すカム回転機構の13Bを拡大して示す断面図。
【発明を実施するための形態】
【0007】
以下、図面を参照しながら、シート製造装置1の構成を説明する。以下の各図においては、互いに直交する3つの軸をX軸、Y軸、及びZ軸として説明する。X軸に沿う方向を「X方向」、Y軸に沿う方向を「Y方向」、Z軸に沿う方向を「Z方向」とし、矢印の方向が+方向であり、+方向と反対の方向を-方向とする。なお、+Z方向または-Z方向から見ることを平面視あるいは平面的ともいう。また、シート製造装置1において、原料、ウエブ、及びシートなどの搬送方向の先を下流、搬送方向を遡る側を上流ということもある。
【0008】
まず、図1を参照しながら、シート製造装置1の構成を説明する。
【0009】
シート製造装置1は、繊維を含む材料からシートを製造する。また、シート製造装置1は、乾式にて古紙などの紙片からシートを再生する。なお、シート製造装置1は、乾式であることに限定されず、湿式であってもよい。本明細書において乾式とは、液体中で実施されずに、大気などの空気中で実施されることをいう。
【0010】
図1に示すように、シート製造装置1は、第1ユニット群101、第2ユニット群102、及び第3ユニット群103を備える。第1ユニット群101、第2ユニット群102、及び第3ユニット群103は、図示しないフレームに支持される。なお、図1においては、古紙C、シートP3、スリット片S、及び不要な端材などが移動する方向を白抜きの矢印で示している。
(【0011】以降は省略されています)
この特許をJ-PlatPat(特許庁公式サイト)で参照する
関連特許
東レ株式会社
不織布の製造装置
1か月前
日本エステル株式会社
クッション体
2か月前
グンゼ株式会社
編地及び繊維製品
1か月前
ユニチカ株式会社
化粧料含浸用基布の製造方法
3か月前
モリト株式会社
紐体を用いた連結体
3か月前
大日本印刷株式会社
インテリア用品
14日前
ユニチカ株式会社
機能性不織布の製造方法
14日前
ユニチカトレーディング株式会社
油吸着材用不織布
2か月前
東洋紡エムシー株式会社
農作物保護用生分解性不織布。
1か月前
東レ株式会社
不織布の製造装置および不織布の製造方法
1か月前
株式会社島精機製作所
編地の編成方法、および編地
2か月前
株式会社島精機製作所
編地の編成方法、および編地
3か月前
日本製紙クレシア株式会社
ローション不織布
3か月前
タイガースポリマー株式会社
耐火性不織布およびその製造方法
2日前
セイコーエプソン株式会社
シート製造装置
1か月前
セイコーエプソン株式会社
シート製造装置
1か月前
セイコーエプソン株式会社
シート製造装置
28日前
セイコーエプソン株式会社
シート製造装置
16日前
セイコーエプソン株式会社
シート製造装置
16日前
セイコーエプソン株式会社
シート製造装置
7日前
セイコーエプソン株式会社
シート製造装置
16日前
株式会社ヴィオレッタ
メッシュ経編地及び繊維製品
4か月前
日本製紙クレシア株式会社
複合型不織布
2か月前
大和紡績株式会社
積層不織布、および液体含浸シート
1か月前
花王株式会社
吸収性物品用不織布
1か月前
日本毛織株式会社
編地及び衣類
2か月前
東レ株式会社
不織布およびその製造方法ならびに積層体、衣料、雑貨
2か月前
東レ株式会社
エレクトレットメルトブロー不織布およびその製造方法
2か月前
東洋紡エムシー株式会社
肌への密着性に優れるフェイスマスク用基材
1か月前
東洋紡エムシー株式会社
生分解性不織布、その用途及びその製造方法。
1か月前
帝人フロンティア株式会社
中綿および中綿評価方法および詰め物製品
4か月前
東レ・ファインケミカル株式会社
メルトブロー不織布およびマスク濾材
1か月前
東レ株式会社
スパンボンド不織布およびその製造方法ならびに積層体、表皮材
1か月前
ユニチカ株式会社
ポリエステル系長繊維不織布
1か月前
大和紡績株式会社
編地、その製造方法及び衣料
2か月前
佰龍機械廠股ふん有限公司
編機の状態を即時に指示する丸編機
10日前
続きを見る
他の特許を見る