TOP
|
特許
|
意匠
|
商標
特許ウォッチ
Twitter
他の特許を見る
公開番号
2025181016
公報種別
公開特許公報(A)
公開日
2025-12-11
出願番号
2024088750
出願日
2024-05-31
発明の名称
振動デバイス
出願人
セイコーエプソン株式会社
代理人
個人
,
個人
,
個人
主分類
H03B
5/32 20060101AFI20251204BHJP(基本電子回路)
要約
【課題】接着剤の広がりを容易に制御できる振動デバイスを提供すること。
【解決手段】発熱源となる発熱源回路51を含むICチップ5と、振動素子6と、ICチップ5および振動素子6を収容するベース2と、ICチップ5とベース2との間に配置された接着剤7と、を備え、ベース2は、ICチップ5を収容する凹部2bと、凹部2bの底面としての基板22の上面22fに開口を有する凹部2aと、を有し、接着剤7は、平面視で凹部2a内に配置されている。
【選択図】図2
特許請求の範囲
【請求項1】
発熱源となる発熱源回路を含む半導体集積回路と、
振動素子と、
前記半導体集積回路および前記振動素子を収容する基板と、
前記半導体集積回路と前記基板との間に配置された接着剤と、を備え、
前記基板は、
前記半導体集積回路を収容する第1凹部と、
前記第1凹部の底面に開口を有する第2凹部と、を有し、
前記接着剤は、平面視で前記第2凹部内に配置されている、
振動デバイス。
続きを表示(約 460 文字)
【請求項2】
前記基板は、前記第1凹部の底面に配置された電極を備え、
前記半導体集積回路は、前記電極に接合部材を介して電気的に接続されている、
請求項1に記載の振動デバイス。
【請求項3】
平面視で、前記半導体集積回路と前記第2凹部の開口とが重なる領域の面積は、
前記半導体集積回路の前記第2凹部側の面の面積の20%以上60%以下である、
請求項1に記載の振動デバイス。
【請求項4】
前記第2凹部の開口は、平面視で、前記半導体集積回路の外縁よりも外側に配置された部分を有する、
請求項1に記載の振動デバイス。
【請求項5】
平面視で、前記第2凹部は、少なくとも前記発熱源回路と重なっている、
請求項1に記載の振動デバイス。
【請求項6】
前記基板は、底面に、前記第1凹部の開口と前記振動素子を搭載する搭載部とを有する第3凹部を有する、
請求項1乃至5のいずれか一項に記載の振動デバイス。
発明の詳細な説明
【技術分野】
【0001】
本発明は、振動デバイスに関する。
続きを表示(約 1,800 文字)
【背景技術】
【0002】
特許文献1には、ICチップと圧電振動子とをパッケージに内蔵した圧電デバイスが記載されている。特許文献1において、ICチップは、パッケージを構成するベースに、樹脂接着剤によって接合される。また、ICチップがチップマウントされる前に、ベースに塗布される樹脂接着剤の塗布量は、ICチップの表面積の1/4から1/3程度が好ましいことが記載されている。
【先行技術文献】
【特許文献】
【0003】
特開2001-267363号公報
【発明の概要】
【発明が解決しようとする課題】
【0004】
特許文献1に記載のものでは、ICチップをチップマウントした際に、樹脂接着剤が、過度に広がる虞があった。例えば、過度に広がった樹脂接着剤がICチップのバンプと接触した場合、ICチップの発熱や実装時のリフロー時の熱等に起因する熱応力によって、バンプ部分に破断等の不具合が生じる虞がある。
【課題を解決するための手段】
【0005】
本願の一態様に係る振動デバイスは、発熱源となる発熱源回路を含む半導体集積回路と、振動素子と、前記半導体集積回路および前記振動素子を収容する基板と、前記半導体集積回路と前記基板との間に配置された接着剤と、を備え、前記基板は、前記半導体集積回路を収容する第1凹部と、前記第1凹部の底面に開口を有する第2凹部と、を有し、前記接着剤は、平面視で前記第2凹部内に配置されている。
【図面の簡単な説明】
【0006】
実施形態1に係る振動デバイスの平面図。
図1のII-II線に沿う振動デバイスの断面図。
図1のIII-III線に沿う振動デバイスの断面図。
熱抵抗削減効果を示すグラフ。
実施形態2に係る振動デバイスの平面図。
図5のVII-VII線に沿う振動デバイスの断面図。
実施形態3に係る振動デバイスの平面図。
図7のVIII-VIII線に沿う振動デバイスの断面図。
【発明を実施するための形態】
【0007】
以下、本発明の実施形態を、図面を参照して説明する。
なお、以下の各図面においては各構成要素を見やすくするため、構成要素によって寸法の縮尺を異ならせて示すことがある。
また、以下では、説明の便宜上、互いに直交する3つの軸をX軸、Y軸およびZ軸とし、X軸に平行な方向を「X軸方向」、Y軸に平行な方向を「Y軸方向」、Z軸に平行な方向を「Z軸方向」とも言う。また、各軸の矢印方向先端側を「プラス側」とも言い、反対側を「マイナス側」とも言う。
また、以下では、Z軸方向に見ることを「平面視」とする。
さらに、以下の説明において、「上面」との記載は、Z軸方向プラス側の面を表すものとし、「下面」との記載は、Z軸方向マイナス側の面を表すものとする。
【0008】
1.実施形態1
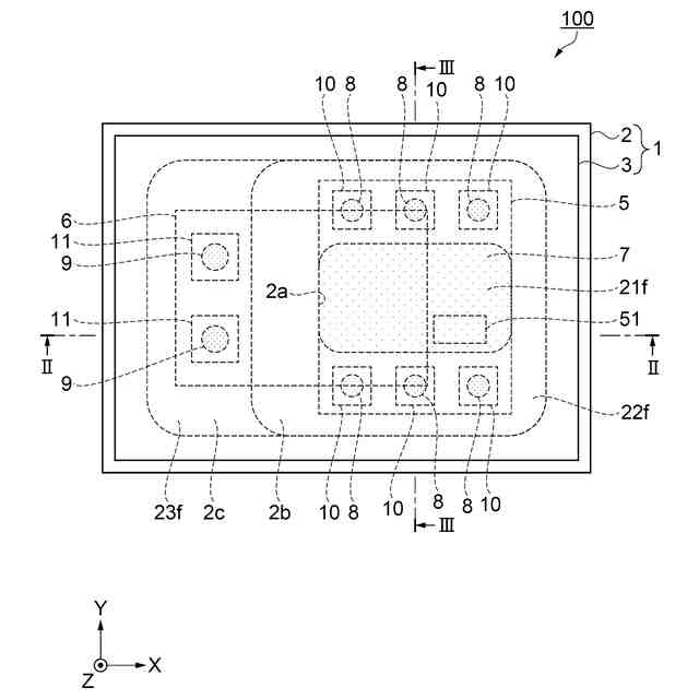
図1は、実施形態1の振動デバイス100の平面図であり、内部の構成を破線で示している。図2は、図1のII-II線に沿う振動デバイス100の断面図である。図3は、図1のIII-III線に沿う振動デバイス100の断面図である。図4は、本実施形態による熱抵抗削減効果を示すグラフである。
【0009】
振動デバイス100は、ICチップ5と振動素子6とを1つのパッケージ1に収容した発振器である。振動デバイス100は、クォーツ時計、通信機器、コンピューター、表示装置、印刷装置、産業用ロボット、自動車、航空機等の電子機器に搭載され、タイミング制御や周波数制御等に用いられる。
【0010】
ICチップ5は、振動素子6を用いてクロック基準信号を生成して出力する。ICチップ5は、発熱源回路51を有する。発熱源回路51は、例えば、電源回路およびまたはPLL(Phase Locked Loop)回路である。ICチップ5は、その他に、発振回路、記憶回路、温度センサー、温度補償回路、インターフェイス回路等を有する。本実施形態において、ICチップ5は、半導体集積回路の一例である。
(【0011】以降は省略されています)
この特許をJ-PlatPat(特許庁公式サイト)で参照する
関連特許
株式会社蜂鳥
増幅器
16日前
日本電波工業株式会社
水晶振動子
1か月前
株式会社大真空
圧電振動デバイス
3日前
三菱電機株式会社
半導体装置
1日前
富士電機株式会社
半導体装置
15日前
京セラ株式会社
差動信号フィルタデバイス
22日前
京セラ株式会社
差動信号フィルタデバイス
22日前
台灣晶技股ふん有限公司
水晶発振器
1か月前
京セラ株式会社
弾性波共振子および通信装置
2日前
台灣晶技股ふん有限公司
水晶発振素子
1か月前
株式会社村田製作所
弾性波装置
15日前
住友電気工業株式会社
歪補償装置
9日前
国立大学法人東北大学
弾性表面波デバイス
1か月前
株式会社村田製作所
高周波電力増幅器
14日前
株式会社村田製作所
高周波電力増幅器
14日前
日本電波工業株式会社
温度センサ内蔵型の水晶振動子
1か月前
三安ジャパンテクノロジー株式会社
弾性波デバイス
1日前
三安ジャパンテクノロジー株式会社
弾性波デバイス
1日前
三安ジャパンテクノロジー株式会社
弾性波デバイス
1か月前
ローム株式会社
信号伝達装置
1か月前
株式会社デンソー
差動リングオシレータ
22日前
台灣晶技股ふん有限公司
共振装置
28日前
セイコーエプソン株式会社
振動デバイス
1日前
セイコーエプソン株式会社
振動デバイス
1か月前
株式会社村田製作所
フィルタ装置
1か月前
三安ジャパンテクノロジー株式会社
弾性波デバイス
1日前
三安ジャパンテクノロジー株式会社
弾性波デバイス
1日前
三安ジャパンテクノロジー株式会社
弾性波デバイス
1か月前
株式会社村田製作所
電力増幅回路
1か月前
株式会社村田製作所
90度カプラ
1日前
株式会社大真空
圧電振動デバイスおよび圧電振動デバイス製造方法
1日前
日清紡マイクロデバイス株式会社
D級増幅回路
7日前
ローム株式会社
逐次比較型AD変換回路
22日前
株式会社村田製作所
ドハティ増幅回路
3日前
株式会社村田製作所
弾性波共振子および弾性波フィルタ装置
1日前
Astemo株式会社
車載電力分配装置
14日前
続きを見る
他の特許を見る