TOP
|
特許
|
意匠
|
商標
特許ウォッチ
Twitter
他の特許を見る
10個以上の画像は省略されています。
公開番号
2025179954
公報種別
公開特許公報(A)
公開日
2025-12-11
出願番号
2024086933
出願日
2024-05-29
発明の名称
通知装置及び通知方法
出願人
セイコーエプソン株式会社
代理人
個人
,
個人
,
個人
,
個人
主分類
B60W
20/50 20160101AFI20251204BHJP(車両一般)
要約
【課題】ユーザーが所定のユニットの状態を客観的に認識することが可能な通知情報を出力する通知装置を提供すること。
【解決手段】第1モーターシャフト、第1ローター、及び第1ステーターを含む第1モーターと、変速機と、を含む第1ユニットの振動によって生じた物理量が計測された第1計測データから抽出された第1特徴量に基づいて生成された前記第1ユニットの状態に係る情報を含む通知情報を出力する、通知装置。
【選択図】図9
特許請求の範囲
【請求項1】
第1モーターシャフト、第1ローター、及び第1ステーターを含む第1モーターと、
変速機と、
を含む第1ユニットの振動によって生じた物理量が計測された第1計測データから抽出された第1特徴量に基づいて生成された前記第1ユニットの状態に係る情報を含む通知情報を出力する、通知装置。
続きを表示(約 870 文字)
【請求項2】
請求項1において、
前記第1ユニットは、内燃機関を含む、通知装置。
【請求項3】
請求項2において、
前記第1ユニットは、前記内燃機関に接続され、第2モーターシャフト、第2ローター、及び第2ステーターを含む第2モーターを含み、前記第1モーターは、前記第2モーターによって発生した電力が供給される、通知装置。
【請求項4】
請求項3において、
前記第1ユニットは
前記内燃機関の出力軸と、
前記第1モーターシャフトと、
前記第2モーターシャフトと、
が接続されている動力分割機構を含む、通知装置。
【請求項5】
請求項4において、
前記通知情報は、
第3モーターシャフト、第3ローター、及び第3ステーターを含む第3モーター
を含む第2ユニットの振動によって生じた物理量が計測された第2計測データから抽出された第2特徴量に基づいて生成された前記第2ユニットの状態に係る情報を含む、通知装置。
【請求項6】
請求項1乃至5の何れか一項において、
前記通知情報は、前記第1ユニットの異常の有無を判断するための閾値を含む、通知装置。
【請求項7】
請求項1乃至5の何れか一項において、
前記通知情報は、画像情報を含み、
前記画像情報は、前記第1ユニットの状態に係るオブジェクトを含む、通知装置。
【請求項8】
請求項7において、
前記オブジェクトは、前記第1ユニットに含まれる複数の部品の状態を示すレーダーチャートである、通知装置。
【請求項9】
請求項1乃至5の何れか一項において、
前記通知情報は、音情報を含む、通知装置。
【請求項10】
請求項1乃至5の何れか一項において、
前記通知情報は、振動部を振動させる情報を含む、通知装置。
(【請求項11】以降は省略されています)
発明の詳細な説明
【技術分野】
【0001】
本発明は、通知装置及び通知方法に関する。
続きを表示(約 2,900 文字)
【背景技術】
【0002】
近年、内燃機関(エンジン)を駆動源としたパワーユニットを搭載している自動車の他に、内燃機関(エンジン)と発電電動機(モーター)の2種の駆動源を有するパワーユニットを搭載しているハイブリッド自動車や駆動源として発電電動機(モーター)の1種を有するパワーユニットを搭載している電気自動車が実用化されている。
特許文献1には、電気自動車の駆動源から駆動輪までの駆動系に、摩擦締結要素とベルト式無段変速機とを搭載する車両の制御方法について記載されている。特許文献1に記載の制御方法によれば、ベルト式無段変速機を最ロー変速比に固定すると、プライマリプーリに対しプーリベルトが最小の接触半径で巻き付いたままとなってベルト滑りが生じ易く、プーリベルトの劣化が促進される、という問題に対して、発進時、駆動力要求値が低い領域での運転性能を確保しつつ、ベルト式無段変速機のベルト耐久性向上を図ることができる。
【0003】
また、特許文献2には、ハイブリッド自動車において、エンジンを回転停止させる際には、エンジンの回転数が所定回転数以下に至るまでは、エンジンの回転数を低下させる方向の第1トルクが第1モーターから出力されるように第1モーターを制御し、エンジンの回転数が所定回転数以下に至った後は、第1トルクとは反対方向で且つ第1トルクよりも絶対値の小さい第2トルクが第1モーターから出力されるように第1モーターを制御することにより、第1スプラインと第2スプラインとの間で生じる異音を低減する制御方法が記載されている。
【先行技術文献】
【特許文献】
【0004】
国際公開第2018/078789号
特開2017-124792号公報
【発明の概要】
【発明が解決しようとする課題】
【0005】
パワーユニットからの異音には、走行状態に影響を与えない振動によるものに限らず、例えば、自動車の車輪が受ける外乱や負荷による軸心の芯ずれや捩れ等に起因した、パワーユニットの劣化や故障につながる振動によるものも存在する。しかしながら、このような振動を検知し、警告等を発する振動解析技術が十分に確立されていなかった。
【課題を解決するための手段】
【0006】
本発明に係る通知装置の一態様は、
第1モーターシャフト、第1ローター、及び第1ステーターを含む第1モーターと、
変速機と、
を含む第1ユニットの振動によって生じた物理量が計測された第1計測データから抽出された第1特徴量に基づいて生成された前記第1ユニットの状態に係る情報を含む通知情報を出力する。
【0007】
本発明に係る通知方法の一態様は、
第1モーターシャフト、第1ローター、及び第1ステーターを含む第1モーターと、
変速機と、
を含む第1ユニットの振動によって生じた物理量が計測された第1計測データから抽出された第1特徴量に基づいて生成された前記第1ユニットの状態に係る情報を含む通知情報を出力する工程を含む。
【図面の簡単な説明】
【0008】
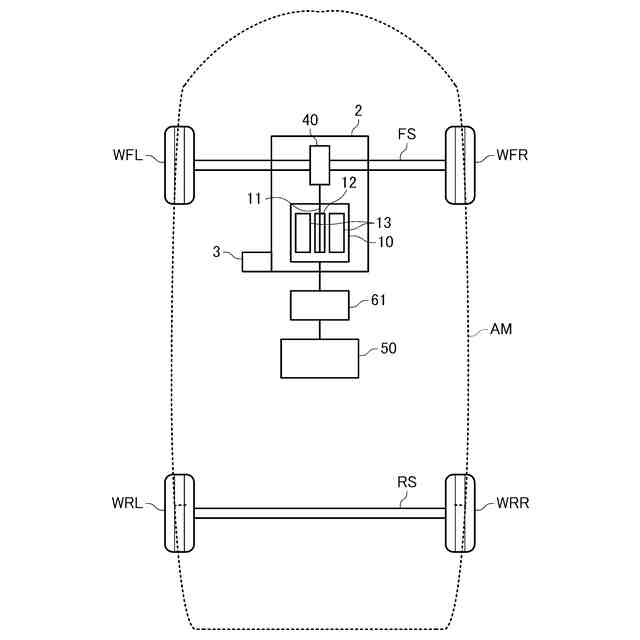
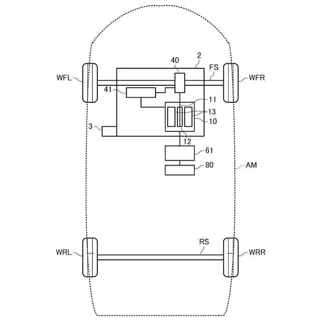
通知装置の概要についての説明図。
自動車のパワーユニットを含む駆動系の構成例を示す図。
自動車のパワーユニットを含む駆動系の構成例を示す図。
自動車のパワーユニットを含む駆動系の構成例を示す図。
自動車のパワーユニットを含む駆動系の構成例を示す図。
自動車のパワーユニットを含む駆動系の構成例を示す図。
自動車のパワーユニットを含む駆動系の構成例を示す図。
自動車のパワーユニットを含む駆動系の構成例を示す図。
通知装置の構成例を示す図。
特徴量抽出回路の構成例を示す図。
劣化が進んだプラネタリーギヤを低速回転させて取得した計測データを示す図。
図11のデータに対して計算した振幅スペクトル密度を示す図。
図11のデータに対して計算したRMS、P2P及びクレストファクターを示す図。
劣化が進んだプラネタリーギヤを高速回転させて取得した計測データを示す図。
図14のデータに対して計算した振幅スペクトル密度を示す図。
図14のデータに対して計算したRMS、P2P及びクレストファクターを示す図。
新品のプラネタリーギヤを低速回転させて取得した計測データを示す図。
図17のデータに対して計算した振幅スペクトル密度を示す図。
図17のデータに対して計算したRMS、P2P及びクレストファクターを示す図。
新品のプラネタリーギヤを高速回転させて取得した計測データを示す図。
図20のデータに対して計算した振幅スペクトル密度を示す図。
図20のデータに対して計算したRMS、P2P及びクレストファクターを示す図。
第1特徴量に対して主成分解析を行ってプロットした図。
ヘルスインジケーターをプロットした図。
通知情報として表示部に表示される画像情報の例を示す図。
通知情報として表示部に表示される画像情報の例を示す図。
通知情報として表示部に表示される画像情報の例を示す図。
通知情報として表示部に表示される画像情報の例を示す図。
通知情報として表示部に表示される画像情報の例を示す図。
通知情報として表示部に表示される画像情報の例を示す図。
通知情報として表示部に表示される画像情報の例を示す図。
本実施形態の通知方法の手順を示すフローチャート図。
【発明を実施するための形態】
【0009】
以下、本発明の好適な実施形態について図面を用いて詳細に説明する。なお、以下に説明する実施の形態は、特許請求の範囲に記載された本発明の内容を不当に限定するものではない。また以下で説明される構成の全てが本発明の必須構成要件であるとは限らない。
【0010】
1.通知装置の概要
図1は、本実施形態の通知装置の概要について説明するための図である。図1に示すように、本実施形態の通知装置1は、第1ユニット2に取り付けられた第1センサー3が計測した第1計測データを取得する。第1センサー3は、第1ユニット2の振動によって生じた物理量を計測し、計測した物理量に応じた第1計測データを出力する。第1センサー3が計測する物理量は、例えば、加速度、角速度、速度、変位、圧力、電流、電圧等であってもよい。第1計測データはアナログ信号であってもよいし、デジタル信号であってもよい。そして、通知装置1は、第1センサー3によって第1ユニット2に対して計測された第1計測データから第1特徴量を抽出し、抽出した第1特徴量に基づいて、第1ユニット2の状態に係る情報を生成し、第1ユニット2の状態に係る情報を含む通知情報を出力する。
(【0011】以降は省略されています)
この特許をJ-PlatPat(特許庁公式サイト)で参照する
関連特許
個人
タイヤレバー
4か月前
個人
前輪キャスター
3か月前
個人
上部一体型自動車
2か月前
個人
タイヤ脱落防止構造
3か月前
個人
ルーフ付きトライク
4か月前
個人
空間形成装置
1か月前
日本精機株式会社
表示装置
3か月前
個人
マスタシリンダ
2か月前
日本精機株式会社
照明装置
1か月前
日本精機株式会社
表示装置
4か月前
日本精機株式会社
表示装置
4か月前
個人
車両通過構造物
4か月前
日本精機株式会社
表示装置
4か月前
個人
常設収納型サンバイザー
1か月前
株式会社ニフコ
照明装置
3か月前
日本精機株式会社
車載表示装置
2か月前
日本精機株式会社
画像投映装置
2か月前
株式会社豊田自動織機
産業車両
1か月前
株式会社ニフコ
収納装置
3か月前
個人
回転窓ワイパー装置
1か月前
日本精機株式会社
車載表示装置
1か月前
日本精機株式会社
車載表示装置
1か月前
日本精機株式会社
車室演出装置
3か月前
日本精機株式会社
車載表示装置
1か月前
株式会社豊田自動織機
産業車両
4か月前
個人
聴覚と触覚を利用する速度計
7日前
日本精機株式会社
車両用投射装置
2か月前
日本精機株式会社
車両用表示装置
4か月前
個人
音による速度計とプログラム
1か月前
日本精機株式会社
車両用報知装置
1か月前
日本精機株式会社
車両用表示装置
2か月前
株式会社SUBARU
車両
2か月前
日本精機株式会社
車両用投影装置
2か月前
極東開発工業株式会社
車両
4か月前
日本精機株式会社
車両用表示装置
2日前
井関農機株式会社
作業車両
2か月前
続きを見る
他の特許を見る