TOP
|
特許
|
意匠
|
商標
特許ウォッチ
Twitter
他の特許を見る
10個以上の画像は省略されています。
公開番号
2025179848
公報種別
公開特許公報(A)
公開日
2025-12-10
出願番号
2025152973,2024548558
出願日
2025-09-16,2023-02-16
発明の名称
コンデンサ、コンデンサの製造方法、およびコンデンサの使用
出願人
テーデーカー エレクトロニクス アーゲー
代理人
弁理士法人ITOH
主分類
H01G
2/08 20060101AFI20251203BHJP(基本的電気素子)
要約
【課題】小型大容量で、表面実装可能な巻回型コンデンサ、その製造方法及びコンデンサの特定の使用シナリオを提供する。
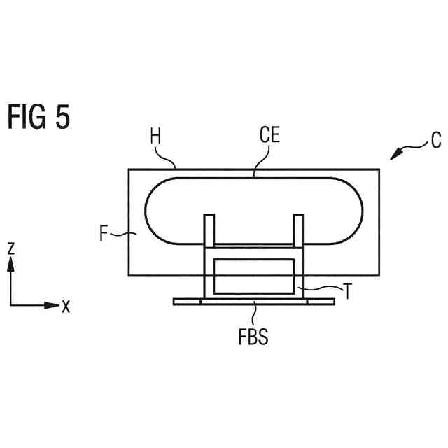
【解決手段】コンデンサCは、巻回型であり、リードフレーム状の表面実装用端子T1、T2には平坦な底側FBSを有する。キャパシタンス素子CEの下方に配置されるヒートシンクHSNおよび/またはキャパシタンス素子と端子の接続側との間に配置される熱シールドHSHがあり、コンパクトなフォームファクタで高容量を提供するように表面実装可能である。素子が配置されるハウジングHには樹脂が充填される。
【選択図】図4
特許請求の範囲
【請求項1】
第1の電極と、第2の電極と、前記第1の電極および前記第2の電極の間の配置される誘電体と、
前記第1の電極に電気的に接続される第1の端子と、
前記第2の電極に電気的に接続される第2の端子と、を含む、
コンデンサであって、
前記第1の電極のための材料、前記第2の電極のための材料、および前記誘電体のための材料は、巻回型のキャパシタンス素子を構築し、
前記第1の端子および前記第2の端子は、表面実装端子であり、
当該コンデンサは、前記キャパシタンス素子の下方に配置されるヒートシンク、および/または前記キャパシタンス素子と前記第1及び第2の端子の接続側との間に配置されるヒートシンクを更に含む、
コンデンサ。
続きを表示(約 720 文字)
【請求項2】
1.0μFよりも大きい容量を有する、請求項1に記載のコンデンサ。
【請求項3】
前記第1の端子および前記第2の端子は、鋼、銅、真鍮、アルミニウム、スズまたはスズ合金を有するコーティングから選択される材料を含む、請求項1に記載のコンデンサ。
【請求項4】
前記誘電体のための前記材料は、PET(ポリエチレンテレフタレート)、PEN(ポリエチレンナフタレート)、PPS(ポリプロピレンスルフィド)、PTFE(ポリテトラフルオロエチレン)、PS(ポリスチレン)、PC(ポリカーボネート)およびPET HTから選択される、請求項1に記載のコンデンサ。
【請求項5】
前記キャパシタンス素子の下方に配置される熱シールドをさらに含む、請求項1に記載のコンデンサ。
【請求項6】
前記第1の端子および前記第2の端子は、垂直方向において1mmより大きい長さを有する、請求項1に記載のコンデンサ。
【請求項7】
前記巻回型のキャパシタンス素子が配置されるハウジングを含む、請求項1に記載のコンデンサ。
【請求項8】
前記ハウジングは、内壁および外壁を含み、前記内壁および前記外壁は、ギャップによって分離される、請求項7に記載のコンデンサ。
【請求項9】
前記ギャップは、空気または別の断熱材料で充填される、請求項8に記載のコンデンサ。
【請求項10】
前記キャパシタンス素子が充填材中に配置されるように前記ハウジング内に充填材をさらに含む、請求項7に記載のコンデンサ。
(【請求項11】以降は省略されています)
発明の詳細な説明
【技術分野】
【0001】
(技術分野)
本出願は、改良された特性を持つコンデンサ、コンデンサの製造方法、およびコンデンサの特定の使用シナリオに言及する。
続きを表示(約 1,700 文字)
【背景技術】
【0002】
EMI減少回路(EMI=電磁干渉)は、ACまたはDC電気波形を持つそのような目的のためにEMIコンデンサを使用する。EMIコンデンサは、入力と出力との間に接続されて、入力または出力時にシステムに向かうEMIを低減する。DCリンクコンデンサは、例えば、車両のスイッチングデバイスを、そのDC電気環境、例えば、バッテリに電気的に接続する。電力コンバータは、望ましくない周波数が避されるべき周波数範囲において高電力レベルで動作するインバータを含むことができる。
【0003】
コンデンサは、それらの構造に従って2つのカテゴリに分けられることができる。コンデンサは、導電層および誘電体層が互いに積み重ねられた層スタックを含むことができる。コンデンサの別のカテゴリは、電極の材料および誘電体材料が巻かれる2つの電極間の誘電体材料を含む。
【0004】
コンデンサについて、一般に、コンデンサは、大きな容量、小さな空間寸法を有し、高電圧用途および大電力用途に適合し、良好な性能および良好な信頼性を提供することが好ましい。
【0005】
さらに、コンデンサは、外部回路環境へのそれらの集積化に従ったカテゴリに分けられることができる。コンデンサは、THT(貫通穴技術(through hole technology))のために設けられる端子を含むことができ、THTでは、コンデンサの端子が穴内に配置され、外部回路環境にはんだ付けされる。接続の別のカテゴリは、SMT(表面実装技術(surface mount technology))を介して得られ、SMTでは、電気コンポーネントの端子がキャリア上に配置され、キャリア表面上の外部回路環境の接点に電気的および機械的に接続される。よって、外部回路環境に表面実装可能であることができる上述の利点を提供するコンパクトなコンデンサを有することが望まれている。特に、大きなキャパシタンスを持つコンパクトなSMT適合コンデンサを有することが好ましい。
【発明の概要】
【0006】
この目的のために、独立請求項1に記載のコンデンサが提供される。従属請求項は、好ましい実施形態、方法および用途を提供する。
【0007】
コンデンサは、第1の電極、第2の電極、および誘電体材料を含む。誘電体材料は、第1の電極と第2の電極との間に配置される。さらに、コンデンサは、第1の端子および第2の端子を含む。第1の端子は、第1の電極に電気的に接続され、第2の端子は、第2の電極に電気的に接続される。第1の電極材料、第2の電極材料、および誘電体材料は、巻回型キャパシタンス素子を構築する。第1の端子及び第2の端子は、表面実装可能端子である。
【0008】
よって、そのようなコンデンサは、巻回型コンデンサ(wound-type capacitors)のカテゴリおよびSMT適合コンデンサ(SMT-compatible capacitors)のカテゴリに属する。
【0009】
コンデンサがリフロー要件に適合することが可能である。具体的には、コンデンサがリフロープロセスの所要温度及び持続時間に十分に影響されないことが可能である。
【0010】
リフロープロセスにおいて、SMTコンポーネントは、それらの対応する端子がキャリアの接続パッド上に電気的および機械的に接続された状態で配置される。その目的を達成するために、コンポーネント全体は、例えば、リフローオーブンにおいて、端子とキャリアの接続パッドとの間の信頼性のある電気的および機械的接触が構築されるような温度まで、端子とキャリアの接続パッドとの間の信頼性のある電気的および機械的接触が構築されるような持続時間に亘って加熱される。はんだ付けのために高温が端子の場所で必要なだけであるTHT接続とは対照的に、対応する高温は、電気コンポーネントに全体として加えられる。従って、全ての要素及び材料は、リフロー要件に適合しなければならない。
(【0011】以降は省略されています)
この特許をJ-PlatPat(特許庁公式サイト)で参照する
関連特許
個人
三重コイル変圧器
1日前
日機装株式会社
加圧装置
6日前
ローム株式会社
半導体装置
今日
日新イオン機器株式会社
イオン源
6日前
ローム株式会社
半導体装置
1日前
富士電機株式会社
電磁接触器
21日前
株式会社GSユアサ
蓄電装置
21日前
株式会社GSユアサ
蓄電装置
1か月前
三菱電機株式会社
回路遮断器
29日前
大電株式会社
電線又はケーブル
13日前
株式会社東芝
電子源
6日前
ホシデン株式会社
複合コネクタ
15日前
トヨタ自動車株式会社
蓄電装置
13日前
日本特殊陶業株式会社
保持装置
1か月前
株式会社トクミ
ケーブル
7日前
株式会社ヨコオ
コネクタ
今日
個人
電源ボックス及び電子機器
6日前
日本特殊陶業株式会社
保持装置
1日前
矢崎総業株式会社
コネクタ
21日前
ローム株式会社
半導体装置
今日
ヒロセ電機株式会社
電気コネクタ
21日前
住友電装株式会社
コネクタ
1日前
住友電装株式会社
コネクタ
21日前
株式会社レゾナック
冷却器
29日前
矢崎総業株式会社
バスバー
2日前
ローム株式会社
半導体モジュール
22日前
日本特殊陶業株式会社
アンテナ装置
8日前
日本特殊陶業株式会社
アンテナ装置
8日前
日本航空電子工業株式会社
コネクタ
6日前
株式会社デンソー
半導体装置
21日前
株式会社半導体エネルギー研究所
二次電池
今日
日本特殊陶業株式会社
アンテナ装置
8日前
株式会社パロマ
監視システム
13日前
矢崎総業株式会社
端子
13日前
トヨタ自動車株式会社
蓄電装置構造
7日前
三菱電機株式会社
半導体装置
6日前
続きを見る
他の特許を見る