TOP
|
特許
|
意匠
|
商標
特許ウォッチ
Twitter
他の特許を見る
公開番号
2025179844
公報種別
公開特許公報(A)
公開日
2025-12-10
出願番号
2025134133,2025520956
出願日
2025-08-12,2025-02-20
発明の名称
クーポン提供装置、クーポン提供方法及びクーポン提供システム
出願人
株式会社ワールドスキャンプロジェクト
代理人
弁理士法人創光国際特許事務所
主分類
G06Q
30/0207 20230101AFI20251203BHJP(計算;計数)
要約
【課題】ユーザがデジタルトークンを取得するように動機づけられやすくする。
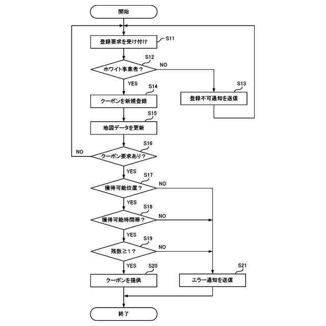
【解決手段】クーポン提供装置1は、デジタルクーポンと、デジタルクーポンをユーザが獲得可能な位置である獲得可能位置と、を関連付けて記憶する記憶部12と、獲得可能位置が示された地図データを作成し、ユーザが使用する情報端末3に地図データを提供する地図データ提供部132と、情報端末3から獲得した位置情報が示す情報端末3の位置が獲得可能位置から所定範囲内の情報端末3から所定データを受信したことを条件として、獲得可能位置に関連付けて記憶部12に記憶されたデジタルクーポンを情報端末3に提供するクーポン提供部133と、を有する。
【選択図】図4
特許請求の範囲
【請求項1】
デジタルクーポンと、前記デジタルクーポンをユーザが獲得可能な位置である獲得可能位置と、を関連付けて記憶する記憶部と、
前記獲得可能位置が示された地図データを作成し、前記ユーザが使用する情報端末に前記地図データを提供する地図データ提供部と、
前記情報端末から獲得した位置情報が示す前記情報端末の位置が前記獲得可能位置から所定範囲内の前記情報端末から所定データを受信したことを条件として、前記獲得可能位置に関連付けて前記記憶部に記憶された前記デジタルクーポンを前記情報端末に提供するクーポン提供部と、
を有するクーポン提供装置。
続きを表示(約 1,600 文字)
【請求項2】
前記記憶部は、前記デジタルクーポンに関連付けてクーポン獲得用データを記憶し、
前記クーポン提供部は、前記獲得可能位置に設けられた前記クーポン獲得用データを含むコード情報を読み取った前記情報端末から前記クーポン獲得用データを受信した場合に前記デジタルクーポンを前記情報端末に提供する、
請求項1に記載のクーポン提供装置。
【請求項3】
前記地図データ提供部は、前記情報端末から前記デジタルクーポンが提供される場所を検索する操作を受け付けた場合に、前記位置情報が示す位置から前記ユーザが最も早く到達できる前記獲得可能位置を含むエリアを示す前記地図データを前記情報端末に提供する、
請求項1に記載のクーポン提供装置。
【請求項4】
前記地図データ提供部は、前記情報端末から指定された移動手段に基づいて、前記位置情報が示す位置に前記ユーザが最も早く到達できる前記獲得可能位置を推定する、
請求項3に記載のクーポン提供装置。
【請求項5】
前記地図データ提供部は、前記位置情報が示す位置から、前記ユーザが最も早く到達できる前記獲得可能位置までの経路を示す前記地図データを前記情報端末に提供する、
請求項3に記載のクーポン提供装置。
【請求項6】
前記地図データ提供部は、前記情報端末から前記デジタルクーポンが提供される場所を検索する操作を受け付けた場合に、前記位置情報が示す位置から所定の範囲内で、所定数以上の前記獲得可能位置が含まれるエリアを示す前記地図データを前記情報端末に提供する、
請求項1に記載のクーポン提供装置。
【請求項7】
前記記憶部は前記ユーザに関連付けて前記ユーザの属性を記憶し、前記デジタルクーポンに関連付けて前記デジタルクーポンを使用できる店舗の属性を記憶し、
前記地図データ提供部は、前記情報端末から前記デジタルクーポンが提供される場所を検索する操作を受け付けた場合に、前記情報端末に対応する前記ユーザの属性と所定の関係を有する前記店舗の属性に関連付けられた前記デジタルクーポンに対応する前記獲得可能位置が含まれるエリアを示す前記地図データを前記情報端末に提供する、
請求項1に記載のクーポン提供装置。
【請求項8】
前記記憶部は、前記デジタルクーポンに関連付けて、前記デジタルクーポンを獲得可能な日時又は曜日を記憶し、
前記地図データ提供部は、前記デジタルクーポンに関連付けられた日時又は曜日に、前記獲得可能位置を含むエリアを示す前記地図データを前記情報端末に提供する、
請求項1に記載のクーポン提供装置。
【請求項9】
前記記憶部は、前記デジタルクーポンを発行できる登録事業者をさらに記憶し、
前記クーポン提供装置は、前記登録事業者から前記デジタルクーポンと前記獲得可能位置とを受け付けた場合に、前記登録事業者と、前記デジタルクーポンと、前記獲得可能位置と、を関連付けて前記記憶部に記憶させるクーポン登録部をさらに有する、
請求項1に記載のクーポン提供装置。
【請求項10】
前記記憶部は、前記デジタルクーポンを発行できる登録事業者をさらに記憶し、
前記クーポン提供装置は、前記デジタルクーポンが使用されたことを示す使用実績データを取得する実績データ取得部と、
前記登録事業者からの要求に応じて、前記登録事業者に関連付けられた前記デジタルクーポンの前記使用実績データを前記登録事業者に提供する実績データ提供部と、
をさらに有する、
請求項1に記載のクーポン提供装置。
(【請求項11】以降は省略されています)
発明の詳細な説明
【技術分野】
【0001】
本発明は、デジタルクーポンを提供するためのクーポン提供装置、クーポン提供方法及びクーポン提供システムに関する。
続きを表示(約 1,100 文字)
【背景技術】
【0002】
従来、デジタルトークンを提供するシステムが知られている。特許文献1には、ユーザが所定の位置にいる場合にデジタルトークンを提供するシステムが開示されている。
【先行技術文献】
【特許文献】
【0003】
特許第7204272号公報
【発明の概要】
【発明が解決しようとする課題】
【0004】
従来のシステムでは、どこに行けばデジタルトークンの提供を受けられるかをユーザが把握できなかったので、ユーザがデジタルトークンを取得するように動機づけられにくかった。
【0005】
そこで、本発明はこれらの点に鑑みてなされたものであり、ユーザがデジタルトークンを取得するように動機づけられやすくすることを目的とする。
【課題を解決するための手段】
【0006】
本発明の第1の態様のクーポン提供装置は、デジタルクーポンと、前記デジタルクーポンをユーザが獲得可能な位置である獲得可能位置と、を関連付けて記憶する記憶部と、前記獲得可能位置が示された地図データを作成し、前記ユーザが使用する情報端末に前記地図データを提供する地図データ提供部と、前記情報端末から獲得した位置情報が示す前記情報端末の位置が前記獲得可能位置から所定範囲内の前記情報端末から所定データを受信したことを条件として、前記獲得可能位置に関連付けて前記記憶部に記憶された前記デジタルクーポンを前記情報端末に提供するクーポン提供部と、を有する。
【0007】
前記記憶部は、前記デジタルクーポンに関連付けてクーポン獲得用データを記憶し、前記クーポン提供部は、前記獲得可能位置に設けられた前記クーポン獲得用データを含むコード情報を読み取った前記情報端末から前記クーポン獲得用データを受信した場合に前記デジタルクーポンを前記情報端末に提供してもよい。
【0008】
前記地図データ提供部は、前記情報端末から前記デジタルクーポンが提供される場所を検索する操作を受け付けた場合に、前記位置情報が示す位置から前記ユーザが最も早く到達できる前記獲得可能位置を含むエリアを示す前記地図データを前記情報端末に提供してもよい。
【0009】
前記地図データ提供部は、前記情報端末から指定された移動手段に基づいて、前記位置情報が示す位置に前記ユーザが最も早く到達できる前記獲得可能位置を推定してもよい。
【0010】
前記地図データ提供部は、前記位置情報が示す位置から、前記ユーザが最も早く到達できる前記獲得可能位置までの経路を示す前記地図データを前記情報端末に提供してもよい。
(【0011】以降は省略されています)
この特許をJ-PlatPat(特許庁公式サイト)で参照する
関連特許
個人
詐欺保険
1か月前
個人
縁伊達ポイン
1か月前
個人
5掛けポイント
1か月前
個人
RFタグシート
1か月前
個人
職業自動販売機
26日前
個人
QRコードの彩色
2か月前
個人
地球保全システム
2か月前
個人
ペルソナ認証方式
1か月前
個人
自動調理装置
1か月前
個人
情報処理装置
1か月前
個人
立体グラフの利用方法
5日前
個人
残土処理システム
2か月前
個人
農作物用途分配システム
1か月前
個人
データ復元システム
今日
個人
知的財産出願支援システム
2か月前
個人
サービス情報提供システム
28日前
NISSHA株式会社
入力装置
6日前
個人
インターネットの利用構造
1か月前
個人
タッチパネル操作指代替具
1か月前
個人
携帯端末障害問合せシステム
1か月前
個人
スケジュール調整プログラム
1か月前
個人
学習用データ生成装置
7日前
株式会社キーエンス
受発注システム
2か月前
個人
食品レシピ生成システム
2か月前
株式会社キーエンス
受発注システム
2か月前
株式会社キーエンス
受発注システム
2か月前
個人
エリアガイドナビAIシステム
1か月前
個人
帳票自動生成型SaaSシステム
2か月前
キヤノン株式会社
画像認識装置
20日前
キヤノン株式会社
情報処理装置
20日前
キヤノン株式会社
情報処理装置
20日前
株式会社ケアコム
項目選択装置
1か月前
個人
音声・通知・再配達UX制御構造
2か月前
エッグス株式会社
情報処理装置
1か月前
キヤノン株式会社
表示システム
2か月前
トヨタ自動車株式会社
通知装置
1か月前
続きを見る
他の特許を見る