TOP
|
特許
|
意匠
|
商標
特許ウォッチ
Twitter
他の特許を見る
公開番号
2025179825
公報種別
公開特許公報(A)
公開日
2025-12-10
出願番号
2025086864
出願日
2025-05-26
発明の名称
液体被覆製品用の噴霧ボウル、噴霧ボウルを備えた回転式噴霧器及び回転式噴霧器を用いて被覆製品を塗布する方法
出願人
エクセル インダストリー
代理人
個人
,
個人
,
個人
,
個人
,
個人
,
個人
主分類
B05B
5/04 20060101AFI20251203BHJP(霧化または噴霧一般;液体または他の流動性材料の表面への適用一般)
要約
【課題】回転式被覆製品噴霧器に組み込まれることを目的とする液体被覆製品用噴霧ボウルの提供。
【解決手段】長手方向軸X6を中心し、円形噴霧縁部63まで被覆製品を分配するための半径方向内側面61を形成する本体60であって、円形噴霧縁部は、半径方向内側分配面61に形成され、その円周方向に均一に分布するノッチ66
i
を備える本体60を具備する、噴霧ボウル6において、円形噴霧縁部63に沿ったノッチ66iの線密度DL
66
は、1ミリメートルあたり4ノッチ以上であり、各ノッチ66
i
の開口角度α
66
が45°以下である、噴霧ボウル6。
【選択図】図1
特許請求の範囲
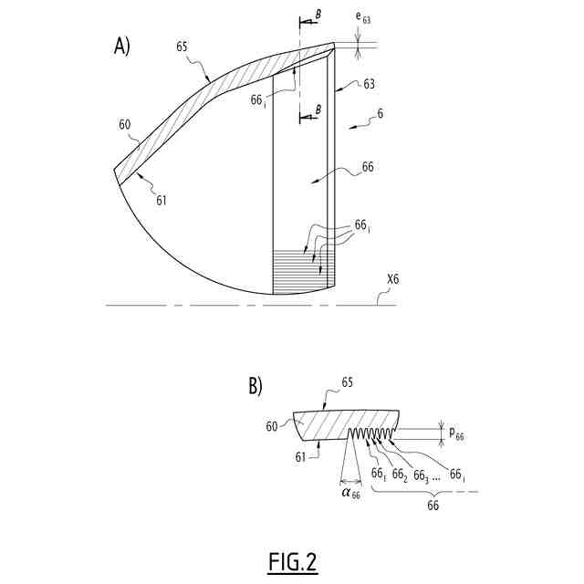
【請求項1】
回転式被覆製品噴霧器(2)に組み込まれることを目的とする液体被覆製品用噴霧ボウル(6)であって、長手方向軸(X6)を中心とし、円形噴霧縁部(63)まで前記被覆製品を分配するための半径方向内側面(61)を形成する本体(60)であって、前記円形噴霧縁部(63)は、前記長手方向軸を中心とする前記半径方向内側分配面(61)に形成され、その円周に沿って均一に分布するノッチ(66
i
)を装備する本体(60)を具備する、噴霧ボウル(6)において、
-前記円形噴霧縁部(63)に沿った前記ノッチ(66
i
)の線密度(DL
66
)が1ミリメートルあたり4ノッチ以上であり、
-各ノッチ(66
i
)の開口角度(α
66
)が45°以下である、ことを特徴とする、噴霧ボウル(6)。
続きを表示(約 1,100 文字)
【請求項2】
前記長手方向軸(X66)の半径方向に測定した各ノッチ(66
i
)の最大深さ(p
66
)が、0.1mm以上、好ましくは0.2mm以上である、請求項1に記載のボウル。
【請求項3】
前記ノッチ(66
i
)はいずれも直線状であり、互いに平行である、請求項1又は2に記載のボウル。
【請求項4】
前記円形噴霧縁部(63)の直径(D63)が80mm以下、好ましくは約65mmである、請求項1又は2に記載のボウル。
【請求項5】
各ノッチの前記開口角度(α
66
)は30°以下、好ましくは約20°である、請求項1又は2に記載のボウル。
【請求項6】
ノッチ(66
i
)の底部と前記ボウル(6)の半径方向外面(65)との間で、前記長手方向軸に直交して測定した前記円形噴霧縁部(63)の半径方向厚さ(e
63
)が、0.2~0.5mm、好ましくは0.3~0.4mmである、請求項1又は2に記載のボウル。
【請求項7】
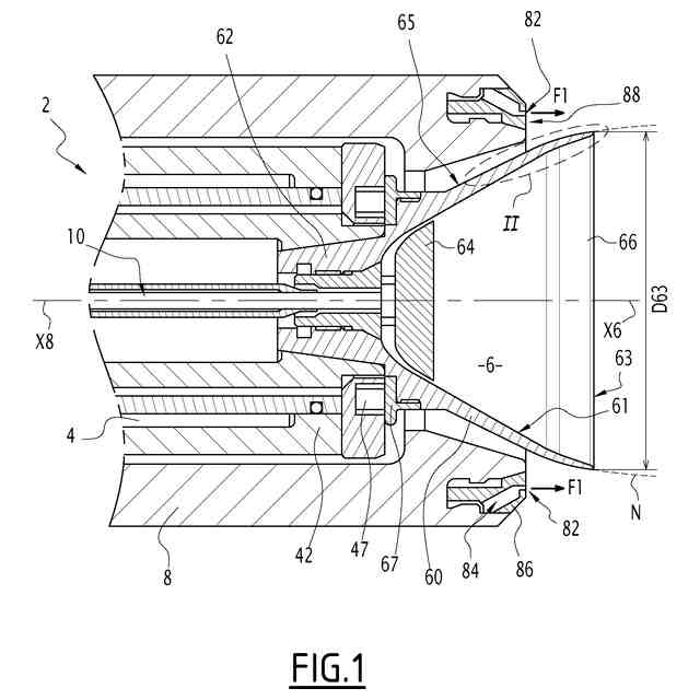
-回転軸(X8)を規定する本体(8)と、
-前記回転軸回りに回転する、被覆製品を噴霧するためのボウル(6)と、
-前記ボウルを前記回転軸回りに回転させるタービン(4)と、
-成形エア出口オリフィス(82)を備えたエアスカート(86)と、を具備する、回転式被覆製品噴霧器(2)であって、
被覆製品を噴霧するための前記ボウル(6)は、請求項1から6のいずれか1項に記載のものであり、その長手方向軸(X6)が前記回転軸と一直線になっていることを特徴とする、回転式被覆製品噴霧器(2)。
【請求項8】
請求項7に記載の噴霧器(2)を用いて液体被覆製品を塗布する方法であって、
-前記ボウル(6)は、前記タービン(4)によって前記回転軸(X8)回りを40,000rpm以下、好ましくは30,000rpmの回転速度で回転し、
-前記成形エア出口オリフィス(82)には、250~500L/分、好ましくは300~450L/分の流量で成形エアが供給される、ことを特徴とする、方法。
【請求項9】
前記噴霧器は、塗布される前記製品に高電圧を印加する手段を具備し、印加される前記高電圧は40~85kV、好ましくは45~60kVである、請求項8に記載の方法。
【請求項10】
塗布された前記被覆製品はプライマー又はワニスである、請求項8に記載の方法。
発明の詳細な説明
【技術分野】
【0001】
本発明は、回転式被覆噴霧器に組み込むための液体被覆製品用の噴霧ボウルに関する。さらに、本発明は、そのようなボウルを備えた回転式噴霧器及びそのような回転式噴霧器を用いて被覆製品を塗布する方法に関する。
続きを表示(約 1,400 文字)
【背景技術】
【0002】
液体被覆製品の噴霧の分野では、通常ボウルと呼ばれる噴霧部材を装備した回転式噴霧器を使用することが知られている。この噴霧部材は、被覆製品の分配面を円形の噴霧縁部まで形成し、その縁部から被覆製品の液滴を噴霧する。
【0003】
そのような噴霧ボウルは、例えば、特許文献1(国際公開第03/074187号)から公知である。そのようなボウルは、その円形の噴霧縁部の近傍にノッチを設けて作成することができる。この切り欠き加工工程により、ボウルの円形の噴霧縁部から放出される液滴を均質化し、微細化する。
【0004】
別の噴霧ボウルが、特許文献2(米国特許第4519549号明細書)から公知である。ボウルには、その円周縁部に沿って切り欠きが設けられ、鋸歯状の構造を形成している。
【0005】
既知のノッチ付きボウル、即ち、ボウルの円形噴霧縁部の近傍にノッチを形成するか、円形噴霧縁部に沿ってノッチを形成するノッチ付きボウルでは、塗料液滴の霧化と均一性が比較的良好に制御される。ボウルの回転速度によって被覆製品の液滴が微細化される。回転速度が速いほど、液滴は微細化される。
【0006】
一方、ボウルの回転速度が速いほど、被覆製品の液滴をボウルの縁部から放出する運動エネルギーが増大する。しかし、被覆製品の液滴をボウルの縁部から噴出する方向は、ボウルの回転軸に概ね直交している。このため、被覆製品の液滴は、被覆対象物、例えば、自動車の車体に向けられなければならない。この場合、成形エア出口オリフィスを装備した成形スカートを使用することが知られている。この成形エアは、ボウルの回転軸に対して概ね軸方向に向けられた気流効果を有し、塗料液滴を被覆対象物に向けて押し戻すことができる。さらに、静電式噴霧器の場合、噴霧前又は噴霧後に被覆製品に静電電荷を印加することにより、静電効果を利用して被覆製品の液滴を被覆対象物に向けることができる。ボウルの回転速度が速いほど、ボウルの縁部から放出される液滴の運動エネルギーであって、被覆製品の液滴を被覆対象物に向けて押し戻すために、成形エア、場合によっては、静電効果によって補償される必要がある運動エネルギーが増大する。
【0007】
回転式被覆製品噴霧装置で繰り返し発生する問題には、積層される被覆製品の層の品質を低下させることなく、歩留まり、即ち、被覆対象物に実際に塗布される被覆製品の割合を高めることを目的としていることが挙げられる。
【0008】
この文脈では、ボウルの縁部から放出される液滴の運動エネルギーを低減するために、ボウルの回転速度を低下させることが可能である場合がある。しかし、この場合、ノッチ付きボウルであっても、ボウルの縁部から放出される液滴の雲の均一性が低下し、液滴のサイズが大きくなるリスクがあり、塗布される被覆製品層の品質が低下する可能性がある。
【先行技術文献】
【特許文献】
【0009】
国際公開第03/074187号
米国特許第4519549号明細書
【発明の概要】
【0010】
本発明は、このような問題を具体的に解決するものであり、液体被覆製品用の新規な噴霧ボウルを提案する。この噴霧ボウルは、ボウルの回転速度が比較的低い場合でも、被覆製品を効率的かつ高品質に塗布することを可能にする。
(【0011】以降は省略されています)
この特許をJ-PlatPat(特許庁公式サイト)で参照する
関連特許
個人
微細霧発生装置
1か月前
ベック株式会社
被膜形成方法
28日前
ベック株式会社
被膜形成方法
28日前
ベック株式会社
被膜形成方法
28日前
ベック株式会社
被膜形成方法
28日前
ベック株式会社
被膜形成方法
28日前
ベック株式会社
被膜形成方法
2か月前
菊水化学工業株式会社
塗装方法
5日前
有限会社 芦屋ドレス
湯噴霧器
1か月前
株式会社シラトミ
塗装方法
12日前
スズカファイン株式会社
多色性塗膜
2か月前
アイカ工業株式会社
塗料仕上げ工法
2か月前
トヨタ自動車株式会社
塗布装置
2か月前
株式会社カネカ
塗布装置
2か月前
トヨタ自動車株式会社
塗工装置
12日前
個人
スプレー缶高所対応携帯ホルダー
2か月前
能美防災株式会社
水噴霧ヘッド
2か月前
日本ライナー株式会社
塗装装置
2か月前
ヒット工業株式会社
マスキング具
3か月前
東レエンジニアリング株式会社
粉体吐出装置
2か月前
東レエンジニアリング株式会社
スリットダイ
2か月前
ブラザー工業株式会社
塗工装置
2か月前
ブラザー工業株式会社
塗工装置
2か月前
ブラザー工業株式会社
塗工装置
2か月前
旭サナック株式会社
粉体塗装装置
3か月前
株式会社アポワテック
床面マーク施工方法
5日前
トリニティ工業株式会社
回転霧化式塗装機
2か月前
個人
散水形態を変更可能な吐水装置
2か月前
トヨタ自動車株式会社
間欠塗工装置
1か月前
ブラザー工業株式会社
静電塗工装置
2か月前
株式会社トーモク
印刷装置および印刷方法
2か月前
AWJ株式会社
ステンシルプレートセット
3か月前
中外炉工業株式会社
塗布用ノズルの清掃装置
1か月前
株式会社吉野工業所
ノズル部材
28日前
ダイハツ工業株式会社
塗布装置
1か月前
みのる産業株式会社
誘導帯電型静電噴霧装置
20日前
続きを見る
他の特許を見る