TOP
|
特許
|
意匠
|
商標
特許ウォッチ
Twitter
他の特許を見る
10個以上の画像は省略されています。
公開番号
2025179296
公報種別
公開特許公報(A)
公開日
2025-12-10
出願番号
2024085941
出願日
2024-05-28
発明の名称
液体吐出ヘッド及び液体吐出装置
出願人
ブラザー工業株式会社
代理人
弁理士法人ATEN
主分類
B41J
2/14 20060101AFI20251203BHJP(印刷;線画機;タイプライター;スタンプ)
要約
【課題】共通流路内で発生する圧力振動を減衰させる。
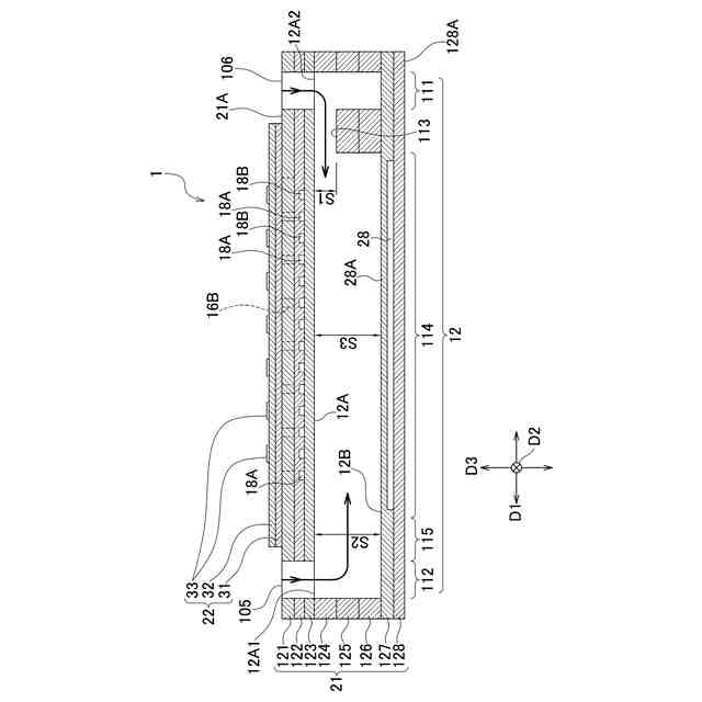
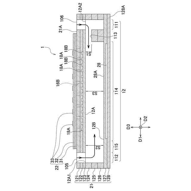
【解決手段】ヘッド1は、共通流路12と、共通流路12とそれぞれ連通する複数の個別流路とを有する。共通流路12は、第1方向D1の両端に配置された流入口12A1,12A2と、第1通路部113と、第2通路部115と、両通路部113,115間に配置された共通部114とを有する。第1通路部113は、第1方向D1において、流入口12A2と最も流入口12A2に近い位置に配置された個別流路の接続口との間に配置されている。第2通路部115は、第1方向D1において、流入口12A1と最も流入口12A1に近い位置に配置された個別流路の接続口との間に配置されている。第1通路部113の第1方向D1に直交する断面積S1は、第2通路部115及び共通部114の第1方向D1に直交する断面積S2,S3よりも小さい。
【選択図】図5
特許請求の範囲
【請求項1】
上下方向に直交する第1方向に延びる共通流路と、
ノズル、前記ノズルと連通する圧力室とをそれぞれ含む複数の個別流路であって、前記第1方向に配列され、前記共通流路とそれぞれ連通する複数の個別流路と、を備え、
前記共通流路は、
前記第1方向の一方の端部に配置され、液体が供給される第1供給口と、
前記第1方向の他方の端部に配置され、液体が供給される第2供給口と、
前記第1方向において、前記第1供給口と、前記複数の個別流路のうち前記一方の端部に最も近い位置に配置された前記個別流路と前記共通流路との接続箇所である第1接続部と、の間に配置された第1通路部と、
前記第1方向において、前記第2供給口と、前記複数の個別流路のうち前記他方の端部に最も近い位置に配置された前記個別流路と前記共通流路との接続箇所である第2接続部と、の間に配置された第2通路部と、を有しており、
前記第1通路部は、前記共通流路における、前記第2通路部、および、前記共通流路の前記第1接続部と前記第2接続部との間の部分よりも、前記第1方向に直交する断面積が小さいことを特徴とする液体吐出ヘッド。
続きを表示(約 1,100 文字)
【請求項2】
前記第1通路部の流路抵抗は、1.3×10
10
~1.9×10
11
Pa・s/m
3
の範囲であることを特徴とする請求項1に記載の液体吐出ヘッド。
【請求項3】
前記第2通路部の前記第1方向に直交する断面積は、前記共通流路の前記第1接続部と前記第2接続部との間における前記第1方向に直交する断面積と同じであることを特徴とする請求項1に記載の液体吐出ヘッド。
【請求項4】
前記第1通路部は、前記共通流路の上面に沿って配置されていることを特徴とする請求項1に記載の液体吐出ヘッド。
【請求項5】
前記共通流路の底面に沿って配置され、当該共通流路内の液体の圧力振動を吸収するダンパーを、さらに備えていることを特徴とする請求項1に記載の液体吐出ヘッド。
【請求項6】
前記共通流路は、前記第1方向と前記上下方向との双方に直交する第2方向に並んで複数配置されており、
前記第2方向に隣接する2つの前記共通流路の前記第1通路部は、前記第1方向において、前記共通流路の前記第1接続部と前記第2接続部との間の領域を挟んで互いに反対側に配置されていることを特徴とする請求項1に記載の液体吐出ヘッド。
【請求項7】
上下方向に直交する第1方向に延びる共通流路、及び、ノズル、前記ノズルと連通する圧力室とをそれぞれ含む複数の個別流路であって、前記第1方向に配列され、前記共通流路とそれぞれ連通する複数の個別流路を含む液体吐出ヘッドと、
供給部と、
制御部と、を備え、
前記共通流路は、
前記第1方向の一方の端部に配置され、液体が供給される第1供給口と、
前記第1方向の他方の端部に配置され、液体が供給される第2供給口と、
前記第1方向において、前記第1供給口と、前記複数の個別流路のうち前記一方の端部に最も近い位置に配置された前記個別流路と前記共通流路との接続箇所である第1接続部と、の間に配置された第1通路部と、
前記第1方向において、前記第2供給口と、前記複数の個別流路のうち前記他方の端部に最も近い位置に配置された前記個別流路と前記共通流路との接続箇所である第2接続部と、の間に配置された第2通路部と、を有しており、
前記第1通路部は、前記共通流路における、前記第2通路部、および、前記共通流路の前記第1接続部と前記第2接続部との間の部分よりも、前記第1方向に直交する断面積が小さく、
前記制御部は、前記第1供給口および前記第2供給口に互いに同じ圧力で液体が供給されるように、前記供給部を制御することを特徴とする液体吐出装置。
発明の詳細な説明
【技術分野】
【0001】
本発明は、複数の個別流路と連通する共通流路を備えた液体吐出ヘッド及び液体吐出装置に関する。
続きを表示(約 2,900 文字)
【背景技術】
【0002】
特許文献1には、ノズルとノズルに連通する圧力室とをそれぞれ含む複数の個別流路と、複数の個別流路と連通するマニホールド(共通流路)と、マニホールドに設けられたダンパーとを含むインクジェットヘッド(液体吐出ヘッド)について記載されている。マニホールドには、ダンパーが設けられているため、マニホールド内のインクの圧力振動を吸収し抑制することができる。
【先行技術文献】
【特許文献】
【0003】
特開2008-273193号公報
【発明の概要】
【発明が解決しようとする課題】
【0004】
印刷物の高画質化のために、ノズルの密度を向上させることがある。ヘッドの平面サイズを変えずにノズル密度を向上させようとした場合、ノズル配置領域を確保するために、マニホールドの幅を小さくすることが考えられる。この場合、ノズル密度の向上に伴って個別流路も増加するため、マニホールドから複数の個別流路へと流れるインクの量が増加する。これにより、マニホールド内で発生する圧力振動がダンパーで吸収しきれないほど大きくなることがあり、他の構成により圧力振動を減衰させる必要がある。
【0005】
そこで、本発明の目的は、共通流路内で発生する圧力振動を減衰させることが可能な液体吐出ヘッド及び液体吐出装置を提供することである。
【課題を解決するための手段】
【0006】
本発明の液体吐出ヘッドは、上下方向に直交する第1方向に延びる共通流路と、ノズル、前記ノズルと連通する圧力室とをそれぞれ含む複数の個別流路であって、前記第1方向に配列され、前記共通流路とそれぞれ連通する複数の個別流路と、を備え、前記共通流路は、前記第1方向の一方の端部に配置され、液体が供給される第1供給口と、前記第1方向の他方の端部に配置され、液体が供給される第2供給口と、前記第1方向において、前記第1供給口と、前記複数の個別流路のうち前記一方の端部に最も近い位置に配置された前記個別流路と前記共通流路との接続箇所である第1接続部と、の間に配置された第1通路部と、前記第1方向において、前記第2供給口と、前記複数の個別流路のうち前記他方の端部に最も近い位置に配置された前記個別流路と前記共通流路との接続箇所である第2接続部と、の間に配置された第2通路部と、を有しており、前記第1通路部は、前記共通流路における、前記第2通路部、および、前記共通流路の前記第1接続部と前記第2接続部との間の部分よりも、前記第1方向に直交する断面積が小さい。
【0007】
本発明の液体吐出装置は、上下方向に直交する第1方向に延びる共通流路、及び、ノズル、前記ノズルと連通する圧力室とをそれぞれ含む複数の個別流路であって、前記第1方向に配列され、前記共通流路とそれぞれ連通する複数の個別流路を含む液体吐出ヘッドと、供給部と、制御部と、を備え、前記共通流路は、前記第1方向の一方の端部に配置され、液体が供給される第1供給口と、前記第1方向の他方の端部に配置され、液体が供給される第2供給口と、前記第1方向において、前記第1供給口と、前記複数の個別流路のうち前記一方の端部に最も近い位置に配置された前記個別流路と前記共通流路との接続箇所である第1接続部と、の間に配置された第1通路部と、前記第1方向において、前記第2供給口と、前記複数の個別流路のうち前記他方の端部に最も近い位置に配置された前記個別流路と前記共通流路との接続箇所である第2接続部と、の間に配置された第2通路部と、を有しており、前記第1通路部は、前記共通流路における、前記第2通路部、および、前記共通流路の前記第1接続部と前記第2接続部との間の部分よりも、前記第1方向に直交する断面積が小さく、前記制御部は、前記第1供給口および前記第2供給口に互いに同じ圧力で液体が供給されるように、前記供給部を制御する。
【発明の効果】
【0008】
本発明の液体吐出ヘッドによると、共通流路へは両端部から液体が供給され、共通流路内の液体が複数の個別流路に流れる。このとき、共通流路で生じた圧力波が流路抵抗の大きい第1通路部を通過する際に減衰する。このため、共通流路内で発生する圧力振動を減衰させることが可能となる。
本発明の液体吐出装置によると、共通流路へは両端部から液体が供給され、共通流路内の液体が複数の個別流路に流れる。このとき、共通流路で生じた圧力波が流路抵抗の大きい第1通路部を通過する際に減衰する。このため、共通流路内で発生する圧力振動を減衰させることが可能となる。また、第1供給口に近い個別流路と第2供給口に近い個別流路との間における圧力差が抑制される。このため、複数のノズルからの吐出特性が安定する。
【図面の簡単な説明】
【0009】
本発明の一実施形態に係るヘッドを含むプリンタの平面図である。
プリンタの電気的構成を示すブロック図である。
ヘッドの平面図である。
図3のIV-IV線に沿ったヘッドの断面図である。
図3のV-V線に沿ったヘッドの断面図である。
図3のVI-VI線に沿ったヘッドの断面図である。
(a)は解析モデルの平面図であり、(b)は図7(a)のVII-VII線に沿った断面図である。
解析モデルにおける共通流路内の測定位置P1~P5を示す図である。
(a)は第1通路部の上下方向の長さを20μmとしたときの各測定位置P1~P5における圧力の時間変化を示す図であり、(b)は第1通路部の上下方向の長さを50μmとしたときの各測定位置P1~P5における圧力の時間変化を示す図であり、(c)は第1通路部の上下方向の長さを80μmとしたときの各測定位置P1~P5における圧力の時間変化を示す図である。
第1通路部の上下方向の長さと圧力振動の大きさとの関係を示す図である。
流路抵抗と圧力振動の大きさとの関係を示す図である。
(a)は2つの共通流路の第1通路部が第1方向の他端側に配置されたヘッドでベタ印刷した画像を示す図であり、(b)は2つの共通流路の第1通路部が第1方向において互いに反対側に配置されたヘッドでベタ印刷した画像を示す図である。
【発明を実施するための形態】
【0010】
<実施形態>
先ず、図1を参照し、本発明の一実施形態に係るヘッド1を備えたプリンタ100の全体構成について説明する。なお、以下の説明において、第1方向D1及び第2方向D2は、水平方向であり、上下方向D3に直交する。本実施形態における上下方向D3は鉛直方向に沿っているが、鉛直方向及び水平方向に対して交差する上下方向であってもよい。第1方向D1は第2方向D2と直交する。ヘッド1は本発明の「液体吐出ヘッド」に該当し、プリンタ100は本発明の「液体吐出装置」に該当する。
(【0011】以降は省略されています)
この特許をJ-PlatPat(特許庁公式サイト)で参照する
関連特許
個人
印鑑
6日前
個人
箔熱転写装置
3か月前
シヤチハタ株式会社
印判
6か月前
キヤノン株式会社
記録装置
2か月前
キヤノン株式会社
電子機器
1か月前
三光株式会社
感熱記録材料
8か月前
独立行政法人 国立印刷局
印刷物
9か月前
独立行政法人 国立印刷局
貼付機構
3か月前
株式会社リコー
液体吐出装置
7か月前
株式会社リコー
液体吐出装置
9か月前
独立行政法人 国立印刷局
貼付装置
3か月前
株式会社リコー
液体吐出装置
6か月前
株式会社リコー
液体吐出装置
6か月前
株式会社リコー
液体吐出装置
9か月前
株式会社リコー
印刷システム
2か月前
株式会社リコー
液体吐出装置
8か月前
株式会社リコー
画像形成装置
3か月前
株式会社リコー
画像形成装置
2か月前
株式会社リコー
画像形成装置
2か月前
株式会社リコー
液体吐出装置
4か月前
日本製紙株式会社
感熱記録体
9か月前
キヤノン株式会社
印刷システム
9か月前
ブラザー工業株式会社
プリンタ
8か月前
ブラザー工業株式会社
プリンタ
4か月前
理想科学工業株式会社
印刷装置
2か月前
キヤノン株式会社
画像記録装置
2か月前
キヤノン株式会社
画像形成装置
1か月前
キヤノン株式会社
画像形成装置
10か月前
キヤノン株式会社
画像形成装置
今日
キヤノン株式会社
画像形成装置
2日前
シャープ株式会社
画像形成装置
1か月前
キヤノン株式会社
画像形成装置
7か月前
キヤノン株式会社
画像形成装置
6日前
キヤノン株式会社
画像形成装置
8か月前
ブラザー工業株式会社
プリンタ
1日前
キヤノン株式会社
画像処理装置
6か月前
続きを見る
他の特許を見る