TOP
|
特許
|
意匠
|
商標
特許ウォッチ
Twitter
他の特許を見る
公開番号
2025179291
公報種別
公開特許公報(A)
公開日
2025-12-10
出願番号
2024085933
出願日
2024-05-28
発明の名称
圧縮比変更装置、およびエンジン
出願人
三菱重工業株式会社
代理人
SSIP弁理士法人
主分類
F02B
75/04 20060101AFI20251203BHJP(燃焼機関;熱ガスまたは燃焼生成物を利用する機関設備)
要約
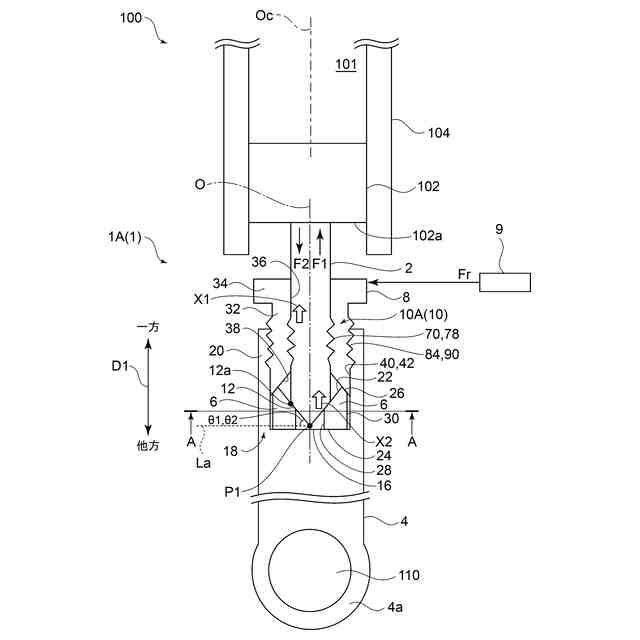
【課題】エンジンのピストンから延びる第1のロッドまたは可動片の損傷を抑制することができる。
【解決手段】エンジンの圧縮比を変更するための圧縮比変更装置は、エンジンのピストンから延びる第1のロッドであって、第1先端面が径方向の外側に向かうにつれてピストンに近づくように傾斜している第1のロッドと、エンジンのクランクシャフトから延びる第2のロッドと、第1のロッドの第1先端面に当接し径方向の外側に向かうにつれてピストンに近づくように傾斜している第1当接面および第2のロッドの第2先端面に当接する第2当接面を含む可動片と、第1当接面を第1のロッドの第1先端面に当接させ、且つ第2当接面を第2のロッドの第2先端面に当接させながら、可動片を径方向に移動させることで、第1のロッドを第1のロッドの延在方向に移動させるように構成されている押込部材と、延在方向のピストン側へ第1のロッドを移動させる移動力に抵抗する抵抗力を第1のロッドに付与する抵抗力付与機構と、を備える。
【選択図】図1
特許請求の範囲
【請求項1】
エンジンの圧縮比を変更するための圧縮比変更装置であって、
前記エンジンのピストンから延びる第1のロッドであって、第1先端面が径方向の外側に向かうにつれて前記ピストンに近づくように傾斜している第1のロッドと、
前記エンジンのクランクシャフトから延びる第2のロッドと、
前記第1のロッドの前記第1先端面に当接し前記径方向の外側に向かうにつれて前記ピストンに近づくように傾斜している第1当接面および前記第2のロッドの第2先端面に当接する第2当接面を含む可動片と、
前記第1当接面を前記第1のロッドの前記第1先端面に当接させ、且つ前記第2当接面を前記第2のロッドの前記第2先端面に当接させながら、前記可動片を前記径方向に移動させることで、前記第1のロッドを前記第1のロッドの延在方向に移動させるように構成されている押込部材と、
前記延在方向の前記ピストン側へ前記第1のロッドを移動させる移動力に抵抗する抵抗力を前記第1のロッドに付与する抵抗力付与機構と、を備える、
圧縮比変更装置。
続きを表示(約 1,500 文字)
【請求項2】
前記押込部材は、前記延在方向に沿って延びており、前記第1のロッドが挿通される貫通孔が形成されており、
前記抵抗力付与機構は、
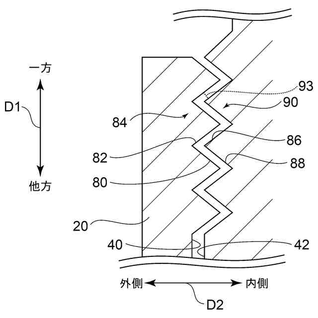
前記第1のロッドの外周面に第1山部と第1谷部とが交互に並んだ螺旋状の第1ジグザグ形状と、
前記押込部材の前記貫通孔に面し前記径方向の内側の内側面に前記第1谷部に係合される第2山部と前記第1山部に係合される第2谷部とが交互に並んだ螺旋状の第2ジグザグ形状と、を含む、
請求項1に記載の圧縮比変更装置。
【請求項3】
前記第2のロッドは、前記第2のロッドの前記第2先端面の外縁部から前記ピストンに向かって延び、前記押込部材を前記径方向の外側から覆う壁部を含み、
前記壁部の前記径方向の内側の内壁面は、第3山部と第3谷部とが交互に並んだ螺旋状の第3ジグザグ形状を有しており、
前記押込部材の前記径方向の外側の外側面は、前記第3谷部に係合される第4山部と前記第3山部に係合される第4谷部とが交互に並んだ螺旋状の第4ジグザグ形状を有しており、
前記第1ジグザグ形状と前記第2ジグザグ形状による前記第1のロッドの前記延在方向の移動量と前記可動片による前記第1のロッドの前記延在方向の移動量とが互いに等しくなるように、前記第1ジグザグ形状のピッチ、前記第2ジグザグ形状のピッチ、前記第1先端面の傾斜角、および前記第1当接面の傾斜角が構成されている、
請求項2に記載の圧縮比変更装置。
【請求項4】
前記第1ジグザグ形状および前記第2ジグザグ形状との間に形成される遊びは、前記第3ジグザグ形状および前記第4ジグザグ形状との間に形成される遊びよりも大きい、
請求項3に記載の圧縮比変更装置。
【請求項5】
前記押込部材は、前記延在方向に沿って延びており、前記第1のロッドが挿通される貫通孔が形成されており、
前記抵抗力付与機構は、
前記貫通孔よりも前記径方向の外側に位置して前記押込部材に設けられるコイルと、
前記コイルよりも前記延在方向の前記ピストン側とは反対側且つ前記コイルよりも前記径方向の内側に位置して前記第1のロッドに設けられる磁石と、を含む、
請求項1に記載の圧縮比変更装置。
【請求項6】
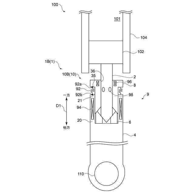
前記押込部材に前記延在方向の一方側に向かう付勢力を付与するためのスプリングと、
前記第2のロッドに内蔵されており、通電されることで前記付勢力に抗する電磁力によって前記エンジンの圧縮比を調整するように構成されているソレノイドコイルと、をさらに備える、
請求項1に記載の圧縮比変更装置。
【請求項7】
前記抵抗力付与機構は、前記第1のロッドに設けられ、前記押込部材の前記延在方向の前記ピストン側の端面よりも前記ピストン側に位置するフランジ部と、
前記フランジ部および前記押込部材の前記端面を有する端部を囲う箱部材であって、内部空間が前記押込部材の前記端面に面する第1空間と前記フランジ部を挟んで前記第1空間とは反対側に位置する第2空間とに前記フランジ部によって仕切られている箱部材と、
前記第1空間に連通しており、前記箱部材に第1の流体を流入するまたは前記箱部材から前記第1の流体を流出するための第1ラインと、
前記第2空間に連通しており、前記箱部材に第2の流体を流入するまたは前記箱部材から前記第2の流体を流出するための第2ラインと、を含む、
請求項1に記載の圧縮比変更装置。
【請求項8】
請求項1から7の何れか一項に記載の圧縮比変更装置を備える、
エンジン。
発明の詳細な説明
【技術分野】
【0001】
本開示は、エンジンの圧縮比を変更するための圧縮比変更装置、およびこの圧縮比変更装置を備えるエンジンに関する。
続きを表示(約 1,600 文字)
【背景技術】
【0002】
例えば、特許文献1には、くさび(可動片)を半径方向に移動させてピストンロッドを押し動かすことでエンジンの圧縮比を変更する圧縮比変更装置が開示されている。
【先行技術文献】
【特許文献】
【0003】
特開2021-8885号公報
【発明の概要】
【発明が解決しようとする課題】
【0004】
しかしながら、意図せぬ筒内圧の低下やピストンとシリンダライナとの間の摩擦力の増大が発生した際に、ピストンロッドが可動片から離間する虞がある。ピストンロッドが可動片から離間すると、例えばピストンロッドの落下によりピストンロッドと可動片との衝突が発生し、ピストンロッドおよび可動片のうちの少なくとも一方が損傷してしまう。
【0005】
本開示は、上述の課題に鑑みてなされたものであって、エンジンのピストンから延びる第1のロッド(ピストンロッド)または可動片の損傷を抑制することができる圧縮比変更装置、およびこの圧縮比変更装置を備えるエンジンを提供することを目的とする。
【課題を解決するための手段】
【0006】
上記目的を達成するため、本開示に係る圧縮比変更装置は、エンジンの圧縮比を変更するための圧縮比変更装置であって、前記エンジンのピストンから延びる第1のロッドであって、第1先端面が径方向の外側に向かうにつれて前記ピストンに近づくように傾斜している第1のロッドと、前記エンジンのクランクシャフトから延びる第2のロッドと、前記第1のロッドの前記第1先端面に当接し前記径方向の外側に向かうにつれて前記ピストンに近づくように傾斜している第1当接面および前記第2のロッドの第2先端面に当接する第2当接面を含む可動片と、前記第1当接面を前記第1のロッドの前記第1先端面に当接させ、且つ前記第2当接面を前記第2のロッドの前記第2先端面に当接させながら、前記可動片を前記径方向に移動させることで、前記第1のロッドを前記延在方向に移動させるように構成されている押込部材と、前記第1のロッドの延在方向の前記ピストン側へ前記第1のロッドを移動させる移動力に抵抗する抵抗力を前記第1のロッドに付与する抵抗力付与機構と、を備える。
【発明の効果】
【0007】
本開示の圧縮比変更装置およびエンジンによれば、エンジンのピストンから延びる第1のロッド(ピストンロッド)または可動片の損傷を抑制することができる。
【図面の簡単な説明】
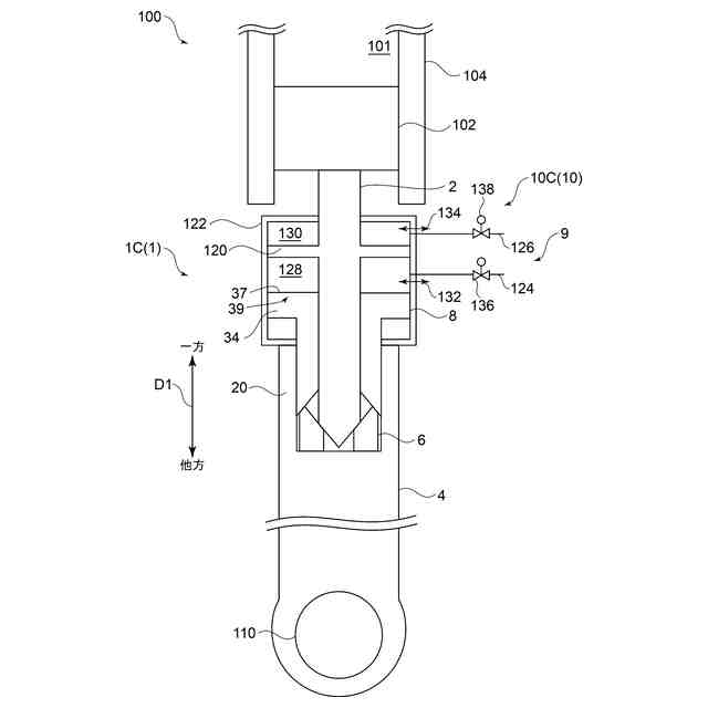
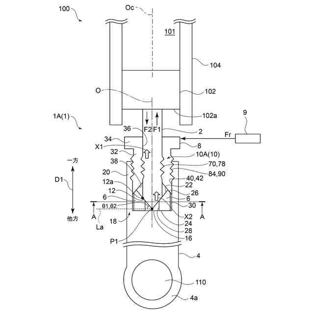
【0008】
第1実施形態に係る圧縮比変更装置の構成を概略的に示す図である。
第1実施形態に係る可動片の構成を概略的に示す図である。
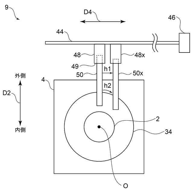
第1実施形態に係る駆動機構の構成の一例を概略的に示す図である。
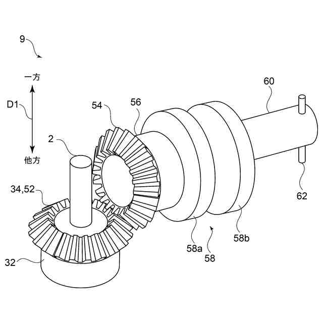
第1実施形態に係る駆動機構の構成の別の一例を概略的に示す斜視図である。
第1実施形態に係る抵抗力付与機構の構成を説明するための図である。
第1実施形態に係る第3ジグザグ形状および第4ジグザグ形状を説明するための図である。
第2実施形態に係る圧縮比変更装置の構成を概略的に示す図である。
第3実施形態に係る圧縮比変更装置の構成を概略的に示す図である。
【発明を実施するための形態】
【0009】
以下、本開示の実施の形態による圧縮比変更装置、およびエンジンについて、図面に基づいて説明する。かかる実施の形態は、本開示の一態様を示すものであり、この開示を限定するものではなく、本開示の技術的思想の範囲内で任意に変更可能である。
【0010】
本開示に係る圧縮比変更装置は、エンジンの圧縮比を変更する。エンジンは、特に限定されず、ディーゼルエンジンであってもよいし、ガスエンジンであってもよい。
(【0011】以降は省略されています)
この特許をJ-PlatPat(特許庁公式サイト)で参照する
関連特許
個人
ガバナー
14日前
トヨタ自動車株式会社
制御装置
6日前
株式会社ミクニ
二次空気供給システム
7日前
株式会社ミクニ
インテークマニホールド
6日前
株式会社ミクニ
インテークマニホールド
6日前
トヨタ自動車株式会社
パワープラント
今日
トヨタ自動車株式会社
燃料噴射制御装置
15日前
国立大学法人 名古屋工業大学
小型化無振動機構機器
13日前
トヨタ自動車株式会社
シリンダブロック
今日
日産自動車株式会社
吸気装置
15日前
ダイハツ工業株式会社
副燃焼室付きエンジン
13日前
株式会社SUBARU
弁装置
6日前
ヤンマーホールディングス株式会社
エンジン装置
14日前
トヨタ自動車株式会社
車両制御装置
8日前
愛三工業株式会社
燃料ポンプ
6日前
トヨタ自動車株式会社
エンジン
今日
ローム株式会社
イグナイタおよび内燃機関点火システム
2日前
スズキ株式会社
車両用制御装置
6日前
株式会社デンソー
燃料噴射装置
14日前
愛三工業株式会社
燃料供給装置
今日
愛三工業株式会社
燃料供給装置
今日
トヨタ自動車株式会社
車両の制御装置
13日前
スズキ株式会社
バイフューエル車両
6日前
株式会社豊田自動織機
ディーゼルエンジン
13日前
トヨタ自動車株式会社
エンジンの制御装置
今日
株式会社SUBARU
車両用高圧燃料配管装置
13日前
株式会社SUBARU
エンジン制御装置
2日前
三菱重工エンジン&ターボチャージャ株式会社
安全弁
13日前
ヤンマーホールディングス株式会社
エンジン
2日前
ヤンマーホールディングス株式会社
エンジン
2日前
三菱重工業株式会社
圧縮比変更装置、およびエンジン
1日前
トヨタ自動車株式会社
水素エンジン車両
6日前
ダイハツインフィニアース株式会社
船舶用エンジン燃料供給装置
1日前
株式会社ニッキ
エンジンのガス燃料供給装置
14日前
トヨタ自動車株式会社
内燃機関の制御装置
13日前
三菱重工エンジン&ターボチャージャ株式会社
燃料噴射装置
今日
続きを見る
他の特許を見る