TOP
|
特許
|
意匠
|
商標
特許ウォッチ
Twitter
他の特許を見る
10個以上の画像は省略されています。
公開番号
2025179213
公報種別
公開特許公報(A)
公開日
2025-12-09
出願番号
2025151317,2021093196
出願日
2025-09-11,2021-06-02
発明の名称
カット野菜製造方法およびカット野菜製造装置
出願人
ライオンハイジーン株式会社
代理人
個人
,
個人
,
個人
主分類
C11D
3/48 20060101AFI20251202BHJP(動物性または植物性油,脂肪,脂肪性物質またはろう;それに由来する脂肪酸;洗浄剤;ろうそく)
要約
【課題】カット野菜へのダメージを低減させつつカット野菜の一般生菌数を低減する。
【解決手段】野菜に対して相対移動する切断刃体により切断してカット野菜とすることと、前記カット野菜を殺菌液により殺菌することと、を含むカット野菜製造方法であって、
前記殺菌液は、(A1)成分:オゾン、(A2)成分:次亜塩素酸またはその塩、から選択される少なくとも1種と、
(B)成分:下記一般式(1)で表されるポリオキシアルキレンアルキルエーテルと、
(C)成分:水と、を含有し、前記野菜をカットしながら前記殺菌液を前記切断刃体の刃部に注ぐ本殺菌工程を含み、前記本殺菌工程後に前記野菜に次亜塩素酸およびその塩またはオゾンを含む殺菌液を触れさせないことを特徴とするカット野菜製造方法。
R-O-[(EO)
x
/(AO)
y
]-H ・・・(1)。
【選択図】図3
特許請求の範囲
【請求項1】
野菜に対して相対移動する切断刃体により切断してカット野菜とすることと、
前記カット野菜を殺菌液により殺菌することと、
を含むカット野菜製造方法であって、
前記殺菌液は、
(A1)成分:オゾン、(A2)成分:次亜塩素酸またはその塩、から選択される少なくとも1種と、
(B)成分:下記一般式(1)で表されるポリオキシアルキレンアルキルエーテルと、
(C)成分:水と、を含有し、
前記野菜をカットしながら前記殺菌液を前記切断刃体の刃部に注ぐ本殺菌工程を含み、
前記本殺菌工程の後に前記野菜に次亜塩素酸およびその塩またはオゾンを含む殺菌液を触れさせないことを特徴とするカット野菜製造方法。
R-O-[(EO)
x
/(AO)
y
]-H ・・・(1)
(式(1)中、Rは炭素数8~24の炭化水素基であり、EOはオキシエチレン基であり、AOはPO(オキシプロピレン基)及びBO(オキシブチレン基)の少なくとも一方であり、xはEOの平均繰り返し数を示す1~50の数であり、yはAOの平均繰り返し数を示す0~30の数である)。
続きを表示(約 680 文字)
【請求項2】
野菜に対して相対移動する切断刃体により切断してカット野菜とする野菜カット部と、前記野菜カット部に殺菌液を供給して前記切断刃体の刃部に注ぐ殺菌液供給部と、を含むカット野菜殺菌装置と、
次亜塩素酸およびその塩またはオゾンを含む殺菌液に触れさせずに前記カット野菜を濯ぎ水で濯ぐ濯ぎ部と、
を備え、
前記殺菌液は、
(A1)成分:オゾン、(A2)成分:次亜塩素酸またはその塩、から選択される少なくとも1種と、
(B)成分:下記一般式(1)で表されるポリオキシアルキレンアルキルエーテルと、
(C)成分:水と、を含有することを特徴とするカット野菜製造装置。
R-O-[(EO)
x
/(AO)
y
]-H ・・・(1)
(式(1)中、Rは炭素数8~24の炭化水素基であり、EOはオキシエチレン基であり、AOはPO(オキシプロピレン基)及びBO(オキシブチレン基)の少なくとも一方であり、xはEOの平均繰り返し数を示す1~50の数であり、yはAOの平均繰り返し数を示す0~30の数である)。
【請求項3】
前記(B)成分のAOがPOであり、y=1~20であり、その含有量が殺菌剤の総重量に対して5~500ppmである請求項1に記載のカット野菜製造方法。
【請求項4】
前記(B)成分のAOがPOであり、y=1~20であり、その含有量が殺菌剤の総重量に対して5~500ppmである請求項2に記載のカット野菜製造装置。
発明の詳細な説明
【技術分野】
【0001】
本発明は、カット野菜製造方法およびカット野菜製造装置に関するものである。
続きを表示(約 2,200 文字)
【背景技術】
【0002】
従来のカット野菜の製造方法としては、ホール状態の葉物野菜を一次殺菌後、スライサーで喫食サイズにカットし、続いて、二次殺菌、水洗い、そして遠心分離装置で水切りする方法が一般的である。上記の殺菌工程では、次亜塩素酸塩を殺菌剤として用いることが一般的であるが、葉野菜へのダメージを考慮してオゾン水で殺菌する方法が提案されている。特許文献1および特許文献2には、カット時に野菜の切断面から溶出する細胞液を除去するために、野菜の切断部に清水を注ぎながら野菜をカットすることが開示されている。
【先行技術文献】
【特許文献】
【0003】
特開2016-154552号公報
国際公開第2013/179378号
【発明の概要】
【発明が解決しようとする課題】
【0004】
カット野菜においては、利便性を高めるために品質保持期間の長期化が求められる。品質保持期間を長期化するためには、カット野菜の一般生菌数を一定数以下に保つ必要がある。カット野菜の一般生菌数を一定以下に保つためには、強い殺菌力を有する殺菌液による殺菌処理が行われることがある。ところが、殺菌力が強い殺菌液を用いた殺菌処理では、一般生菌数を一定数以下に保つ一方で、カット野菜にダメージを与えてしまい品質保持期間を短期化させてしまう可能性がある。
【0005】
また、野菜のカット工程において、野菜をカットするための切断刃体を介しての汚染が生じた場合、カット後の野菜に一般生菌数が急激に増加する可能性がある。上記の特許文献1および特許文献2には、野菜の切断部に清水や殺菌液を注ぎながらカットする方法が開示されているが、効果的に殺菌できているとは言えない。
【0006】
本発明は、以上のような点を考慮してなされたもので、カット野菜へのダメージを低減させつつカット野菜の一般生菌数を低減できるカット野菜製造方法およびカット野菜製造装置を提供することを目的とする。
【課題を解決するための手段】
【0007】
本発明の第1の態様に従えば、野菜に対して相対移動する切断刃体により切断してカット野菜とすることと、前記カット野菜を殺菌液により殺菌することと、を含むカット野菜製造方法であって、
前記殺菌液は、(A1)成分:オゾン、(A2)成分:次亜塩素酸またはその塩、から選択される少なくとも1種と、
(B)成分:下記一般式(1)で表されるポリオキシアルキレンアルキルエーテルと、
(C)成分:水と、を含有し、前記野菜をカットしながら前記殺菌液を前記切断刃体の刃部に注ぐ本殺菌工程を含み、前記本殺菌工程の後に前記野菜に次亜塩素酸およびその塩またはオゾンを含む殺菌液を触れさせないことを特徴とするカット野菜製造方法。
R-O-[(EO)
x
/(AO)
y
]-H ・・・(1)
(式(1)中、Rは炭素数8~24の炭化水素基であり、EOはオキシエチレン基であり、AOはPO(オキシプロピレン基)及びBO(オキシブチレン基)の少なくとも一方であり、xはEOの平均繰り返し数を示す1~50の数であり、yはAOの平均繰り返し数を示す0~30の数である)。
【0008】
本発明の第2の態様に従えば、野菜に対して相対移動する切断刃体により切断してカット野菜とする野菜カット部と、前記野菜カット部に殺菌液を供給して前記切断刃体の刃部に注ぐ殺菌液供給部と、を含むカット野菜殺菌装置と、次亜塩素酸およびその塩またはオゾンを含む殺菌液に触れさせずに前記カット野菜を濯ぎ水で濯ぐ濯ぎ部と、を備え、
前記殺菌液は、
(A1)成分:オゾン、(A2)成分:次亜塩素酸またはその塩、から選択される少なくとも1種と、
(B)成分:下記一般式(1)で表されるポリオキシアルキレンアルキルエーテルと、
(C)成分:水と、を含有することを特徴とするカット野菜製造装置。
R-O-[(EO)
x
/(AO)
y
]-H ・・・(1)
(式(1)中、Rは炭素数8~24の炭化水素基であり、EOはオキシエチレン基であり、AOはPO(オキシプロピレン基)及びBO(オキシブチレン基)の少なくとも一方であり、xはEOの平均繰り返し数を示す1~50の数であり、yはAOの平均繰り返し数を示す0~30の数である)。
【発明の効果】
【0009】
本発明では、カット野菜へのダメージを低減させつつカット野菜の一般生菌数を低減できるカット野菜製造方法およびカット野菜製造装置を提供できる。
【図面の簡単な説明】
【0010】
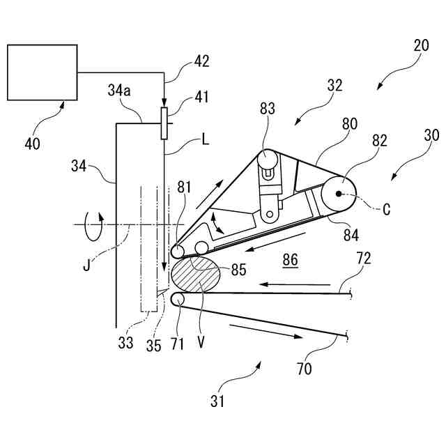
本発明の実施の形態を示す図であって、カット野菜殺菌装置20を有するカット野菜製造装置1の概略構成を模式的に示す平面図である。
カット野菜製造装置1によるカット野菜製造方法の各工程を示す図である。
カット野菜殺菌装置20の概略的な構成図である。
殺菌液の有無および種類と一般生菌数との関係を示す図である。
【発明を実施するための形態】
(【0011】以降は省略されています)
この特許をJ-PlatPat(特許庁公式サイト)で参照する
関連特許
三商株式会社
食器用洗剤組成物
2か月前
伯東株式会社
銅系配管の洗浄方法
2か月前
長谷川香料株式会社
香味付与組成物
1日前
花王株式会社
洗浄剤組成物
1か月前
花王株式会社
洗浄剤組成物
1か月前
花王株式会社
洗浄剤組成物
1か月前
花王株式会社
衣料用液体洗浄剤
2か月前
花王株式会社
衣料用液体洗浄剤
2か月前
花王株式会社
界面活性剤組成物
2か月前
花王株式会社
液体洗浄剤組成物
16日前
川研ファインケミカル株式会社
固形洗浄剤組成物
2か月前
花王株式会社
衣料用液体洗浄剤組成物
1か月前
花王株式会社
硬質表面用液体洗浄剤組成物
2か月前
小林製薬株式会社
洗浄剤組成物
1か月前
小林製薬株式会社
発泡性組成物
7日前
個人
薄形の円板状、楕円板状等に形成する薄形の固形石鹸
1か月前
小林製薬株式会社
洗浄剤組成物
1か月前
サンスター技研株式会社
離毛用水性組成物
1か月前
株式会社カネカ
油脂の製造方法
2か月前
ライオン株式会社
繊維製品用の液体洗浄剤組成物
1か月前
株式会社ニイタカ
皮膚用洗浄剤組成物
8日前
エステー株式会社
イヌ疑似臭組成物
14日前
株式会社コープクリーン
粉末洗浄剤組成物
2か月前
花王株式会社
フラックス用洗浄剤組成物
23日前
個人
お香製造方法、情報処理システム、情報処理方法、及びプログラム
1か月前
有限会社エフ・アールエム
液体洗浄剤
1か月前
株式会社ADEKA
除菌洗浄剤組成物
2か月前
ライオン株式会社
繊維製品用液体洗浄剤組成物及び繊維製品の洗浄方法
1か月前
日本珪華化学工業株式会社
家庭用洗浄剤組成物および家庭用洗浄剤組成物の製造方法
2か月前
大日本印刷株式会社
熱転写シートの洗浄方法およびリサイクル原料の製造方法
2か月前
株式会社レゾナック
洗浄組成物及び洗浄組成物の製造方法
2か月前
オルガノ株式会社
タンパク質洗浄剤およびタンパク質洗浄方法
1か月前
パネフリ工業株式会社
農業用ハウス洗浄剤とその製造方法
2か月前
ASPiA JAPAN株式会社
グリストラップから油分を回収しリサイクルする方法
2か月前
株式会社ニッスイ
低温で濁りを生じない油、及びその製造方法
1か月前
株式会社アルボース
液体洗浄剤組成物およびその液体洗浄剤組成物を用いた洗浄方法
2か月前
続きを見る
他の特許を見る