TOP
|
特許
|
意匠
|
商標
特許ウォッチ
Twitter
他の特許を見る
10個以上の画像は省略されています。
公開番号
2025179179
公報種別
公開特許公報(A)
公開日
2025-12-09
出願番号
2025146983,2024195117
出願日
2025-09-04,2021-08-06
発明の名称
多重リンクに適用可能な個別アドレス指定トラフィックインジケーション方法および関連装置
出願人
華為技術有限公司
,
HUAWEI TECHNOLOGIES CO.,LTD.
代理人
個人
,
個人
主分類
H04W
74/06 20090101AFI20251202BHJP(電気通信技術)
要約
【課題】802.11be規格をサポートする無線ローカルエリアネットワークに適用する個別アドレス指定トラフィックインジケーション方法及び装置を提供する。
【解決手段】個別アドレス指定トラフィックインジケーション方法において、第1のAP(アクセスポイント)MLD(マルチリンクデバイス)の第1のAPは、個別アドレス指定トラフィックインジケーション情報を生成しS101、送信するS102。個別アドレス指定トラフィックインジケーション情報は、第1のAP MLDと関連付けられた非AP MLDがダウンリンク個別アドレス指定トラフィックを有しているかどうか及び第2のAP MLDと関連付けられた非AP MLDがダウンリンク個別アドレス指定トラフィックを有しているかどうかを示す。第2のAP MLDは、第1のAPが置かれている多重基本サービスセット識別子(BSSID)セット内の非伝送APの属するAP MLDである。
【選択図】図6
特許請求の範囲
【請求項1】
多重リンクに適用可能な個別アドレス指定トラフィックインジケーション方法であって、
第1のアクセスポイントマルチリンクデバイスAP MLDの第1のアクセスポイントAPによって、個別アドレス指定トラフィックインジケーション情報を生成するステップであって、前記個別アドレス指定トラフィックインジケーション情報は、前記第1のAP MLDと関連付けられた非アクセスポイントマルチリンクデバイス非AP MLDがダウンリンク個別アドレス指定トラフィックを有しているかどうかと、第2のAP MLDと関連付けられた非AP MLDがダウンリンク個別アドレス指定トラフィックを有しているかどうかとを示すのに使用され、前記第2のAP MLDは、前記第1のAPが置かれている多重基本サービスセット識別子BSSIDセット内の非伝送APが属しているAP MLDである、ステップと、
前記第1のAP MLDの前記第1のAPによって、前記個別アドレス指定トラフィックインジケーション情報を第1のリンクで送信するステップであって、前記第1のリンクは前記第1のAPの動作リンクである、ステップと
を含む、個別アドレス指定トラフィックインジケーション方法。
続きを表示(約 1,900 文字)
【請求項2】
多重リンクに適用可能な個別アドレス指定トラフィックインジケーション方法であって、
非アクセスポイントマルチリンクデバイス非AP MLDの第1のステーションSTAによって、前記第1のSTAが動作する第1のリンクで個別アドレス指定トラフィックインジケーション情報を受信するステップであって、前記個別アドレス指定トラフィックインジケーション情報は、第1のAP MLDと関連付けられた非AP MLDがダウンリンク個別アドレス指定トラフィックを有しているかどうかと、第2のAP MLDと関連付けられた非AP MLDがダウンリンク個別アドレス指定トラフィックを有しているかどうかとを示すのに使用され、前記第2のAP MLDは、前記第1のAPが置かれている多重BSSIDセット内の非伝送APが属しているAP MLDである、ステップと、
前記非AP MLDの前記第1のSTAによって、前記個別アドレス指定トラフィックインジケーション情報に従って、前記非AP MLDがダウンリンク個別アドレス指定トラフィックを有しているかどうかを決定するステップと
を含む、個別アドレス指定トラフィックインジケーション方法。
【請求項3】
前記個別アドレス指定トラフィックインジケーション情報の1つのビットは、1つの関連付け識別子AIDに対応し、前記個別アドレス指定トラフィックインジケーション情報のビットは、対応するAIDによって識別される非AP MLDがダウンリンク個別アドレス指定トラフィックを有しているかどうかを示すのに使用され、前記非AP MLDは、前記第1のAP MLDと関連付けられた前記非AP MLD、または前記第2のAP MLDと関連付けられた前記非AP MLDである請求項1または2に記載の方法。
【請求項4】
前記個別アドレス指定トラフィックインジケーション情報のビットに対応する関連付け識別子AIDは、互いに異なっている請求項1乃至3のいずれか一項に記載の方法。
【請求項5】
前記個別アドレス指定トラフィックインジケーション情報は、TIM要素の部分的仮想ビットマップフィールドで搬送される請求項1乃至4のいずれか一項に記載の方法。
【請求項6】
前記個別アドレス指定トラフィックインジケーション情報は、ビーコンフレームまたはTIMフレーム内に置かれている請求項1乃至4のいずれか一項に記載の方法。
【請求項7】
前記ビーコンフレームは専用フィールドを含み、前記専用フィールドのうちの1つは、ダウンリンク個別アドレス指定トラフィックを有する1つの非AP MLDに対応するとともに、前記非AP MLDが前記ダウンリンク個別アドレス指定トラフィックを受信する1つまたは複数のリンクを示すのに使用される請求項6に記載の方法。
【請求項8】
前記第1のAP MLDと関連付けられた前記非AP MLDにAIDを割り当てるために前記第1のAP MLDによって使用されるAID空間と、前記第2のAP MLDと関連付けられた前記非AP MLDにAIDを割り当てるために前記第2のAP MLDによって使用されるAID空間とは同じである請求項1乃至7のいずれか一項に記載の方法。
【請求項9】
前記個別アドレス指定トラフィックインジケーション情報は、前記第1のAP MLDに対応するトラフィックインジケーションマップTIMブロックと、1つの第2のAP MLDに対応するTIMブロックとを含み、前記第1のAP MLDに対応するTIMブロックは、前記第1のAP MLDと関連付けられた前記非AP MLDがダウンリンク個別アドレス指定トラフィックを有しているかどうかを示すのに使用され、1つの第2のAP MLDに対応するTIMブロックは、前記第2のAP MLDと関連付けられた非AP MLDがダウンリンク個別アドレス指定トラフィックを有しているかどうかを示すのに使用される請求項1または2に記載の方法。
【請求項10】
前記個別アドレス指定トラフィックインジケーション情報は、前記第2のAP MLDのインデックスをさらに含み、前記第2のAP MLDのインデックスは、前記第2のAP MLDの対応するTIMブロックと1対1の対応関係にある請求項9に記載の方法。
(【請求項11】以降は省略されています)
発明の詳細な説明
【技術分野】
【0001】
本出願は、無線通信技術の分野に関し、詳細には、多重リンクに適用可能な個別アドレス指定トラフィックインジケーション方法および関連装置に関する。
続きを表示(約 2,900 文字)
【背景技術】
【0002】
本出願は、2020年8月7日に中国国家知的財産局に出願された「INDIVIDUALLY ADDRESSED TRAFFIC INDICATION METHOD APPLICABLE TO MULTIPLE LINKS AND RELATED APPARATUS」という名称の中国特許出願第202010791117.1号の優先権を主張し、同出願は、参照によりその全体がここに組み込まれる。
【0003】
無線ローカルエリアネットワーク(Wireless Local Area Network、WLAN)システムのサービス伝送速度を大幅に増加させるために、電気電子技術者学会(IEEE、Institute of Electrical and Electronics Engineers)802.11ax規格には、直交周波数分割多元接続(OFDMA、Orthogonal Frequency Division Multiple Access)技術が、既存の直交周波数分割多重(OFDM、Orthogonal Frequency Division Multiplexing)技術に基づいてさらに用いられている。OFDMA技術は、データを同時に送受信する際に多重ノードをサポートする。これは、マルチステーションダイバーシティ利得を達成する。
【0004】
次世代Wi-Fi規格であるIEEE 802.11beは、超高スループット(extremely high throughput、EHT)またはWi-Fi 7と呼ばれ、ピークスループットを大幅に増加させるという最も重要な技術目標を有する。IEEE 802.11be規格をサポートしている無線LANデバイスは、多重ストリーム(最大空間ストリーム数が16)によって、多重周波数帯(たとえば、2.4GHz、5GHz、および6GHzの周波数帯)によって、および同一周波数帯での多重チャネル間の協働によって、ピークスループットを高めること、およびトラフィック伝送の遅延を低減させることができる。多重周波数帯域または多重チャネルは、一括して多重リンクと呼ばれることもある。多重リンクを同時にサポートする次世代IEEE 802.11規格ステーションデバイスは、マルチリンクデバイス(multi-link device、MLD)と呼ばれることもある。
【0005】
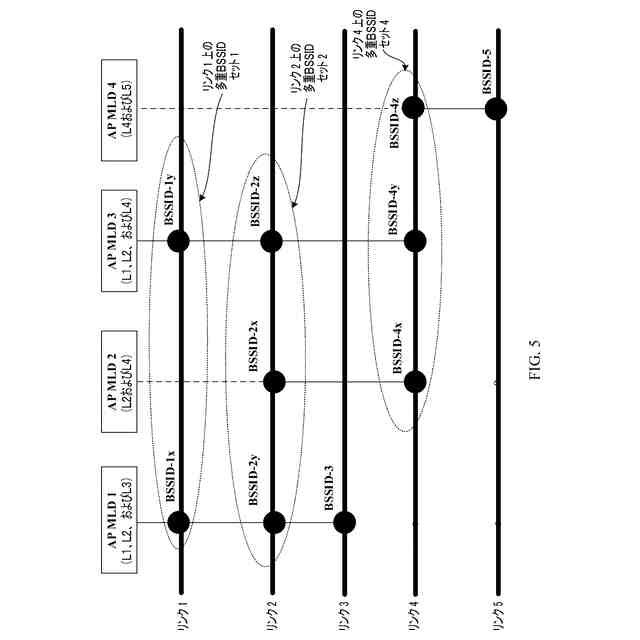
しかし、一部の専用アクセスポイントマルチリンクデバイス(たとえば、アクセスポイントマルチリンクデバイスに含まれるすべてのアクセスポイント(assess point、AP)が、その基本サービスセット識別子(Basic Service Set Identifier、BSSID)が非伝送(Non-transmitted)BSSIDであるというAP)は、アクセスポイントマルチリンクデバイスと関連付けられたステーション(station、STA)マルチリンクデバイスがダウンリンク個別アドレス指定トラフィックを有しているかどうかを示すためのビーコンフレームを送信することができない。その結果として、アクセスポイントマルチリンクデバイスと関連付けられたステーションマルチリンクデバイスは、ダウンリンク個別アドレス指定トラフィックを正しく受信することができない。このように、一部の専用アクセスポイントマルチリンクデバイス(AP MLD)に関して、ダウンリンク個別アドレス指定トラフィックインジケーションをどのように実施するかが、解決されるべき緊急課題になっている。
【発明の概要】
【0006】
本出願の実施形態は、多重リンクに適用可能な個別アドレス指定トラフィックインジケーション方法、および関連する装置を提供する。これは、一部のAP MLDの一部のAPまたはすべてのAPが、AP MLDと関連付けられたステーションマルチリンクデバイスがダウンリンク個別アドレス指定トラフィックを有しているかどうかを示す助けになって、ステーションマルチリンクデバイスがダウンリンク個別アドレス指定トラフィックを正しく受信するのを支援することができる。
【0007】
以下では、本出願を様々な態様から説明する。相互参照が、様々な態様の以下の実装および有益な効果に対して行われ得ることを理解されたい。
【0008】
第1の態様によれば、本出願は、多重リンクに適用可能な個別アドレス指定トラフィックインジケーション方法を提供する。この方法は、第1のAP MLDに適用され、第1のAPはレポートAPである。多重リンクに適用可能な個別アドレス指定トラフィックインジケーション方法は、以下を含む。すなわち、第1のAP MLDの第1のAPは、個別アドレス指定トラフィックインジケーション情報を生成し、その個別アドレス指定トラフィックインジケーション情報を第1のリンクへ送信する。個別アドレス指定トラフィックインジケーション情報は、第1のAP MLDと関連付けられた非AP MLDがダウンリンク個別アドレス指定トラフィックを有しているかどうかと、第2のAP MLDと関連付けられた非AP MLDがダウンリンク個別アドレス指定トラフィックを有しているかどうかとを示すのに使用され、この第2のAP MLDは、第1のAPが置かれている多重BSSIDセット内の非伝送APの属するAP MLDである。第1のリンクは、第1のAPの動作リンクである。
【0009】
任意選択で、レポートAPは、管理フレームを送信するAPであってよく、この管理フレームは、レポートAPの配列AP MLDセット内の複数のAPについての情報を搬送する。管理フレームは、たとえば、ビーコンフレームまたはプローブ応答フレームである。
【0010】
このソリューションにおける個別アドレス指定トラフィックインジケーション情報は、第1のAP MLDと関連付けられた非AP MLDがダウンリンク個別アドレス指定トラフィックを有しているかどうかを示すことができるだけでなく、第2のAP MLDが、第2のAP MLDと関連付けられた非AP MLDがダウンリンク個別アドレス指定トラフィックを有しているかどうかを示す助けになることもでき、この第2のAP MLDは、第1のAPが置かれている多重BSSIDセット内の非伝送APが属するAP MLDである。これにより、AP MLDの一部のAPまたはすべてのAPが、AP MLDと関連付けられた非AP MLDがダウンリンク個別アドレス指定トラフィックを有しているかどうかを示すことができないという問題を解決することができ、それにより、APと関連付けられた非AP MLDは、ダウンリンク個別アドレス指定トラフィックを正常に受信することができる。
(【0011】以降は省略されています)
この特許をJ-PlatPat(特許庁公式サイト)で参照する
関連特許
華為技術有限公司
条件付き画像圧縮
今日
華為技術有限公司
通信方法および装置
1か月前
華為技術有限公司
通信方法、機器、及びシステム
22日前
華為技術有限公司
遅延推定方法および遅延推定装置
7日前
華為技術有限公司
フィードバック指示方法及び装置
1か月前
華為技術有限公司
電力増幅回路、電力増幅器、及び送信器
1日前
華為技術有限公司
パケット拡張方法、デバイス、及び記憶媒体
1か月前
華為技術有限公司
エンコーダ、デコーダ、および、対応する方法
14日前
華為技術有限公司
センシング・セッション確立方法および通信装置
22日前
華為技術有限公司
マルチリンク通信プローブ要求の方法および装置
28日前
華為技術有限公司
マルチチャネル信号の符号化方法およびエンコーダ
22日前
華為技術有限公司
チャネル間位相差パラメータ符号化方法および装置
1か月前
華為技術有限公司
通信方法及び装置、及び、コンピュータ読み取り可能な記憶媒体
1か月前
華為技術有限公司
協調マルチアクセスポイントAP伝送のための方法および関連装置
5日前
華為技術有限公司
協調ビームフォーミングのためのプロトコルおよびフレームフォーマット
1か月前
華為技術有限公司
チャネル状態情報に基づいてフィードバックを実行するための方法、デバイス、及び媒体
1か月前
華為技術有限公司
多重リンクに適用可能な個別アドレス指定トラフィックインジケーション方法および関連装置
1日前
華為技術有限公司
サブピクチャベースのビデオコーディングにおけるサブピクチャごとの1つのスライスの指示
28日前
華為技術有限公司
ハイブリッド自動再送要求確認HARQ-ACKコードブックを決定するための方法および装置
14日前
個人
イヤーピース
1か月前
個人
イヤーマフ
1か月前
個人
監視カメラシステム
1か月前
個人
スイッチシステム
1か月前
キーコム株式会社
光伝送線路
1か月前
サクサ株式会社
中継装置
2か月前
個人
スキャン式車載用撮像装置
1か月前
WHISMR合同会社
収音装置
3か月前
サクサ株式会社
中継装置
2か月前
キヤノン株式会社
撮像装置
5日前
キヤノン株式会社
撮像装置
5日前
キヤノン株式会社
撮像装置
5日前
キヤノン株式会社
撮像装置
12日前
キヤノン株式会社
撮像装置
3か月前
アイホン株式会社
電気機器
2か月前
株式会社リコー
画像形成装置
3か月前
ヤマハ株式会社
放音制御装置
1か月前
続きを見る
他の特許を見る