TOP
|
特許
|
意匠
|
商標
特許ウォッチ
Twitter
他の特許を見る
10個以上の画像は省略されています。
公開番号
2025166033
公報種別
公開特許公報(A)
公開日
2025-11-05
出願番号
2025129260,2023521515
出願日
2025-08-01,2022-03-28
発明の名称
パケット拡張方法、デバイス、及び記憶媒体
出願人
華為技術有限公司
,
HUAWEI TECHNOLOGIES CO.,LTD.
代理人
弁理士法人ITOH
主分類
H04W
28/06 20090101AFI20251028BHJP(電気通信技術)
要約
【課題】パケット拡張のための通信方法、デバイス、記憶媒体及びコンピュータ・プログラム製品を提供する。
【解決手段】ネットワーク環境200において、通信方法は、アクセス・デバイス210が、超高スループット(EHT)動作パラメータをステーション・デバイス220、230へ送信するステップを含む。EHT動作パラメータは、パケット拡張PE期間を示すインジケータを含み、インジケータの第1の値は、PE期間が16μs又は20μsであることを示し、インジケータの第2の値は、PE期間が高効率HE動作パラメータにより指定された期間であることを示す。
【選択図】図2
特許請求の範囲
【請求項1】
通信方法であって:
アクセス・デバイスが、超高スループットEHT動作パラメータをステーション・デバイスへ送信するステップを含み、前記EHT動作パラメータは、パケット拡張PE期間を示すインジケータを含み、前記インジケータの第1の値は、前記PE期間が16μs又は20μsであることを示し、前記インジケータの第2の値は、前記PE期間が高効率HE動作パラメータにより指定された期間であることを示す、方法。
続きを表示(約 1,700 文字)
【請求項2】
請求項1に記載の方法において、前記PE期間は、トリガー応答スケジューリングTRSによりトリガーされるトリガー・ベースの物理層プロトコル・データ・ユニットTB PPDUのパケット拡張のために使用されるものである、方法。
【請求項3】
請求項1又は2に記載の方法において、前記インジケータは1ビットであり、前記第1の値は1であり、前記第2の値は0である、方法。
【請求項4】
請求項1ないし3のうちの何れか1項に記載の方法において、前記HE動作パラメータのデフォルトPE期間(Default PE Duration)サブフィールドは3ビットを含み;前記デフォルトPE期間サブフィールドの値は0ないし4である場合に、前記デフォルトPE期間サブフィールドはそれぞれ事前に設定されたPE期間0μs,4μs,8μs,12μs,及び16μsに対応し;前記デフォルトPE期間サブフィールドの値5ないし7は予約された値である、方法。
【請求項5】
請求項1ないし4のうちの何れか1項に記載の方法において、前記インジケータの前記第1の値は、前記PE期間が16μs又は20μsであることを示し、前記方法は、更に:
前記アクセス・デバイスが、第1のPPDUを前記ステーション・デバイスへ送信するステップを含み、前記第1のPPDUは指示情報を搬送し、前記指示情報は前記第1のPPDUの帯域幅情報を示し、前記指示情報は前記PE期間を決定するために使用される、方法。
【請求項6】
通信方法であって:
ステーション・デバイスが、超高スループットEHT動作パラメータをアクセス・デバイスから受信するステップであって、前記EHT動作パラメータは、パケット拡張PE期間を示すインジケータを含み、前記インジケータの第1の値は、前記PE期間が16μs又は20μsであることを示し、前記インジケータの第2の値は、前記PE期間が高効率HE動作パラメータにより指定された期間であることを示す、ステップ;及び
前記ステーション・デバイスが、前記EHT動作パラメータに基づいて前記PE期間を決定するステップ;
を含む方法。
【請求項7】
請求項6に記載の方法において、前記PE期間は、トリガー応答スケジューリングTRSによりトリガーされるトリガー・ベースの物理層プロトコル・データ・ユニットTB PPDUのパケット拡張のために使用されるものである、方法。
【請求項8】
請求項6又は7に記載の方法において、前記インジケータは1ビットであり、前記第1の値は1であり、前記第2の値は0である、方法。
【請求項9】
請求項6ないし8のうちの何れか1項に記載の方法において、前記HE動作パラメータのデフォルトPE期間(Default PE Duration)サブフィールドは3ビットを含み;前記デフォルトPE期間サブフィールドの値は0ないし4である場合に、前記デフォルトPE期間サブフィールドはそれぞれ事前に設定されたPE期間0μs,4μs,8μs,12μs,及び16μsに対応し;前記デフォルトPE期間サブフィールドの値5ないし7は予約された値である、方法。
【請求項10】
請求項6ないし9のうちの何れか1項に記載の方法において、前記インジケータの前記第1の値は、前記PE期間が16μs又は20μsであることを示し、前記方法は、更に:
前記ステーション・デバイスが、第1のPPDUを前記アクセス・デバイスから受信するステップであって、前記第1のPPDUは指示情報を搬送し、前記指示情報は前記第1のPPDUの帯域幅情報を示す、ステップ;及び
前記第1のPPDUの帯域幅が第1の閾値より大きい場合、前記ステーション・デバイスは、前記PE期間が20μsであると判断し;或いは
前記第1のPPDUの帯域幅が第1の閾値以下である場合、前記ステーション・デバイスは、前記PE期間が16μsであると判断するステップ;
を含む、方法。
(【請求項11】以降は省略されています)
発明の詳細な説明
【技術分野】
【0001】
[0001] 本件は、2021年3月30日付で中国国家知識産権局に出願された「パケット拡張方法、デバイス、及び記憶媒体」と題する中国特許出願第202110343378.1号に対する優先権を主張しており、その全体が参照により本件に援用される。
続きを表示(約 2,500 文字)
【0002】
[0002] 技術分野
本件は、通信技術の分野に関連し、より具体的には、パケット拡張のための方法、デバイス、記憶媒体、及びコンピュータ・プログラム製品に関連する。
【背景技術】
【0003】
[0003] ワイヤレス・ローカル・エリア・ネットワーク(Wireless Local Area Network,WLAN)技術は、802.11a/g、802.11n,802.11ac,及び802.11ax規格から802.11be規格へ発展している。これは、データ・スループットの絶え間ない増加とともに到来している。この観点から、802.11ax規格は、高効率(High Efficiency,HE)無線規格とも呼ばれ、802.11be規格は超高スループット(Extremely High Throughput,EHT)無線規格とも呼ばれる。
【0004】
[0004] 物理層プロトコル・データ・ユニット(PHY Protocol Data Unit,PPDU)は、WLANシステムで広く使用されているフレーム・フォーマットであり、アクセス・ポイント(AP)及び端末デバイス(STA)のようなWLANノード間のデータ伝送に使用される可能性がある。受信デバイスとして機能するノードは、PPDUに対して異なる処理機能を有する可能性がある。既存のWLANシステムでは、プレFECパディング(Pre-Forward Error Correction padding,pre-FEC padding)、ポストFECパディング(post-FEC padding)、パケット拡張(Packet Extension,PE)のような処理によって、PPDUのための追加的な処理時間が受信デバイスに提供される可能性がある。具体的には、プレFECパディング用のビットと残りの情報ビットは、例えば、PPDUのデータ・フィールドの最後のシンボル(例えば、OFDMシンボル)のサブキャリアの約1/4の倍数だけを占有し、例えば、1/4、2/4、3/4、及び全てのサブキャリアを占有する可能性がある。プレFECパディングによって占有されるサブキャリアがシンボルの全てのサブキャリアを含んでいない場合、復号化はより速いものである可能性がある。シンボル内の残りのサブキャリアは、追加の処理期間を提供するために、ポストFECパディング・ビットでパディングされる可能性がある。
【発明の概要】
【0005】
[0005] 一般に、本件の例示的な実施形態は、パケット拡張方法及び装置並びにコンピュータ読み取り可能な記憶媒体を提供する。
【0006】
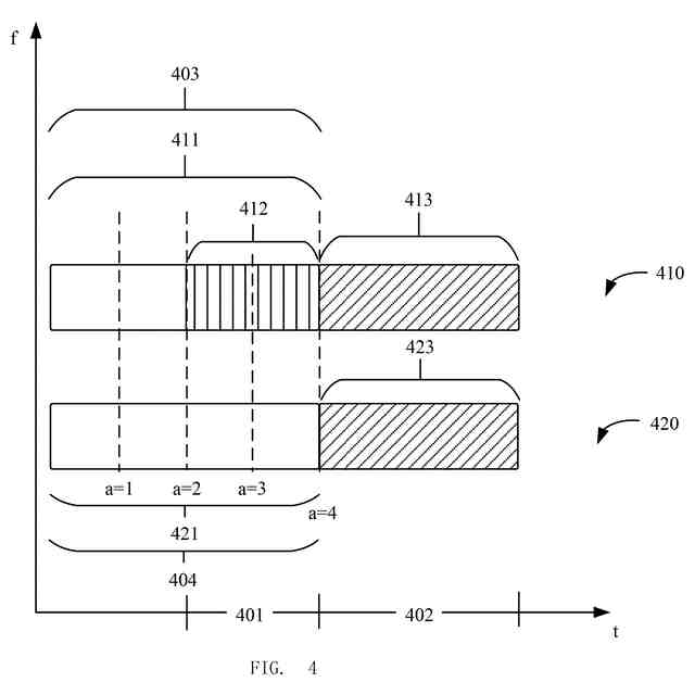
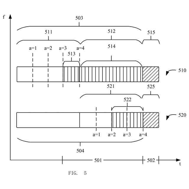
[0006] 本件の第1の態様によれば、通信方法が提供される。方法において、第1のデバイスは、第1の物理層プロトコル・データ・ユニットPPDUと第2のPPDUとを、第1のパケット拡張期間と第1のパケット拡張期間より短い第2のパケット拡張期間とに基づいて生成する。第1のパケット拡張期間は、第1のPPDUに要求される事前に設定されたパケット拡張フィールドの期間を示す。第2のパケット拡張期間は、第2のPPDUによりサポートされるパケット拡張期間を示す。第1のPPDUは第1のパディング・ビットとターゲット・パケット拡張フィールドを含む。第2のPPDUは第2のパディング・ビットとターゲット・パケット拡張フィールドを含む。ターゲット・パケット拡張フィールドは、第2のパケット拡張期間を超えない第3のパケット拡張期間に対応する。第1のパディング・ビットとターゲット・パケット拡張フィールドは、第1のパケット拡張期間より短くない期間に対応している。第1のデバイスは、第1のPPDUと第2のPPDUを含むアグリゲート物理層プロトコル・データ・ユニットA-PPDUを送信する。
【0007】
[0007] 第1の態様の第1の実装において、第1のPPDUは、マルチ・ユーザー物理層プロトコル・データ・ユニット(Multi-User PHY Protocol Data Unit,MU PPDU)である。第1のパディング・ビットは、第1のプレ・フォワード誤り訂正パディング因子に基づいて決定される。第2のパディング・ビットは、第2のプレ・フォワード誤り訂正パディング因子に基づいて決定される。第1のプレ・フォワード誤り訂正パディング因子は、第1のPPDUのデータ・フィールドの第1のシンボルにおける第1のパディング・ビットの少なくとも一部分の割合を示す。第2のプレ・フォワード誤り訂正パディング因子は、第2のPPDUのデータ・フィールドの第2のシンボルにおける第2のパディング・ビットの割合を示す。
【0008】
[0008] 第1の態様の第2の実装において、第1のシンボルは第1のPPDUのデータ・フィールドの最後のシンボルであり、第2のシンボルは第2のPPDUのデータ・フィールドの最後のシンボルである。
【0009】
[0009] 第1の態様の第3の実装において、第3のパケット拡張期間と第1のプレ・フォワード誤り訂正パディング因子は、以下のケース:第3のパケット拡張期間は16μsであり、第1のプレ・フォワード誤り訂正パディング因子の値は1,2,及び3のうちの1つであること;第3のパケット拡張期間は12μsであり、第1のプレ・フォワード誤り訂正パディング因子の値は1及び2のうちの1つであること;又は第3のパケット拡張期間が8μsであり、第1のプレ・フォワード誤り訂正パディング因子の値は1であること;のうちの1つとして構成されていてもよい。
【0010】
[0010] 第1の態様の第4の実装において、第2のプレ・フォワード誤り訂正パディング因子の値は1,2,3,及び4のうちの1つである。
(【0011】以降は省略されています)
この特許をJ-PlatPat(特許庁公式サイト)で参照する
関連特許
華為技術有限公司
条件付き画像圧縮
今日
華為技術有限公司
通信方法、機器、及びシステム
22日前
華為技術有限公司
遅延推定方法および遅延推定装置
7日前
華為技術有限公司
電力増幅回路、電力増幅器、及び送信器
1日前
華為技術有限公司
パケット拡張方法、デバイス、及び記憶媒体
1か月前
華為技術有限公司
エンコーダ、デコーダ、および、対応する方法
14日前
華為技術有限公司
センシング・セッション確立方法および通信装置
22日前
華為技術有限公司
マルチリンク通信プローブ要求の方法および装置
28日前
華為技術有限公司
マルチチャネル信号の符号化方法およびエンコーダ
22日前
華為技術有限公司
チャネル間位相差パラメータ符号化方法および装置
1か月前
華為技術有限公司
協調マルチアクセスポイントAP伝送のための方法および関連装置
5日前
華為技術有限公司
チャネル状態情報に基づいてフィードバックを実行するための方法、デバイス、及び媒体
1か月前
華為技術有限公司
多重リンクに適用可能な個別アドレス指定トラフィックインジケーション方法および関連装置
1日前
華為技術有限公司
サブピクチャベースのビデオコーディングにおけるサブピクチャごとの1つのスライスの指示
28日前
華為技術有限公司
ハイブリッド自動再送要求確認HARQ-ACKコードブックを決定するための方法および装置
14日前
個人
イヤーピース
1か月前
個人
イヤーマフ
1か月前
個人
監視カメラシステム
1か月前
キーコム株式会社
光伝送線路
1か月前
個人
スイッチシステム
1か月前
個人
スキャン式車載用撮像装置
1か月前
WHISMR合同会社
収音装置
3か月前
サクサ株式会社
中継装置
2か月前
サクサ株式会社
中継装置
2か月前
キヤノン株式会社
撮像装置
5日前
キヤノン株式会社
撮像装置
5日前
アイホン株式会社
電気機器
2か月前
キヤノン株式会社
撮像装置
12日前
キヤノン株式会社
撮像装置
5日前
個人
ワイヤレスイヤホン対応耳掛け
2か月前
キヤノン電子株式会社
画像読取装置
3か月前
サクサ株式会社
無線通信装置
2か月前
サクサ株式会社
無線通信装置
2か月前
株式会社リコー
画像形成装置
1か月前
キヤノン電子株式会社
画像読取装置
1か月前
個人
映像表示装置、及びARグラス
1か月前
続きを見る
他の特許を見る