TOP
|
特許
|
意匠
|
商標
特許ウォッチ
Twitter
他の特許を見る
10個以上の画像は省略されています。
公開番号
2025178245
公報種別
公開特許公報(A)
公開日
2025-12-05
出願番号
2025135177,2024024589
出願日
2025-08-14,2018-09-25
発明の名称
協調マルチアクセスポイントAP伝送のための方法および関連装置
出願人
華為技術有限公司
,
HUAWEI TECHNOLOGIES CO.,LTD.
代理人
個人
,
個人
主分類
H04W
28/16 20090101AFI20251128BHJP(電気通信技術)
要約
【課題】CSIを取得するために比較的多数のチャネルリソースが占有されるという先行技術の問題を解決するために、協調マルチアクセスポイントAP伝送のための方法および関連装置を提供する。
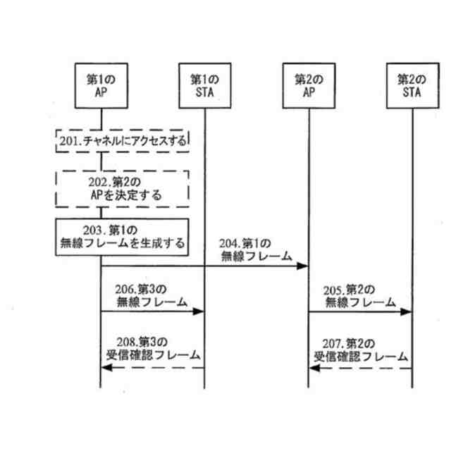
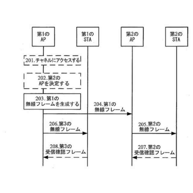
【解決手段】本出願の実施形態は、マルチアクセスポイントAP協調のための方法および関連装置を開示する。本出願の実施形態における方法は、第1のアクセスポイントAPが、第1の無線フレームを生成するステップであって、第1の無線フレームが、第2のアクセスポイントAPによって送信される第2の無線フレームの伝送時間を指示するために使用される指示情報を含む、ステップと、第1のアクセスポイントAPが、第2のアクセスポイントAPに第1の無線フレームを送信するステップと、第2の無線フレームの送信期間において、第1のアクセスポイントAPが、第1のアクセスポイントAPと関連付けられた第1の局STAに第3の無線フレームを送信するステップと、を含む。
【選択図】図2a
特許請求の範囲
【請求項1】
協調マルチアクセスポイントAP伝送のための方法であって、
第1のアクセスポイントAPが、第1の無線フレームを生成するステップであって、前記第1の無線フレームが、第2のアクセスポイントAPによって送信される第2の無線フレームの伝送時間を指示するために使用される指示情報を含む、ステップと、
前記第1のアクセスポイントAPが、前記第2のアクセスポイントAPに前記第1の無線フレームを送信するステップと、
前記第2の無線フレームの送信期間において、前記第1のアクセスポイントAPが、前記第1のアクセスポイントAPと関連付けられた第1の局STAに第3の無線フレームを送信するステップと
を含む、方法。
続きを表示(約 1,000 文字)
【請求項2】
前記指示情報が、前記第2の無線フレームの送信時刻および終了時刻を含む、請求項1に記載の方法。
【請求項3】
前記第3の無線フレームの送信時刻が前記第2の無線フレームの前記送信時刻と同じである、請求項1または2に記載の方法。
【請求項4】
前記第3の無線フレームの送信時刻が前記第2の無線フレームの送信時刻の前である、請求項1または2に記載の方法。
【請求項5】
前記指示情報が前記第2のアクセスポイントAPの識別子情報を含む、請求項1から4のいずれか一項に記載の方法。
【請求項6】
前記第1の無線フレームが、
前記第2のアクセスポイントAPの送信電力情報、前記第1のアクセスポイントAPの最大許容干渉閾値に関する情報、前記第1の局STAの識別子情報、前記第1の局STAの送信電力情報、および前記第1のアクセスポイントAPの送信電力情報
のうちの1つまたは複数をさらに搬送する、請求項1から5のいずれか一項に記載の方法。
【請求項7】
前記第3の無線フレームの伝送時間が前記第2の無線フレームの前記伝送時間と同じである、請求項1から6のいずれか一項に記載の方法。
【請求項8】
協調マルチアクセスポイントAP伝送のための方法であって、
第2のアクセスポイントAPが、第1のアクセスポイントAPによって送信された第1の無線フレームを受信するステップであって、前記第1の無線フレームが、第2の無線フレームの伝送時間を指示するために使用される指示情報を含む、ステップと、
前記第1のアクセスポイントAPが前記第1のアクセスポイントAPと関連付けられた第1の局STAに第3の無線フレームを送信する送信期間において、前記第2のアクセスポイントAPが、前記第2のアクセスポイントAPと関連付けられた第2の局STAに前記第2の無線フレームを送信するステップと
を含む、方法。
【請求項9】
前記指示情報が、前記第2の無線フレームの送信時刻および終了時刻を含む、請求項8に記載の方法。
【請求項10】
前記第2の無線フレームの前記送信時刻が前記第3の無線フレームの送信時刻と同じである、請求項8または9に記載の方法。
(【請求項11】以降は省略されています)
発明の詳細な説明
【技術分野】
【0001】
本出願は、参照によりその全体が本明細書に組み入れられる、2018年2月8日に中国特許庁に出願された、「METHOD FOR COORDINATED MULTI-ACCESS POINT AP TRANSMISSION AND RELATED APPARATUS」という名称の中国特許出願第201810133190.2号の優先権を主張するものである。
続きを表示(約 2,300 文字)
【0002】
本出願は、通信分野に関し、特に、協調マルチアクセスポイントAP伝送のための方法および関連装置に関する。
【背景技術】
【0003】
無線ネットワークの発展および無線ローカルエリアネットワーク(wireless local area network、WLAN)技術の漸進的な普及と共に、WLAN機器の密度がますます高くなっている。無線アクセスポイント(access point、AP)は簡単に配置できるので、APの密度が高くなるとセル間干渉も増加する。どのようにしてAP間の協調を通じてセル間干渉を低減し、ユーザのサービス品質を向上させるかも、次世代Wi-Fi技術で考慮される必要がある問題になる。
【0004】
先行技術では、協調ビームフォーミング(coordinated beamforming、co-BF)技術を使用することにより、セル間干渉が低減され得る。co-BF技術に基づき、実効チャネル間の比較的低い相関が維持されることができる。例えば、図1aは、先行技術におけるco-BF技術の概略図の一例である。この図では、AP1が局(station、STA)1と関連付けられており、AP2がSTA2と関連付けられている。AP1がSTA1とデータを伝送し、AP2がSTA2とデータを伝送する前に、AP1は、AP1とSTA1との間の下りチャネルのチャネル状態情報(channel state information、CSI)を取得し、CSIに基づくジョイントビームフォーミングを行って、STA1にビームが発射されるときに、STA2への干渉を回避するように、STA2の方向が迂回されるようにする必要がある。加えて、同じことがAP2でも当てはまる。したがって、co-BFが使用されるシナリオでは、2つのAPの同時伝送が実施されることができ、2つのAPの伝送間の干渉が回避されることができ、全体のスループットが効果的に増大されることができる。
【0005】
しかしながら、CSI取得プロセスは比較的複雑であり、若干のチャネルリソースを占有する。比較的多数のユーザが存在し、チャネル変化が高速である場合、CSIフィードバックにより高いオーバーヘッドが課せられる。
【発明の概要】
【0006】
本出願の実施形態は、CSIを取得するために比較的多数のチャネルリソースが占有されるという先行技術の問題を解決するために、協調マルチアクセスポイントAP伝送のための方法および関連装置を提供する。
【課題を解決するための手段】
【0007】
本出願の実施形態の第1の態様は、協調マルチアクセスポイントAP伝送のための方法を提供し、本方法は、第1のアクセスポイントAPが、第1の無線フレームを生成するステップであって、第1の無線フレームが指示情報を含み、指示情報が第2のアクセスポイントAPによって第2の無線フレームの伝送時間を指示するために使用される、ステップと、第1のアクセスポイントAPが、第1の無線フレームを生成した後で、第2のアクセスポイントAPに第1の無線フレームを送信するステップと、第2の無線フレームの送信期間において、第1のアクセスポイントAPが、第1のアクセスポイントAPと関連付けられた第1の局STAに第3の無線フレームを送信するステップと、を含む。本出願の本実施形態では、第1のアクセスポイントAPが第2のアクセスポイントAPに第1の無線フレームを送信するので、少なくとも1つの第2のアクセスポイントAPが、第1の無線フレームに基づいて第2の局STAに同じ伝送時間で第2の無線フレームを同時に送信し得る。制御情報を送信することによって複数のアクセスポイントAPが同期され、それによって、CSIを取得するために比較的多数のチャネルリソースが占有されるという先行技術の問題を解決する。
【0008】
1つの可能な実施態様では、指示情報は、第2の無線フレームの送信時刻および終了時刻を含む。この実施態様では、第1のアクセスポイントAPが第2のアクセスポイントAPに第2の無線フレームの送信時刻および終了時刻を指示するので、第2のアクセスポイントAPはこの指示によって第2の無線フレームの伝送時間を決定することができる。
【0009】
1つの可能な実施態様では、第3の無線フレームの送信時刻は第2の無線フレームの送信時刻と同じである。この実施態様では、第3の無線フレームと第2の無線フレームとが同じ送信時刻に送信され、それによって、第1のアクセスポイントAPと第2のアクセスポイントAPとの間の干渉を低減する。
【0010】
1つの可能な実施態様では、第3の無線フレームの送信時刻は第2の無線フレームの送信時刻の前である。この実施態様では、第3の無線フレームの送信時刻が第2の無線フレームの送信時刻より前であってもよく、第1の局STAおよび第2の局STAについて、第2の無線フレームおよび第3の無線フレームにおける終了時刻が遅い方の無線フレームの伝送が終了した後に、第1の局STAは、第3の無線フレームに応答して受信確認フレームをさらに送信してもよく、第2の局STAは、第2の無線フレームに応答して受信確認フレームをさらに送信してもよく、それによって、あるアクセスポイントAPが送信を行う間に別のアクセスポイントAPが受信を行う事例を回避し、第1のAPと第2のAPとの間の干渉の値を低減する。
(【0011】以降は省略されています)
この特許をJ-PlatPat(特許庁公式サイト)で参照する
関連特許
個人
イヤーピース
1か月前
個人
イヤーマフ
1か月前
個人
監視カメラシステム
1か月前
個人
スイッチシステム
1か月前
キーコム株式会社
光伝送線路
1か月前
サクサ株式会社
中継装置
2か月前
個人
スキャン式車載用撮像装置
1か月前
サクサ株式会社
中継装置
2か月前
キヤノン株式会社
撮像装置
4日前
キヤノン株式会社
撮像装置
4日前
キヤノン株式会社
撮像装置
11日前
キヤノン株式会社
撮像装置
4日前
キヤノン電子株式会社
画像読取装置
1か月前
ヤマハ株式会社
放音制御装置
1か月前
サクサ株式会社
無線システム
2か月前
個人
映像表示装置、及びARグラス
1か月前
株式会社リコー
画像形成装置
1か月前
キヤノン電子株式会社
画像読取装置
1か月前
サクサ株式会社
無線通信装置
2か月前
サクサ株式会社
無線通信装置
2か月前
キヤノン電子株式会社
画像読取装置
1か月前
キヤノン株式会社
画像処理装置
1か月前
キヤノン電子株式会社
シート搬送装置
1か月前
個人
発信機及び発信方法
2か月前
キヤノン株式会社
情報処理装置
19日前
日本電気株式会社
海底分岐装置
1か月前
株式会社NTTドコモ
端末
1か月前
日本セラミック株式会社
超音波送受信器
19日前
シャープ株式会社
端末装置
1か月前
沖電気工業株式会社
画像形成装置
2か月前
株式会社JVCケンウッド
通信システム
2か月前
有限会社フィデリックス
マイクロフォン
2か月前
シャープ株式会社
表示装置
1か月前
キヤノン電子株式会社
画像処理システム
1か月前
株式会社NTTドコモ
端末
1か月前
シャープ株式会社
表示装置
1か月前
続きを見る
他の特許を見る