TOP
|
特許
|
意匠
|
商標
特許ウォッチ
Twitter
他の特許を見る
10個以上の画像は省略されています。
公開番号
2025179169
公報種別
公開特許公報(A)
公開日
2025-12-09
出願番号
2025146498,2024519446
出願日
2025-09-03,2022-09-19
発明の名称
電力増幅回路、電力増幅器、及び送信器
出願人
華為技術有限公司
,
HUAWEI TECHNOLOGIES CO.,LTD.
代理人
弁理士法人ITOH
主分類
H03F
1/32 20060101AFI20251202BHJP(基本電子回路)
要約
【課題】高線形性電力増幅回路を提供するような電力増幅回路、電力増幅器及び送信器を提供する。
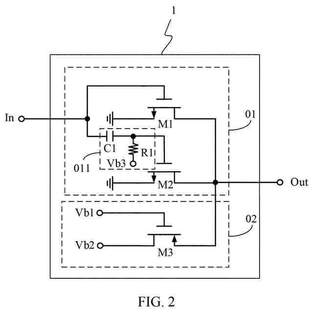
【解決手段】電力増幅回路1は、電力増幅ユニット01及び補償ユニット02を含み、電力増幅ユニットは、第1MOS電界効果トランジスタM1を含み、補償ユニットは、第3MOS電界効果トランジスタM3を含み、第3MOS電界効果トランジスタのゲート電極は、第1バイアス電圧端Vb1に接続され、第3MOS電界効果トランジスタのソース電極は、第1MOS電界効果トランジスタのドレイン電極に接続され、第3MOS電界効果トランジスタの導電型は、第1MOS電界効果トランジスタの導電型と逆である。
【選択図】図1
特許請求の範囲
【請求項1】
電力増幅器であって、
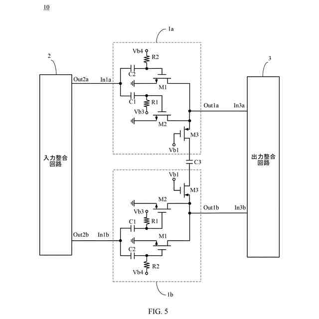
入力整合回路、出力整合回路、第1電力増幅回路及び第2電力増幅回路を有し、
前記第1電力増幅回路は、当該第1電力増幅回路の電力増幅ユニット及び当該第1電力増幅回路の補償ユニットを有し、
前記第1電力増幅回路の前記電力増幅ユニットは、当該第1電力増幅回路において第1MOS電界効果トランジスタを有し、当該第1電力増幅回路の前記第1MOS電界効果トランジスタのゲート電極は当該第1電力増幅回路の入力信号端に接続され、当該第1電力増幅回路の前記第1MOS電界効果トランジスタのドレイン電極は当該第1電力増幅回路の出力信号端に接続され、当該第1電力増幅回路の前記第1MOS電界効果トランジスタのソース電極は接地され、
前記第1電力増幅回路の前記補償ユニットは、当該第1電力増幅回路において第3MOS電界効果トランジスタを有し、当該第1電力増幅回路の前記第3MOS電界効果トランジスタのゲート電極は当該第1電力増幅回路の第1バイアス電圧端に接続され、当該第1電力増幅回路の前記第3MOS電界効果トランジスタのソース電極は当該第1電力増幅回路の前記出力信号端に接続され、
前記第1電力増幅回路の前記第1MOS電界効果トランジスタはN型MOS電界効果トランジスタであり、かつ前記第1電力増幅回路の前記第3MOS電界効果トランジスタはP型MOS電界効果トランジスタであり、あるいは、前記第1電力増幅回路の前記第1MOS電界効果トランジスタはP型MOS電界効果トランジスタであり、かつ前記第1電力増幅回路の前記第3MOS電界効果トランジスタはN型MOS電界効果トランジスタであり、
前記第2電力増幅回路は、当該第2電力増幅回路の電力増幅ユニット及び当該第2電力増幅回路の補償ユニットを有し、
前記第2電力増幅回路の前記電力増幅ユニットは、当該第2電力増幅回路において第1MOS電界効果トランジスタを有し、当該第2電力増幅回路の前記第1MOS電界効果トランジスタのゲート電極は当該第2電力増幅回路の入力信号端に接続され、当該第2電力増幅回路の前記第1MOS電界効果トランジスタのドレイン電極は当該第2電力増幅回路の出力信号端に接続され、当該第2電力増幅回路の前記第1MOS電界効果トランジスタのソース電極は接地され、
前記第2電力増幅回路の前記補償ユニットは、当該第2電力増幅回路において第3MOS電界効果トランジスタを有し、当該第2電力増幅回路の前記第3MOS電界効果トランジスタのゲート電極は当該第2電力増幅回路の第1バイアス電圧端に接続され、当該第2電力増幅回路の前記第3MOS電界効果トランジスタのソース電極は当該第2電力増幅回路の前記出力信号端に接続され、
前記第2電力増幅回路の前記第1MOS電界効果トランジスタはN型MOS電界効果トランジスタであり、かつ前記第2電力増幅回路の前記第3MOS電界効果トランジスタはP型MOS電界効果トランジスタであり、あるいは、前記第2電力増幅回路の前記第1MOS電界効果トランジスタはP型MOS電界効果トランジスタであり、かつ前記第2電力増幅回路の前記第3MOS電界効果トランジスタはN型MOS電界効果トランジスタであり、
前記電力増幅器は第3キャパシタを更に有し、前記第3キャパシタの第1端は、前記第1電力増幅回路の前記第3MOS電界効果トランジスタのドレイン電極に接続され、前記第3キャパシタの第2端は、前記第2電力増幅回路の前記第3MOS電界効果トランジスタのドレイン電極に接続され、
前記入力整合回路の出力信号端は、前記第1電力増幅回路の入力信号端及び前記第2電力増幅回路の入力信号端に別々に接続され、前記出力整合回路の入力信号端は、前記第1電力増幅回路の出力信号端及び前記第2電力増幅回路の出力信号端に別々に接続される、
電力増幅器。
続きを表示(約 2,700 文字)
【請求項2】
第1バイアス電圧端は接地される、
請求項1に記載の電力増幅器。
【請求項3】
前記電力増幅器は、第4キャパシタ及び第5キャパシタを更に有し、
前記第4キャパシタは、前記第1電力増幅回路の出力信号端と前記第2電力増幅回路の入力信号端との間に接続され、
前記第5キャパシタは、前記第2電力増幅回路の出力信号端と前記第1電力増幅回路の入力信号端との間に接続される、
請求項1に記載の電力増幅器。
【請求項4】
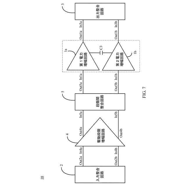
駆動段階増幅回路及び段階間整合回路を更に有し、
前記駆動段階増幅回路は、前記第1電力増幅回路及び前記第2電力増幅回路の出力ゲインを補償するよう構成され、
前記駆動段階増幅回路の入力信号端は前記入力整合回路の出力信号端に接続され、前記駆動段階増幅回路の出力信号端は前記段階間整合回路の入力信号端に接続され、
前記段階間整合回路の出力信号端は、前記第1電力増幅回路の入力信号端及び前記第2電力増幅回路の入力信号端に別々に接続される、
請求項1に記載の電力増幅器。
【請求項5】
前記駆動段階増幅回路は、第4MOS電界効果トランジスタ、第5MOS電界効果トランジスタ、第6MOS電界効果トランジスタ、第7MOS電界効果トランジスタ、第3抵抗、第4抵抗、第6キャパシタ、及び第7キャパシタを有し、
前記第4MOS電界効果トランジスタのゲート電極は電源電圧端に接続され、前記第4MOS電界効果トランジスタのドレイン電極は前記駆動段階増幅回路の第1出力信号端に接続され、前記第4MOS電界効果トランジスタのソース電極は前記第5MOS電界効果トランジスタのドレイン電極に接続され、
前記第5MOS電界効果トランジスタのゲート電極は前記第6キャパシタの第1端に接続され、前記第5MOS電界効果トランジスタのソース電極は接地され、前記第6キャパシタの第2端は前記駆動段階増幅回路の第1入力信号端に接続され、
前記第6MOS電界効果トランジスタのゲート電極は前記電源電圧端に接続され、前記第6MOS電界効果トランジスタのドレイン電極は前記駆動段階増幅回路の第2出力信号端に接続され、前記第6MOS電界効果トランジスタのソース電極は前記第7MOS電界効果トランジスタのドレイン電極に接続され、
前記第7MOS電界効果トランジスタのゲート電極は前記第7キャパシタの第1端に接続され、前記第7MOS電界効果トランジスタのソース電極は接地され、前記第7キャパシタの第2端は前記駆動段階増幅回路の第2入力信号端に接続され、
前記第3抵抗は、前記第5MOS電界効果トランジスタのゲート電極と第5バイアス電圧端との間に接続され、前記第4抵抗は、前記第7MOS電界効果トランジスタのゲート電極と前記第5バイアス電圧端との間に接続される、
請求項4に記載の電力増幅器。
【請求項6】
前記駆動段階増幅回路は、第8キャパシタ及び第9キャパシタを更に有し、
前記第8キャパシタは、前記第4MOS電界効果トランジスタのソース電極と前記第7MOS電界効果トランジスタのゲート電極との間に接続され、
前記第9キャパシタは、前記第6MOS電界効果トランジスタのソース電極と前記第5MOS電界効果トランジスタのゲート電極との間に接続される、
請求項5に記載の電力増幅器。
【請求項7】
前記第1電力増幅回路の前記電力増幅ユニット及び前記第2電力増幅回路の前記電力増幅ユニットの夫々は、第2MOS電界効果トランジスタ及び第1バイアスサブ回路を更に含み、
前記第2MOS電界効果トランジスタのゲート電極は、前記第1バイアスサブ回路を介して前記第1電力増幅回路又は前記第2電力増幅回路のうち対応する一方の電力増幅回路の前記入力信号端に接続され、前記第2MOS電界効果トランジスタのドレイン電極は前記対応する一方の電力増幅回路の前記出力信号端に接続され、前記第2MOS電界効果トランジスタのソース電極は接地され、
前記第1バイアスサブ回路は、前記第2MOS電界効果トランジスタのゲートバイアス電圧を制御するよう構成され、
前記第1MOS電界効果トランジスタの直流動作点はクラスCにバイアスされ、かつ前記第2MOS電界効果トランジスタの直流動作点はクラスABにバイアスされ、あるいは、前記第1MOS電界効果トランジスタの直流動作点はクラスABにバイアスされ、かつ前記第2MOS電界効果トランジスタの直流動作点はクラスCにバイアスされる、
請求項1に記載の電力増幅器。
【請求項8】
前記第1バイアスサブ回路は、第1キャパシタ及び第1抵抗を含み、
前記第1キャパシタの第1端は前記対応する一方の電力増幅回路の前記入力信号端に接続され、前記第1キャパシタの第2端は前記第2MOS電界効果トランジスタのゲート電極に接続され、
前記第1抵抗の第1端は前記第2MOS電界効果トランジスタのゲート電極に接続され、前記第1抵抗の第2端は第3バイアス電圧端に接続される、
請求項7に記載の電力増幅器。
【請求項9】
前記第1電力増幅回路の前記電力増幅ユニット及び前記第2電力増幅回路の前記電力増幅ユニットの夫々は、前記第1電力増幅回路又は前記第2電力増幅回路のうち対応する一方の電力増幅回路の前記入力信号端と前記第1MOS電界効果トランジスタのゲート電極との間に接続されている第2バイアスサブ回路を更に含み、
前記第2バイアスサブ回路は、前記第1MOS電界効果トランジスタのゲートバイアス電圧を制御するよう構成される、
請求項2に記載の電力増幅器。
【請求項10】
前記第2バイアスサブ回路は、第2キャパシタ及び第2抵抗を含み、
前記第2キャパシタの第1端は前記対応する一方の電力増幅回路の前記入力信号端に接続され、前記第2キャパシタの第2端は前記第1MOS電界効果トランジスタのゲート電極に接続され、
前記第2抵抗の第1端は前記第1MOS電界効果トランジスタのゲート電極に接続され、前記第2抵抗の第2端は第4バイアス電圧端に接続される、
請求項9に記載の電力増幅器。
(【請求項11】以降は省略されています)
発明の詳細な説明
【技術分野】
【0001】
本願は、電子テクノロジの分野に、特に、電力増幅回路、電力増幅器、及び送信器に関係がある。
続きを表示(約 2,900 文字)
【背景技術】
【0002】
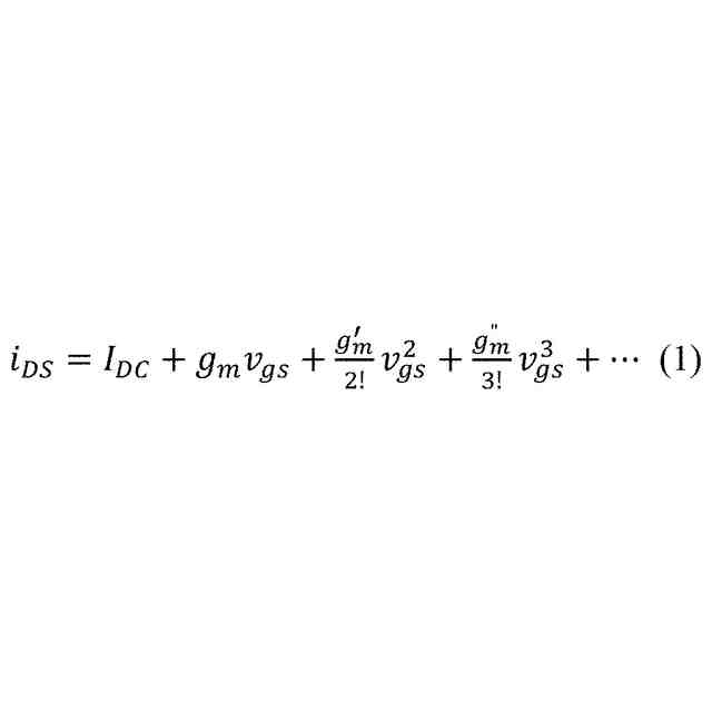
相補型金属酸化膜半導体(Complementary Metal Oxide Semiconductor,CMOS)は、主流の半導体テクノロジとして、一般的な通信ベースバンド及びアナログトランシーバなどの様々なデジタル/アナログ信号処理チップの実施に広く使用されている。電力増幅器(Power Amplifier,PA)は送信器の最終段モジュールとなる。CMOSテクノロジに基づいて開発されたPAは、Bluetooth、Zigbee、及びNB-IoTなどの狭帯域低電力シナリオで主に使用され、初期のWi-Fiシステムでも使用されることがある。しかし、変調信号の直交振幅変調(Quadrature Amplitude Modulation,QAM)次数の増加とともに、信号のロスレス伝送を確かにするために、通信リンクの信号対雑音比に対する要求もそれに応じて高まっている。従って、高次QAM信号の送信は、より高い線形性、例えば、より低い振幅変調-振幅変調(Amplitude Modulation-Amplitude Modulation,AM-AM)歪み及びより低い振幅変調-位相変調(Amplitude Modulation-Phase Modulation)歪みを有することをPAに要求する。従って、高帯域幅及び高次QAM信号の伝送を満足するために高線形性PAを如何に設計するかは、当業者によって至急解決される必要がある技術的課題である。
【発明の概要】
【0003】
本願は、高線形性電力増幅回路を提供するように電力増幅回路、電力増幅器、及び送信器を提供する。
【0004】
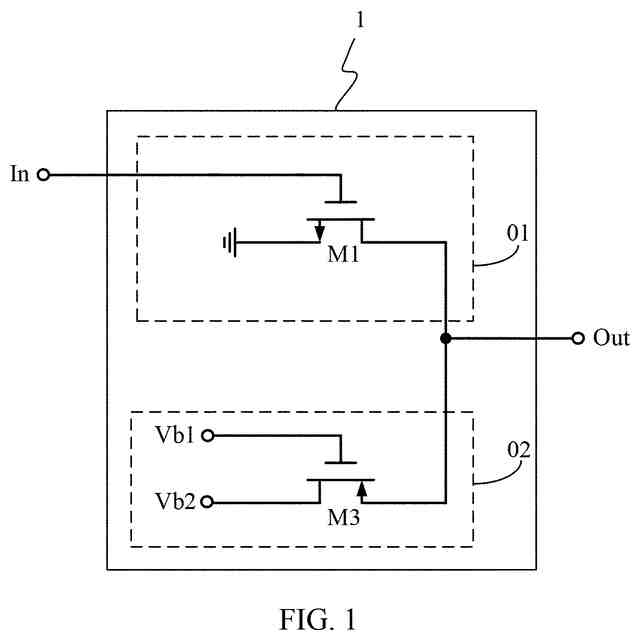
第1の態様に従って、本願の実施形態は、電力増幅ユニット及び補償ユニットを含む電力増幅回路を提供し、電力増幅ユニットは第1MOS電界効果トランジスタを含んでもよく、第1MOS電界効果トランジスタのゲート電極は電力増幅回路の入力信号端に接続され、第1MOS電界効果トランジスタのドレイン電極は電力増幅回路の出力信号端に接続され、第1MOS電界効果トランジスタのソース電極は接地される。補償ユニットは第3MOS電界効果トランジスタを含んでよく、第3MOS電界効果トランジスタのゲート電極は第1バイアス電圧端に接続され、第3MOS電界効果トランジスタのソース電極は電力増幅回路の出力信号端に接続され、第3MOS電界効果トランジスタのドレイン電極は第2バイアス電圧端に接続される。第1MOS電界効果トランジスタはN型MOS電界効果トランジスタであり、かつ第3MOS電界効果トランジスタはP型MOS電界効果トランジスタであり、あるいは、第1MOS電界効果トランジスタはP型MOS電界効果トランジスタであり、かつ第3MOS電界効果トランジスタはN型MOS電界効果トランジスタである。
【0005】
本願のこの実施形態で提供される電力増幅回路に従って、第3MOS電界効果トランジスタのソース電極は第1MOS電界効果トランジスタのドレイン電極に接続され、第3MOS電界効果トランジスタの導電型は第1MOS電界効果トランジスタM1の導電型と逆である。従って、入力電圧による第3MOS電界効果トランジスタのゲート-ソース間キャパシタCgsの変化傾向は、入力電圧による第1MOS電界効果トランジスタのゲート-ドレイン間キャパシタCgdの変化傾向と逆であり、第1MOS電界効果トランジスタのゲート-ドレイン間キャパシタは基本的に補償後の入力電圧により変化しないので、AM-PMは補償され、電力増幅回路の線形性は改善される。更に、電力増幅回路の設計は単純である。
【0006】
実施形態で、第1バイアス電圧端の電圧は0からVddの間にセットされ得、Vddは電源電圧であり、第2バイアス電圧端は仮想接地にセットされ得、つまり、第2バイアス電圧端はキャパシタを介して接地される。
【0007】
例えば、電力増幅回路では、電力増幅ユニットは、第2MOS電界効果トランジスタ及び第1バイアスサブ回路を更に含んでもよい。第2MOS電界効果トランジスタのゲート電極は、第1バイアスサブ回路を介して電力増幅回路の入力信号端に接続され、第2MOS電界効果トランジスタのドレイン電極は電力増幅回路の出力信号端に接続され、第2MOS電界効果トランジスタのソース電極は接地される。第1バイアスサブ回路は、第2MOS電界効果トランジスタのゲートバイアス電圧を制御するよう構成される。第1MOS電界効果トランジスタの直流動作点はクラスCにバイアスされ、かつ第2MOS電界効果トランジスタの直流動作点はクラスABにバイアスされ、あるいは、第1MOS電界効果トランジスタの直流動作点はクラスABにバイアスされ、かつ第2MOS電界効果トランジスタの直流動作点はクラスCにバイアスされる。
【0008】
第1MOS電界効果トランジスタ及び第2MOS電界効果トランジスタは同じ導電型を有し、つまり、第1MOS電界効果トランジスタ及び第2MOS電界効果トランジスタは両方とも、N型MOS電界効果トランジスタ又はP型MOS電界効果トランジスタである。
【0009】
本願では、マルチゲートトランジスタ技術を使用することによって組み合わされる第1MOS電界効果トランジスタ及び第2MOS電界効果トランジスタが電力増幅ユニットに使用される。一方のMOS電界効果トランジスタの直流動作点はクラスABにバイアスされ、それにより、そのMOS電界効果トランジスタの相互コンダクタンスgmの三次非線形gm”は負になり、他方のMOS電界効果トランジスタの直流動作点はクラスCにバイアスされ、それにより、その他方のMOS電界効果トランジスタの相互コンダクタンスgmの三次非線形gm”は正になる。このようにして、2つのMOS電界効果トランジスタの相互コンダクタンスgmの三次非線形gm”は反対に作用することになり、電力増幅回路のAM-AMは補償され、電力増幅回路のP1dB圧縮ポイントは改善される。
【0010】
例えば、第1バイアスサブ回路は、第1キャパシタ及び第1抵抗を含んでもよい。第1キャパシタの第1端は電力増幅回路の入力信号端に接続され、第1キャパシタの第2端は第2MOS電界効果トランジスタのゲート電極に接続される。第1抵抗の第1端は第2MOS電界効果トランジスタのゲート電極に接続され、第1抵抗の第2端は第3バイアス電圧端に接続される。従って、第1抵抗は、第2MOS電界効果トランジスタのゲートバイアス電圧を制御するために使用され、第1キャパシタは、第2MOS電界効果トランジスタのゲート電極から第1MOS電界効果トランジスタのゲート電極を絶縁するために使用され得、第1キャパシタは、直流を遮断し、交流を導くという役割を更に果たし得る。
(【0011】以降は省略されています)
この特許をJ-PlatPat(特許庁公式サイト)で参照する
関連特許
華為技術有限公司
条件付き画像圧縮
今日
華為技術有限公司
通信方法および装置
1か月前
華為技術有限公司
通信方法および装置
1か月前
華為技術有限公司
通信方法、機器、及びシステム
22日前
華為技術有限公司
遅延推定方法および遅延推定装置
7日前
華為技術有限公司
フィードバック指示方法及び装置
1か月前
華為技術有限公司
電力増幅回路、電力増幅器、及び送信器
1日前
華為技術有限公司
パケット拡張方法、デバイス、及び記憶媒体
1か月前
華為技術有限公司
エンコーダ、デコーダ、および、対応する方法
14日前
華為技術有限公司
センシング・セッション確立方法および通信装置
22日前
華為技術有限公司
マルチリンク通信プローブ要求の方法および装置
28日前
華為技術有限公司
マルチチャネル信号の符号化方法およびエンコーダ
22日前
華為技術有限公司
チャネル間位相差パラメータ符号化方法および装置
1か月前
華為技術有限公司
通信方法及び装置、及び、コンピュータ読み取り可能な記憶媒体
1か月前
華為技術有限公司
協調マルチアクセスポイントAP伝送のための方法および関連装置
5日前
華為技術有限公司
ビデオ符号器、ビデオ復号器、並びに対応する符号化及び復号化方法
1か月前
華為技術有限公司
協調ビームフォーミングのためのプロトコルおよびフレームフォーマット
1か月前
華為技術有限公司
チャネル状態情報に基づいてフィードバックを実行するための方法、デバイス、及び媒体
1か月前
華為技術有限公司
多重リンクに適用可能な個別アドレス指定トラフィックインジケーション方法および関連装置
1日前
華為技術有限公司
サブピクチャベースのビデオコーディングにおけるサブピクチャごとの1つのスライスの指示
28日前
華為技術有限公司
ハイブリッド自動再送要求確認HARQ-ACKコードブックを決定するための方法および装置
14日前
株式会社蜂鳥
増幅器
14日前
エイブリック株式会社
増幅器
2か月前
エイブリック株式会社
増幅器
2か月前
エイブリック株式会社
増幅回路
2か月前
日本電波工業株式会社
水晶振動子
1か月前
エイブリック株式会社
電圧検出器
3か月前
日本電波工業株式会社
圧電振動片
2か月前
日本電波工業株式会社
圧電デバイス
4か月前
株式会社大真空
圧電振動デバイス
1日前
ローム株式会社
オペアンプ
4か月前
ローム株式会社
オペアンプ
4か月前
株式会社トーキン
ノイズフィルタ
3か月前
ローム株式会社
オペアンプ
4か月前
富士電機株式会社
半導体装置
13日前
個人
誤り訂正装置及び誤り訂正方法
3か月前
続きを見る
他の特許を見る