TOP
|
特許
|
意匠
|
商標
特許ウォッチ
Twitter
他の特許を見る
10個以上の画像は省略されています。
公開番号
2025166023
公報種別
公開特許公報(A)
公開日
2025-11-05
出願番号
2025128532,2024518274
出願日
2025-07-31,2022-09-26
発明の名称
協調ビームフォーミングのためのプロトコルおよびフレームフォーマット
出願人
華為技術有限公司
,
HUAWEI TECHNOLOGIES CO.,LTD.
代理人
個人
,
個人
主分類
H04W
24/10 20090101AFI20251028BHJP(電気通信技術)
要約
【課題】本開示は、協調ビームフォーミングのための方法および装置を提供する。本開示の態様は方法を提供する。
【解決手段】本方法は、複数の連携するAPの第1のアクセスポイント(AP)によって、複数の連携するAPに関連付けられる1つまたは複数のステーション(STA)へ、1つまたは複数のSTAおよび第1のAPに関連付けられるチャネル状態情報(CSI)の要求を送信するステップを含む。本方法は、1つまたは複数のSTAおよび第1のAPに関連付けられるCSIを含む応答を受信するステップをさらに含む。本方法は、複数の連携するAPのうちの第2のAPに、第2のAPが1つまたは複数のSTAへ、1つまたは複数のSTAおよび第2のAPに関連付けられるCSIを要求することを示すサウンディング要求を送信するステップをさらに含む。本方法は、第1のAPと第2のAPとの間でCSI情報を共有するステップをさらに含む。
【選択図】図1
特許請求の範囲
【請求項1】
複数の連携するアクセスポイント(AP)の第1のAPによって、前記複数の連携するAPに関連付けられる1つまたは複数のステーション(STA)へ、前記1つまたは複数のSTAおよび前記第1のAPに関連付けられるチャネル状態情報(CSI)の要求を送信するステップと、
前記第1のAPによって、前記1つまたは複数のSTAから、前記1つまたは複数のSTAおよび前記第1のAPに関連付けられる前記CSIを備える応答を受信するステップと、
前記第1のAPによって、前記複数の連携するAPのうちの第2のAPへ、前記第2のAPが前記1つまたは複数のSTAから、前記1つまたは複数のSTAおよび前記第2のAPに関連付けられるCSIを要求することを示すサウンディング要求を送信するステップと、
前記第1のAPによって、前記第2のAPから、前記1つまたは複数のSTAおよび前記第2のAPに関連付けられる前記CSIを含む第1のAP-AP共有メッセージを受信するステップと、
前記第1のAPによって、前記1つまたは複数のSTAおよび前記第1のAPに関連付けられる前記CSIを含む第2のAP-AP共有メッセージを前記第2のAPへ送信するステップと
を備える、方法。
続きを表示(約 1,300 文字)
【請求項2】
前記第2のAP-AP共有メッセージは、前記第1のAPの識別子、フレームがAP-AP共有フレームであるという表示、前記第1のAPに関連付けられる1つまたは複数のSTA、前記1つまたは複数のSTAおよび前記第1のAPに関連付けられる前記CSI、前記第1のAPに関連付けられる前記1つまたは複数のSTAのSTA当たり1つまたは複数のストリーム、および前記第2のAPに関連付けられるプリコーダ情報のうちの1つまたは複数を示す1つまたは複数のフィールドを含む前記フレームを備える、請求項1に記載の方法。
【請求項3】
前記第1のAPによって複数のプリコーダを計算するステップをさらに備え、計算された各プリコーダは、
前記複数の連携するAPのそれぞれのAPに対応し、
前記1つまたは複数のSTAおよび前記それぞれのAPに関連付けられるCSI情報に基づく、請求項2に記載の方法。
【請求項4】
前記プリコーダ情報は、前記複数のプリコーダのうちの計算されたプリコーダを示す、請求項2または3に記載の方法。
【請求項5】
前記プリコーダ情報は、プリコーダ計算方法を示すプリコーダインデックスを示す、請求項2乃至4のいずれか一項に記載の方法。
【請求項6】
前記1つまたは複数のSTAおよび前記第1のAPに関連付けられる前記CSIは、前記フレームの選択されたユーザフィールドに示される、請求項2乃至5のいずれか一項に記載の方法。
【請求項7】
前記第1のAPの前記識別子は、前記フレームの媒体アクセス制御(MAC)ヘッダのトランスミッタアドレス(TA)フィールドに示される、請求項2乃至6のいずれか一項に記載の方法。
【請求項8】
第1のアクセスポイント(AP)によって、第2のAPから、前記第2のAPに関連付けられるチャネル状態情報(CSI)を含む第1の共有メッセージを受信するステップであって、前記第1のAPと前記第2のAPが連携する、ステップと、
前記第1のAPによって前記第2のAPへ、前記第1のAPの識別子、フレームがAP-AP共有フレームであるという表示、前記第1のAPに関連付けられる1つまたは複数のステーション(STA)、前記第1のAPに関連付けられるCSI、前記第1のAPに関連付けられる前記1つまたは複数のSTAのSTA当たり1つまたは複数のストリーム、および前記第2のAPに関連付けられるプリコーダ情報のうちの1つまたは複数を示す1つまたは複数のフィールドを含むフレームを備える第2の共有メッセージを送信するステップと
を備える、方法。
【請求項9】
前記第1のAPによって、前記第2のAPに関連付けられる前記CSIに基づいて、前記第2のAPに関連付けられるプリコーダを計算するステップをさらに備える、請求項8に記載の方法。
【請求項10】
前記第2のAPに関連付けられる前記プリコーダ情報は、前記第2のAPに関連付けられる前記計算されたプリコーダを示す、請求項9に記載の方法。
(【請求項11】以降は省略されています)
発明の詳細な説明
【技術分野】
【0001】
本発明は、通信ネットワークの分野に関し、特に、協調ビームフォーミング(CoBF)のための手順およびフレーム構造に関する。
続きを表示(約 2,500 文字)
【背景技術】
【0002】
相互参照
本出願は、2021年9月24日に出願された「Protocol and Frame Format for Coordinated Beamforming」と題する米国非仮特許出願第17/484,709号に対する優先権の利益を主張し、その内容全体を参照により本明細書に組み込む。
【0003】
CoBFは、802.11beリリース2(R2)のマルチアクセスポイント(M-AP)連携トピックの主要機能となる可能性がある。CoBFをIEEE 802.11に導入する際に、まだ解決されていない問題がいくつかある。第1の問題は、選択されたユーザ情報が、協調されるAP間でどのように共有され得るかを決定することである。既存のプロトコルでは、協調されるAP間で選択されたユーザ情報を共有するための適切な手順を提供しない。第2の問題は、CoBFに参加しているAPのプリコーダの計算に関連している。現在、プリコーダの計算はベンダ固有である。ベンダ固有のプリコーダ計算は、そのような計算から生じ得る干渉のため、CoBFには適切ではない。
【0004】
したがって、従来技術の1つまたは複数の制限を解消または軽減するCoBFのための手順およびフレーム構造が必要である。
【0005】
この背景情報は、本発明に関連する可能性があると出願人によって信じられている情報を明らかにするために提供される。前述の情報のいずれかが本発明に反する先行技術を構成するということを必ずしも認めることを意図するものではなく、また、そのように解釈されるべきではない。
【発明の概要】
【0006】
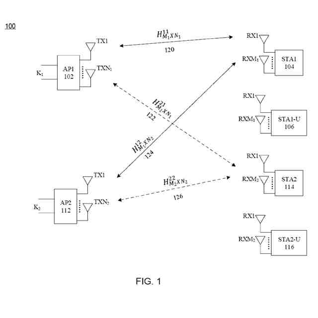
本開示は、協調ビームフォーミングに関連する方法および装置を提供する。本開示の第1の態様は方法を提供する。本方法は、複数の連携するAPの第1のアクセスポイント(AP)によって、複数の連携するAPに関連付けられる1つまたは複数のステーション(STA)へ、1つまたは複数のSTAおよび第1のAPに関連付けられるチャネル状態情報(CSI)の要求を送信するステップを含む。本方法は、第1のAPによって、1つまたは複数のSTAから、1つまたは複数のSTAおよび第1のAPに関連付けられるCSIを含む応答を受信するステップをさらに含む。本方法は、第1のAPによって、複数の連携するAPのうちの第2のAPへ、第2のAPが1つまたは複数のSTAから、1つまたは複数のSTAおよび第2のAPに関連付けられるCSIを要求することを示すサウンディング要求を送信するステップをさらに含む。本方法は、第1のAPによって、第2のAPから、1つまたは複数のSTAおよび第2のAPに関連付けられるCSIを含む第1のAP-AP共有メッセージを受信するステップをさらに含む。本方法は、第1のAPによって、1つまたは複数のSTAおよび第1のAPに関連付けられるCSIを含む第2のAP-AP共有メッセージを第2のAPへ送信するステップをさらに含む。本方法は、CoBFに参加しているAP間で情報を共有する媒体アクセス制御(MAC)プロトコルを提供し得る。
【0007】
第1の態様のいくつかの実施形態では、第2のAP-AP共有メッセージは、第1のAPの識別子、フレームがAP-AP共有フレームであるという表示、第1のAPに関連付けられる1つまたは複数のSTA、1つまたは複数のSTAおよび第1のAPに関連付けられるCSI、第1のAPに関連付けられる1つまたは複数のSTAのSTA当たり1つまたは複数のストリーム、および第2のAPに関連付けられるプリコーダ情報のうちの1つまたは複数を示す1つまたは複数のフィールドを含むフレームを含む。本方法は、CoBFに参加しているAP間で情報を共有するためのフレームフォーマットをさらに提供し得る。
【0008】
第1の態様のいくつかの実施形態では、本方法は、第1のAPによって複数のプリコーダを計算するステップをさらに含み、計算された各プリコーダは、複数の連携するAPのそれぞれのAPに対応し、1つまたは複数のSTAおよびそれぞれのAPに関連付けられるCSI情報に基づく。本方法は、CoBFに参加しているAPのプリコーダ情報を計算するステップをさらに提供し得る。
【0009】
第1の態様のいくつかの実施形態では、1つまたは複数のSTAおよび第1のAPに関連付けられるCSIの要求を送信するステップは、ヌルデータパケットアナウンスメント(NDPA)を1つまたは複数のSTAの各々へ送信するステップを含む。いくつかの実施形態では、1つまたは複数のSTAおよび第1のAPに関連付けられるCSIの要求を送信するステップは、NDPAを送信した後の最短フレーム間間隔(SIFS)タイムユニット後に、1つまたは複数のSTAの各々へヌルデータパケット(NDP)を送信するステップをさらに含む。いくつかの実施形態では、1つまたは複数のSTAおよび第1のAPに関連付けられるCSIの要求は、NDPを送信した後のSIFSタイムユニット後に、1つまたは複数のSTAの各々からビームフォーミングレポートフレームを送信するステップをさらに含む。
【0010】
第1の態様のいくつかの実施形態では、プリコーダ情報は、複数のプリコーダのうちの計算されたプリコーダを示す。いくつかの実施形態では、プリコーダ情報は、プリコーダの計算方法を示すプリコーダインデックスを示す。いくつかの実施形態では、1つまたは複数のSTAおよび第1のAPに関連付けられるCSIは、フレームの選択されたユーザフィールドに示される。いくつかの実施形態では、第1のAPの識別子は、フレームの媒体アクセス制御(MAC)ヘッダのトランスミッタアドレス(TA)フィールドに示される。本方法は、CoBFにとって必要となり得る連携するAP間での情報の共有をさらに提供し得る。
(【0011】以降は省略されています)
この特許をJ-PlatPat(特許庁公式サイト)で参照する
関連特許
華為技術有限公司
条件付き画像圧縮
今日
華為技術有限公司
通信方法および装置
1か月前
華為技術有限公司
通信方法および装置
1か月前
華為技術有限公司
サービス指示方法及び装置
2か月前
華為技術有限公司
通信方法、機器、及びシステム
22日前
華為技術有限公司
遅延推定方法および遅延推定装置
7日前
華為技術有限公司
フィードバック指示方法及び装置
1か月前
華為技術有限公司
通信方法及びマルチリンクデバイス
1か月前
華為技術有限公司
電力増幅回路、電力増幅器、及び送信器
1日前
華為技術有限公司
通信方法、通信装置、および通信システム
2か月前
華為技術有限公司
パケット拡張方法、デバイス、及び記憶媒体
1か月前
華為技術有限公司
エンコーダ、デコーダ、および、対応する方法
14日前
華為技術有限公司
マルチリンク通信プローブ要求の方法および装置
28日前
華為技術有限公司
センシング・セッション確立方法および通信装置
22日前
華為技術有限公司
マルチチャネル信号の符号化方法およびエンコーダ
22日前
華為技術有限公司
チャネル間位相差パラメータ符号化方法および装置
1か月前
華為技術有限公司
通信方法及び装置、及び、コンピュータ読み取り可能な記憶媒体
1か月前
華為技術有限公司
協調マルチアクセスポイントAP伝送のための方法および関連装置
5日前
華為技術有限公司
ビデオ符号器、ビデオ復号器、並びに対応する符号化及び復号化方法
1か月前
華為技術有限公司
物理アップリンク制御チャネル送信方法、受信方法、および通信装置
1か月前
華為技術有限公司
協調ビームフォーミングのためのプロトコルおよびフレームフォーマット
1か月前
華為技術有限公司
チャネル状態情報に基づいてフィードバックを実行するための方法、デバイス、及び媒体
1か月前
華為技術有限公司
サブピクチャベースのビデオコーディングにおけるサブピクチャごとの1つのスライスの指示
28日前
華為技術有限公司
多重リンクに適用可能な個別アドレス指定トラフィックインジケーション方法および関連装置
1日前
華為技術有限公司
ハイブリッド自動再送要求確認HARQ-ACKコードブックを決定するための方法および装置
14日前
個人
イヤーピース
1か月前
個人
イヤーマフ
1か月前
個人
監視カメラシステム
1か月前
個人
スイッチシステム
1か月前
キーコム株式会社
光伝送線路
1か月前
サクサ株式会社
中継装置
2か月前
個人
スキャン式車載用撮像装置
1か月前
サクサ株式会社
中継装置
2か月前
WHISMR合同会社
収音装置
3か月前
アイホン株式会社
電気機器
2か月前
キヤノン株式会社
撮像装置
5日前
続きを見る
他の特許を見る