TOP
|
特許
|
意匠
|
商標
特許ウォッチ
Twitter
他の特許を見る
公開番号
2025169274
公報種別
公開特許公報(A)
公開日
2025-11-12
出願番号
2025127646,2023527433
出願日
2025-07-30,2021-06-11
発明の名称
マルチリンク通信プローブ要求の方法および装置
出願人
華為技術有限公司
,
HUAWEI TECHNOLOGIES CO.,LTD.
代理人
個人
,
個人
主分類
H04W
76/15 20180101AFI20251105BHJP(電気通信技術)
要約
【課題】マルチリンク通信プローブ要求方法および装置を提供する。
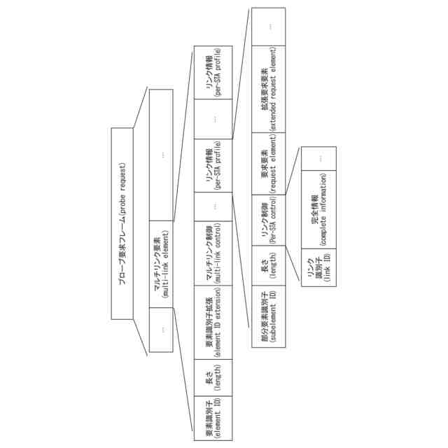
【解決手段】nonーAP(nonーaccess point)MLD(マルチリンクデバイス)は、プローブ要求フレームを生成し、AP MLDにプローブ要求フレームを送信し、AP MLDは、プローブ要求フレームを受信し、プローブ応答フレームを生成してnon-AP MLDに送信する。プローブ要求フレームは、AP MLDのリンク情報を要求するために使用され、第1のリンク情報フィールドを含む第1のMLEを含む。第1のリンク情報フィールドは、第1のフィールドを含む。第1のフィールドは、non-AP MLDがAP MLDに対し、第1のリンクの完全情報または部分情報をフィードバックするよう要求することを指示する。第1のリンク情報フィールドは、第1リンクに対応する。
【選択図】図5a
特許請求の範囲
【請求項1】
マルチリンク通信プローブ要求方法であって、
非アクセスポイントマルチリンクデバイスnon-AP MLDによって、プローブ要求フレームを生成するステップであって、前記プローブ要求フレームは、第1のマルチリンク要素を含み、前記第1のマルチリンク要素は、アクセスポイントマルチリンクデバイスAP MLDのリンク情報を要求するために使用され、前記第1のマルチリンク要素は、第1のリンク情報フィールドを含み、前記第1のリンク情報フィールドは、第1のフィールドを含み、前記第1のフィールドは、前記non-AP MLDが、第1のリンクの完全情報または部分情報をフィードバックすることを前記AP MLDに要求することを指示し、前記第1のリンク情報フィールドは、前記第1のリンクに対応する、ステップと、
前記non-AP MLDによって、前記プローブ要求フレームを前記AP MLDに送信するステップとを含む、方法。
続きを表示(約 1,400 文字)
【請求項2】
マルチリンク通信プローブ要求方法であって、
アクセスポイントマルチリンクデバイスAP MLDによって、プローブ要求フレームを受信するステップであって、前記プローブ要求フレームは、第1のマルチリンク要素を含み、前記第1のマルチリンク要素は、前記AP MLDのリンク情報を要求するために使用され、前記第1のマルチリンク要素は、第1のリンク情報フィールドを含み、前記第1のリンク情報フィールドは、第1のフィールドを含み、前記第1のフィールドは、非アクセスポイントマルチリンクデバイスnon-AP MLDが前記AP MLDに対し、第1のリンクの完全情報または部分情報をフィードバックするよう要求することを指示し、前記第1のリンク情報フィールドは、前記第1のリンクに対応する、ステップと、
前記AP MLDによって、前記プローブ要求フレームに基づきプローブ応答フレームを生成し、前記プローブ応答フレームを前記non-AP MLDに送信するステップとを含む、方法。
【請求項3】
前記第1のフィールドは、前記第1のリンク情報フィールド内の完全情報フィールドである、請求項1または2に記載の方法。
【請求項4】
前記第1のマルチリンク要素は、第1のマルチリンク制御フィールドをさらに含み、前記第1のマルチリンク制御フィールドは、第1のタイプ情報を含み、前記第1のタイプ情報は、前記第1のマルチリンク要素のタイプを指示する、請求項1から3のいずれか一項に記載の方法。
【請求項5】
前記第1のフィールドの値が第1の値であるとき、前記第1のフィールドは、前記non-AP MLDが、前記第1のリンクの前記完全情報をフィードバックすることを前記AP MLDに要求することを指示するか、または
前記第1のフィールドの値が第2の値であるとき、前記第1のフィールドは、前記non-AP MLDが前記AP MLDに対し、前記第1のリンクの前記部分情報をフィードバックするよう要求することを指示する、請求項1から4のいずれか一項に記載の方法。
【請求項6】
前記プローブ要求フレームは、第2のマルチリンク要素をさらに含み、前記第2のマルチリンク要素は、前記non-AP MLDのリンク情報を指示する、請求項1から5のいずれか一項に記載の方法。
【請求項7】
前記第2のマルチリンク要素は、第2のリンク情報フィールドを含み、前記第2のリンク情報フィールドは、第2のフィールドを含み、前記第2のフィールドは、前記non-AP MLDが前記第2のリンクの完全情報または部分情報を搬送することを指示し、前記第2のリンク情報フィールドは、前記第2のリンクに対応する、請求項6に記載の方法。
【請求項8】
前記第2のフィールドは、前記第2のリンク情報フィールド内の完全情報フィールドである、請求項7に記載の方法。
【請求項9】
前記第2のマルチリンク要素は、第2のマルチリンク制御フィールドをさらに含み、前記第2のマルチリンク制御フィールドは、第2のタイプ情報を含み、前記第2のタイプ情報は、前記第2のマルチリンク要素のタイプを指示する、請求項6から8のいずれか一項に記載の方法。
【請求項10】
前記第1のフィールドは、前記第1のリンク情報フィールド内の要求完全情報フィールドである、請求項1または2に記載の方法。
(【請求項11】以降は省略されています)
発明の詳細な説明
【技術分野】
【0001】
本出願は、全体が参照により本明細書に組み込まれている2020年11月5日に出願した中国特許出願第202011225134.5号、名称「MULTI-LINK COMMUNICATION PROBE REQUEST METHOD AND APPARATUS」、および2020年11月24日に出願した中国特許出願第202011333550.7号、名称「MULTI-LINK COMMUNICATION PROBE REQUEST METHOD AND APPARATUS」に基づく優先権を主張するものである。
続きを表示(約 2,100 文字)
【0002】
本出願は、通信技術の分野、特にマルチリンク通信プローブ要求方法および装置に関する。
【背景技術】
【0003】
ワイヤレス通信技術の発展に伴い、より多くのワイヤレス通信デバイスが、マルチリンク通信、たとえば2.4GHz帯、5GHz帯、6GHz帯での同時通信、または同一帯域内の異なるチャネル上の同時通信をサポートするようになってきている。この通信方法は、ワイヤレス通信デバイスの間の通信効率を改善することができる。加えて、ワイヤレス通信デバイスは、通常、マルチリンクデバイス(multi-link device、MLD)と称されている。
【0004】
マルチリンクデバイスは、アクセスポイントデバイス、またはステーションデバイスであってもよい。マルチリンクデバイスがアクセスポイントデバイスである場合、マルチリンクデバイスは1つまたは複数のアクセスポイント(access points、AP)を含む。マルチリンクデバイスがステーションデバイスである場合、マルチリンクデバイスは、1つまたは複数の非アクセスポイントステーション(non-access point station、non-AP STA)を含む。ステーションデバイスにおける1つまたは複数のnon-AP STAおよびアクセスポイントデバイス内の1つまたは複数のAPは、アソシエーション関係を確立した後に通信し得る。たとえば、APの存在を発見するために、STAはアクティブスキャンプロセス(active scanning process)を開始し得る。たとえば、STAはプローブ要求フレーム(probe request frame)を送信し得、APはプローブ要求フレームを受信した後にプローブ応答フレーム(probe response frame)で応答し得る。プローブ応答フレームは、APの関連情報を搬送するものとしてよく、それによりSTAはAPをプローブし、APの様々なパラメータ情報を取得する。
【0005】
しかしながら、前述の通信プロセスにおいて、STAによって必要とされる情報をAPが正確に知ることを可能にする方法は、緊急に解決される必要がある。
【発明の概要】
【課題を解決するための手段】
【0006】
本出願は、マルチリンク通信プローブ要求方法および装置を提供し、non-AP MLDによって必要とされる情報をnon-AP MLDが明確に指示することを可能にし、non-AP MLDによって必要とされる情報をAP MLDが正確にフィードバックすることを可能にする。これは、情報交換効率を改善する。
【0007】
第1の態様によれば、本出願の一実施形態は、マルチリンク通信プローブ要求方法を提供する。この方法は、以下を含む。
【0008】
非アクセスポイントマルチリンクデバイス(non-AP multi-link device、non-AP MLD)が、プローブ要求フレーム(probe request frame)を生成し、プローブ要求フレームは、第1のマルチリンク要素(multi-link element、MLE)を含み、第1のマルチリンク要素は、アクセスポイントマルチリンクデバイス(AP multi-link device、AP MLD)のリンク情報を要求するために使用され、第1のマルチリンク要素は、第1のリンク情報フィールドを含み、第1のリンク情報フィールドは、第1のフィールドを含み、第1のフィールドは、non-AP MLDがAP MLDに対し、第1のリンクの完全情報または部分情報をフィードバックするよう要求することを指示し、第1のリンク情報フィールドは、第1のリンクに対応し、non-AP MLDは、プローブ要求フレームをAP MLDに送信する。
【0009】
第2の態様によれば、本出願の一実施形態は、マルチリンク通信プローブ要求方法を提供する。この方法は、以下を含む。
【0010】
アクセスポイントマルチリンクデバイス(AP MLD)がプローブ要求フレームを受信し、プローブ要求フレームは、第1のマルチリンク要素を含み、第1のマルチリンク要素は、AP MLDのリンク情報を要求するために使用され、第1のマルチリンク要素は、第1のリンク情報フィールドを含み、第1のリンク情報フィールドは、第1のフィールドを含み、第1のフィールドは、非アクセスポイントマルチリンクデバイス(non-AP MLD)がAP MLDに対し、第1のリンクの完全情報または部分情報をフィードバックするよう要求することを指示し、第1のリンク情報フィールドは、第1のリンクに対応し、AP MLDは、プローブ要求フレームに基づきプローブ応答フレームを生成し、プローブ応答フレームをnon-AP MLDに送信する。
(【0011】以降は省略されています)
この特許をJ-PlatPat(特許庁公式サイト)で参照する
関連特許
華為技術有限公司
条件付き画像圧縮
今日
華為技術有限公司
通信方法および装置
1か月前
華為技術有限公司
通信方法および装置
1か月前
華為技術有限公司
通信方法および通信装置
2か月前
華為技術有限公司
サービス指示方法及び装置
2か月前
華為技術有限公司
通信方法、機器、及びシステム
22日前
華為技術有限公司
遅延推定方法および遅延推定装置
7日前
華為技術有限公司
フィードバック指示方法及び装置
1か月前
華為技術有限公司
通信方法及びマルチリンクデバイス
1か月前
華為技術有限公司
電力増幅回路、電力増幅器、及び送信器
1日前
華為技術有限公司
通信方法、通信装置、および通信システム
2か月前
華為技術有限公司
パケット拡張方法、デバイス、及び記憶媒体
1か月前
華為技術有限公司
エンコーダ、デコーダ、および、対応する方法
14日前
華為技術有限公司
センシング・セッション確立方法および通信装置
22日前
華為技術有限公司
マルチリンク通信プローブ要求の方法および装置
28日前
華為技術有限公司
チャネル間位相差パラメータ符号化方法および装置
1か月前
華為技術有限公司
マルチチャネル信号の符号化方法およびエンコーダ
22日前
華為技術有限公司
通信方法及び装置、及び、コンピュータ読み取り可能な記憶媒体
1か月前
華為技術有限公司
協調マルチアクセスポイントAP伝送のための方法および関連装置
5日前
華為技術有限公司
物理アップリンク制御チャネル送信方法、受信方法、および通信装置
1か月前
華為技術有限公司
ビデオ符号器、ビデオ復号器、並びに対応する符号化及び復号化方法
1か月前
華為技術有限公司
協調ビームフォーミングのためのプロトコルおよびフレームフォーマット
1か月前
華為技術有限公司
チャネル状態情報に基づいてフィードバックを実行するための方法、デバイス、及び媒体
1か月前
華為技術有限公司
多重リンクに適用可能な個別アドレス指定トラフィックインジケーション方法および関連装置
1日前
華為技術有限公司
サブピクチャベースのビデオコーディングにおけるサブピクチャごとの1つのスライスの指示
28日前
華為技術有限公司
ハイブリッド自動再送要求確認HARQ-ACKコードブックを決定するための方法および装置
14日前
個人
イヤーピース
1か月前
個人
イヤーマフ
1か月前
個人
監視カメラシステム
1か月前
個人
スイッチシステム
1か月前
キーコム株式会社
光伝送線路
1か月前
サクサ株式会社
中継装置
2か月前
WHISMR合同会社
収音装置
3か月前
個人
スキャン式車載用撮像装置
1か月前
サクサ株式会社
中継装置
2か月前
キヤノン株式会社
撮像装置
5日前
続きを見る
他の特許を見る